N7202A047B.pdf - 第191页
Ref No. Remark s R 1 Q'ty 12-C 基板ホルダデ ュアル対応: NPM-W2 Board Holder For D ual:NPM -W 2 イラストNo. Part No. 品 名 品 番 数量 R 2 パーツリスト Kit No. キット品番 Kit Nam e キット名称 N610164025A A Part Nam e 備 考 セクションN o. PARTS LIST Section No. …

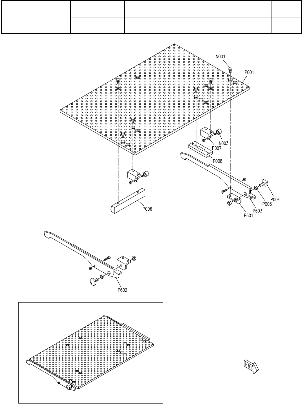
12-C
基板ホルダデュアル対応:NPM-W2
Board Holder For Dual:NPM-W2
パーツレイアウト
Kit No.
キット品番
Kit Name
キット名称
N610164025AA
セクションNo.
PARTS LAYOUT
Section No.
-
-
O63
( FN610164025AA-15-3 )
LAYOUT

Ref No. Remarks R
1
Q'ty
12-C
基板ホルダデュアル対応:NPM-W2
Board Holder For Dual:NPM-W2
イラストNo.
Part No.
品 名品 番 数量
R
2
パーツリスト
Kit No.
キット品番
Kit Name
キット名称
N610164025AA
Part Name
備 考
セクションNo.
PARTS LIST
Section No.
R
3
BRACKET
4
P603 MTPB000908AB
BRACKET
4
P605 N210097322AA
COVER
4
P606 N210152386AB
BRACKET
4
P608 N210134081AA
BRACKET
4
P609 N210159012AA
JOINT
4
N001 N510066749AA KQ2E06-00NJ
VALVE
4
N007 KXF0BV4AA00 SYJ514R-5LOZ-01
JOINT
4
N008 N510066461AA KQ2L06-M5A
SPEED-CONTROLLER
4
N010 KXF09WUAA00 ASD330F-01-06S
VALVE
4
N011 MTNP003745AA 4GA130R-M5-A2NSF-FL641830-3-ST(PFOA FREE)
SPEED-CONTROLLER
8
N012 KXF00YVAA00 AS1211F-M5-06
SILENCER
8
N013 KXF0BB2AA00 SLM-M5
JOINT
4
N014 N431GWL6M5 GWL6-M5
JOINT
4
N018 N510066456AA KQ2U06-00A
JOINT
4
N019 N510066452AA KQ2U06-99A
O64
-
-
( FN610164025AA-15-3 )

13
基板下受けブロックデュアル(デュアル対応):NPM-W
Board Support Block Dual(fot Dual):NPM-W
パーツレイアウト
Kit No.
キット品番
Kit Name
キット名称
N610134595AB
セクションNo.
PARTS LAYOUT
Section No.
-
-
O65
( FN610134595AB-05 )
LAYOUT