N7202A047B.pdf - 第201页
Ref No. Remark s R 1 Q'ty 17 基板下受けブロック デュアル (シング ル対応):NP M-W Board Support Blo ck Dual(for Single):NPM -W イラストNo. Part No. 品 名 品 番 数量 R 2 パーツリスト Kit No. キット品番 Kit Nam e キット名称 N610134594A B Part Nam e 備 考 セクションN o. P…

17
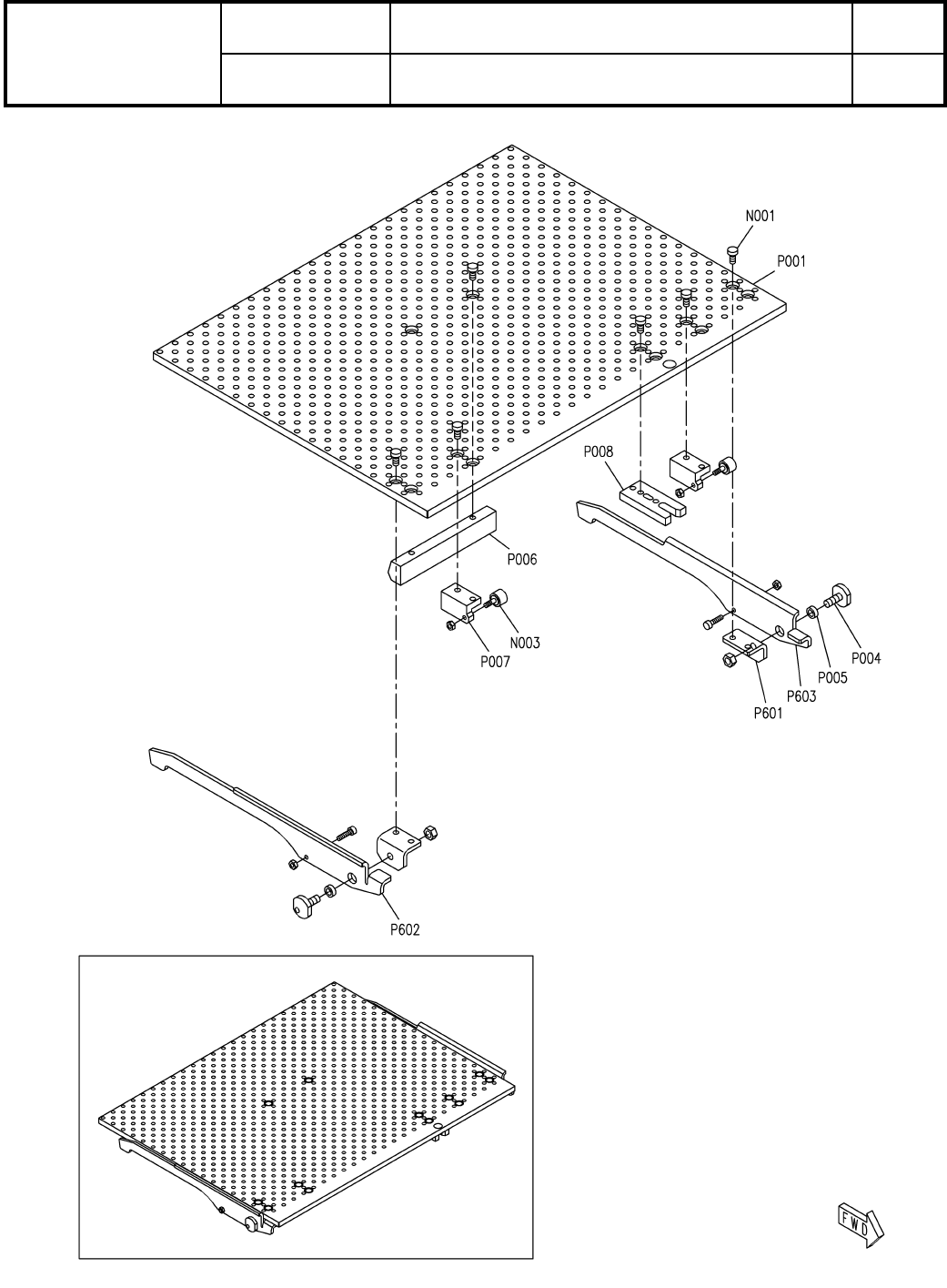
基板下受けブロックデュアル(シングル対応):NPM-W
Board Support Block Dual(for Single):NPM-W
パーツレイアウト
Kit No.
キット品番
Kit Name
キット名称
N610134594AB
セクションNo.
PARTS LAYOUT
Section No.
-
-
O73
( FN610134594AB-04 )
LAYOUT

Ref No. Remarks R
1
Q'ty
17
基板下受けブロックデュアル(シングル対応):NPM-W
Board Support Block Dual(for Single):NPM-W
イラストNo.
Part No.
品 名品 番 数量
R
2
パーツリスト
Kit No.
キット品番
Kit Name
キット名称
N610134594AB
Part Name
備 考
セクションNo.
PARTS LIST
Section No.
R
3
PLATE
1
P001 N210166824AA
PIN
2
P004 N210161075AA
COLLAR
2
P005 N210156596AB
BRACKET
1
P006 N210169130AA
BRACKET
2
P007 N210161077AB
BLOCK
1
P008 N210166704AA
BRACKET
2
P601 N210156599AB
LEVER
1
P602 N210161078AC
LEVER
1
P603 N210161079AC
BOLT
12
N001 N510067773AA Low Head Cap Screw M4X8-8.8 A2J(Trivalent)
CAM-FOLLOWER
2
N003 KXF00BFAA00 CF3UU-A
O74
-
-
( FN610134594AB-04 )

18-A
延長コンベア(デュアル):NPM-W2
Extension Conveyor(Dual):NPM-W2
パーツレイアウト
Kit No.
キット品番
Kit Name
キット名称
MTKA001470AA
セクションNo.
PARTS LAYOUT
Section No.
-
-
O75
( FMTKA001470AA-08-1 )
LAYOUT