N7202A047B.pdf - 第204页
18-B 延長コ ンベア(デ ュアル):NP M- W2 Ex tension Conv eyor(Dual):N PM -W 2 パーツレイアウト Kit No. キット品番 Kit Name キット名称 MTKA001470 AA セクシ ョンNo. PARTS LAYO UT Section No. - - O77 ( FMTKA001470 AA-08-2 ) LAYOUT

Ref No. Remarks R
1
Q'ty
18-A
延長コンベア(デュアル):NPM-W2
Extension Conveyor(Dual):NPM-W2
イラストNo.
Part No.
品 名品 番 数量
R
2
パーツリスト
Kit No.
キット品番
Kit Name
キット名称
MTKA001470AA
Part Name
備 考
セクションNo.
PARTS LIST
Section No.
R
3
FRAME
2
P001 MTPA002247AA
FRAME
2
P002 MTPA002248AA
GUIDE
4
P003 MTPA002249AA
PLATE
1
P004 MTPA002250AA
PLATE
4
P006 MTPA002251AB
PLATE
1
P007 MTPA002252AA
PLATE
1
P008 MTPA002729AA
PLATE
1
P009 MTPA002796AA
BRACKET
2
P601 N210162350AA
BRACKET
2
P602 N210143083AA
PULLEY
16
A004 N610127907AA
SENSOR(E3S-LS3N:900mm)
2
A501 N610102197AA
NUT
4
N002 MTNK007605AA 100405
BELT
2
N003 MTNK002592AA
A
TA-4UEB M/D2 4.5WX0.65TX1602L
BELT
2
N014 MTNK002597AA
A
TA-4UEB M/D2 4.5WX0.65TX1394L
O76
-
-
( FMTKA001470AA-08-1 )

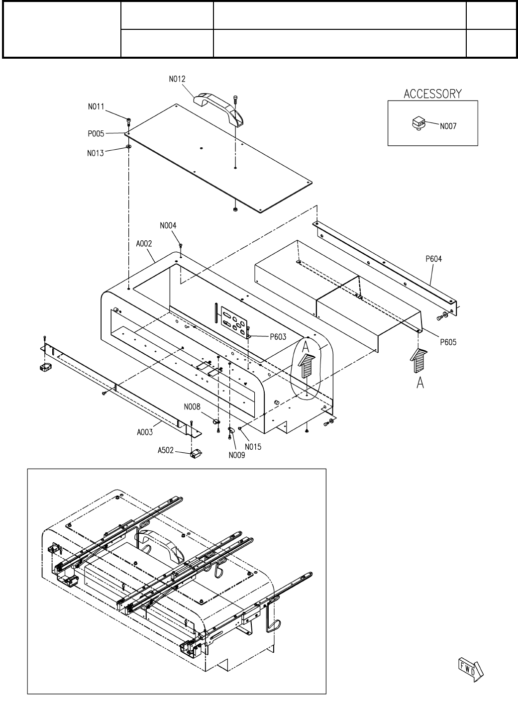
18-B
延長コンベア(デュアル):NPM-W2
Extension Conveyor(Dual):NPM-W2
パーツレイアウト
Kit No.
キット品番
Kit Name
キット名称
MTKA001470AA
セクションNo.
PARTS LAYOUT
Section No.
-
-
O77
( FMTKA001470AA-08-2 )
LAYOUT

Ref No. Remarks R
1
Q'ty
18-B
延長コンベア(デュアル):NPM-W2
Extension Conveyor(Dual):NPM-W2
イラストNo.
Part No.
品 名品 番 数量
R
2
パーツリスト
Kit No.
キット品番
Kit Name
キット名称
MTKA001470AA
Part Name
備 考
セクションNo.
PARTS LIST
Section No.
R
3
COVER
1
P005 N210144729AB
BRACKET
1
P603 MTPB001446AB
GRACKET
1
P604 MTPB001219AB
COVER
2
P605 MTPB005737AB
COVER
1
A002 MTKP003132AA
BRACKET
1
A003 MTKP000691AA
SENSOR
1
A502 N510042549AA
S
SCREW
6
N004 N510018257AA
Cross recessed Truss head machine screw M4X10-4.8 A2J (Trivalent)
CABLE-SUPPORT
20
N007 N510048517AA FT4
CLIP
1
N008 KXF0E3QJA00 NK-6N
CLIP
1
N009 KXF07SQAA00 NK-5N
BOLT
6
N011 N510028751AA SSC-M4X12
PULL
1
N012 KXF0DX62A00 AP-829-2
WASHER
6
N013 N510013724AA TM-147-2V
SCREW
8
N015 N510018279AA
Cross recessed Truss head machine screw M4X6-4.8 A2J (Trivalent)
O78
-
-
( FMTKA001470AA-08-2 )