N7202A047B.pdf - 第208页
20 付属品( 延長コンベア( シングル デュ アル) ):NPM-W 2 Attachme nt(Extension C onveyor( Single Dual)): NPM -W 2 パーツレイアウト Kit No. キット品番 Kit Name キット名称 MTKA001468 AA セクシ ョンNo. PARTS LAYO UT Section No. - - O81 ( KMTKA001468 AA-01_A ) LAYOU…

Ref No. Remarks R
1
Q'ty
19
銘板・警告ラベル(延長コンベア(デュアル)):NPM-W2
Label(Extension Conveyor (Dual)):NPM-W2
イラストNo.
Part No.
品 名品 番 数量
R
2
パーツリスト
Kit No.
キット品番
Kit Name
キット名称
MTKA001471AA
Part Name
備 考
セクションNo.
PARTS LIST
Section No.
R
3
LABEL
3
1 N510048876AA
S
PC014101
O80
-
-
( KMTKA001471AA-03 )

20
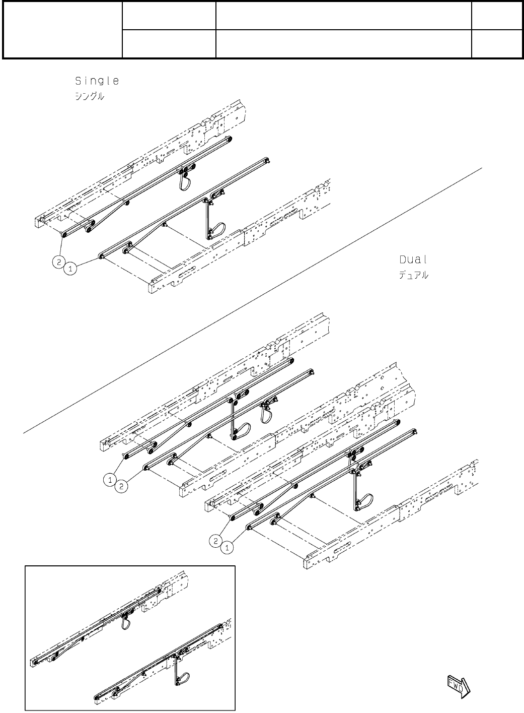
付属品(延長コンベア(シングル デュアル)):NPM-W2
Attachment(Extension Conveyor(Single Dual)):NPM-W2
パーツレイアウト
Kit No.
キット品番
Kit Name
キット名称
MTKA001468AA
セクションNo.
PARTS LAYOUT
Section No.
-
-
O81
( KMTKA001468AA-01_A )
LAYOUT

Ref No. Remarks R
1
Q'ty
20
付属品(延長コンベア(シングル デュアル)):NPM-W2
Attachment(Extension Conveyor(Single Dual)):NPM-W2
イラストNo.
Part No.
品 名品 番 数量
R
2
パーツリスト
Kit No.
キット品番
Kit Name
キット名称
MTKA001468AA
Part Name
備 考
セクションNo.
PARTS LIST
Section No.
R
3
BELT
1
1 MTNK002592AA
A
TA-4UEB M/D2 4.5WX0.65TX1602L
BELT
1
2 MTNK002597AA
A
TA-4UEB M/D2 4.5WX0.65TX1394L
O82
-
-
( KMTKA001468AA-01_A )