N7202A047B.pdf - 第218页
25 基板下受けブロッ ク(自動 交換用)_シング ルコンベア: NPM-W Board Su pport Block(Automati c C hange)_Single Conv eyor:N パーツレイアウト Kit No. キット品番 Kit Name キット名称 N610145049A B セクシ ョンNo. PARTS LAYO UT Section No. - - O91 ( KN610145049 AB-00 ) LAY…

Ref No. Remarks R
1
Q'ty
24
下受けピン用ノズルチェンジャー:NPM
Support Pin Nozzle Changer:NPM
イラストNo.
Part No.
品 名品 番 数量
R
2
パーツリスト
Kit No.
キット品番
Kit Name
キット名称
N610142677AB
Part Name
備 考
セクションNo.
PARTS LIST
Section No.
R
3
HOLDER
2
1 N210166791AF
BLOCK
2
2 MTPA014500AA
BLOCK
2
3 MTPA014620AA
PLATE
2
4 N210166793AB
PLATE
2
5 N210166794AC
COVER
2
6 MTPB007952AA
BOLT
8
7 N510056643AA SPECIAL LOW HEAD CAP M3X6L(SCM435.Fe3O4)
O90
-
-
( KN610142677AB-06 )

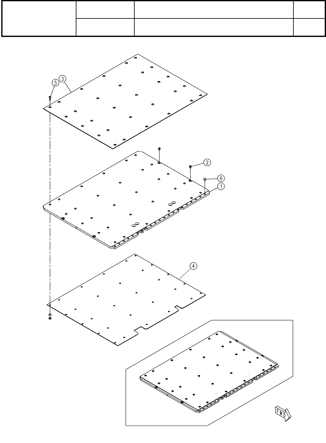
25
基板下受けブロック(自動交換用)_シングルコンベア:NPM-W
Board Support Block(Automatic Change)_Single Conveyor:N
パーツレイアウト
Kit No.
キット品番
Kit Name
キット名称
N610145049AB
セクションNo.
PARTS LAYOUT
Section No.
-
-
O91
( KN610145049AB-00 )
LAYOUT

Ref No. Remarks R
1
Q'ty
25
基板下受けブロック(自動交換用)_シングルコンベア:NPM-W
Board Support Block(Automatic Change)_Single Conveyor:N
イラストNo.
Part No.
品 名品 番 数量
R
2
パーツリスト
Kit No.
キット品番
Kit Name
キット名称
N610145049AB
Part Name
備 考
セクションNo.
PARTS LIST
Section No.
R
3
PLATE
1
1 N210170512AB
PIN
4
2 N210173578AA
PLATE
1
3 N610152322AA
PLATE
1
4 N210172930AC
BOLT
30
5 N510017610AA
Hexagon socket Flat head bolt M3X10-10.9 A2J (Trivalent)
BOLT
21
6 XVE3B4VW Hexagon socket head cap screw M3X4-A2-70
O92
-
-
( KN610145049AB-00 )