N7202A047B.pdf - 第223页
Ref No. Remark s R 1 Q'ty 27 基板下受けブロック (自動交換) _デュアルコンベ ア(F ront 側):NP M- Board Support Blo ck(Automatic Change)_ Dual Conv eyor(F):N イラストNo. Part No. 品 名 品 番 数量 R 2 パーツリスト Kit No. キット品番 Kit Nam e キット名称 N610145010A B…

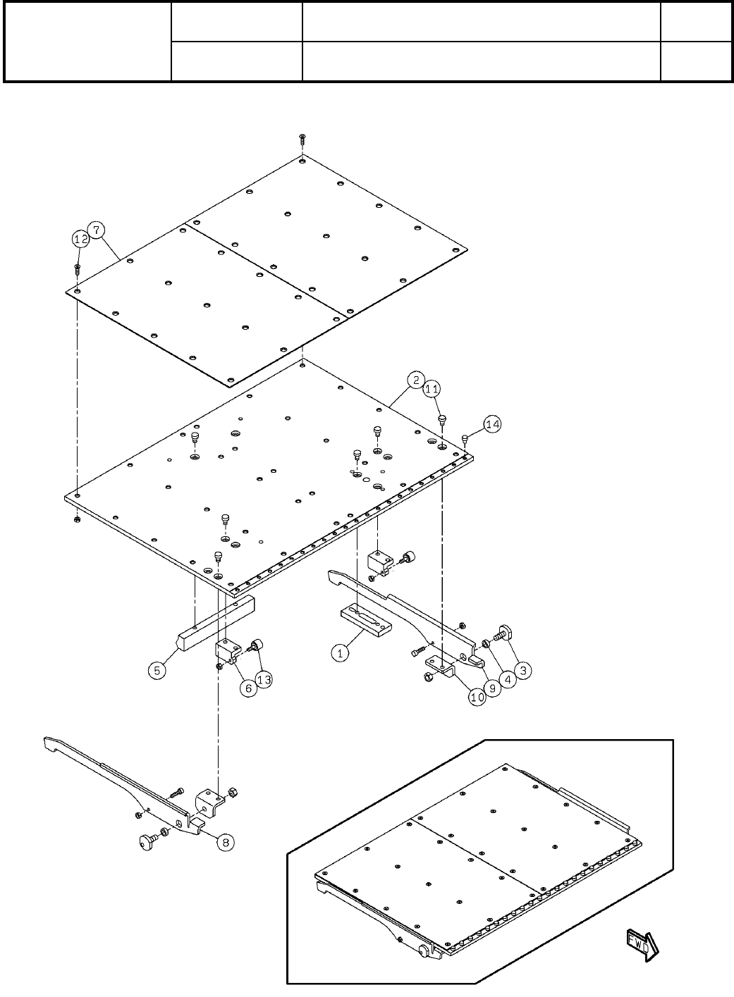
27
基板下受けブロック(自動交換)_デュアルコンベア(Front側):NPM-
Board Support Block(Automatic Change)_Dual Conveyor(F):N
パーツレイアウト
Kit No.
キット品番
Kit Name
キット名称
N610145010AB
セクションNo.
PARTS LAYOUT
Section No.
-
-
O95
( KN610145010AB-00 )
LAYOUT

Ref No. Remarks R
1
Q'ty
27
基板下受けブロック(自動交換)_デュアルコンベア(Front側):NPM-
Board Support Block(Automatic Change)_Dual Conveyor(F):N
イラストNo.
Part No.
品 名品 番 数量
R
2
パーツリスト
Kit No.
キット品番
Kit Name
キット名称
N610145010AB
Part Name
備 考
セクションNo.
PARTS LIST
Section No.
R
3
BLOCK
2
1 N210165840AA
PLATE
2
2 N210170101AB
PIN
4
3 N210161075AA
COLLAR
4
4 N210156596AA
BRACKET
2
5 N210170229AB
BRACKET
4
6 N210161077AA
PLATE
4
7 N610152323AA
LEVER
2
8 N210161078AB
LEVER
2
9 N210161079AB
BRACKET
4
10 N210156599AA
BOLT
24
11 N510035101AA LH0406 Trivalent Chromate
BOLT
60
12 N510017610AA
Hexagon socket Flat head bolt M3X10-10.9 A2J (Trivalent)
CAM-FOLLOWER
4
13 KXF00BFAA00 CF3UU-A
BOLT
44
14 XVE3B4VW Hexagon socket head cap screw M3X4-A2-70
O96
-
-
( KN610145010AB-00 )

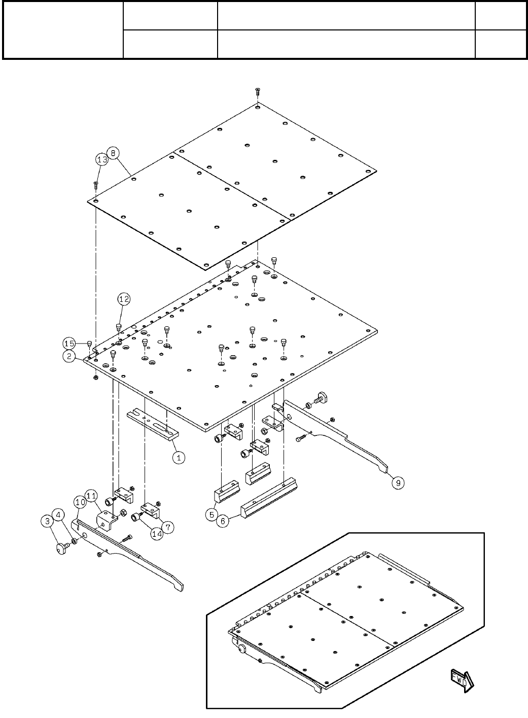
28
基板下受けブロック(自動交換)_デュアルコンベア(Rear側):NPM-W
Board Support Block(Automatic Change)_Dual Conveyor(R):
パーツレイアウト
Kit No.
キット品番
Kit Name
キット名称
N610145011AB
セクションNo.
PARTS LAYOUT
Section No.
-
-
O97
( KN610145011AB-00 )
LAYOUT