N7202A047B.pdf - 第253页
Ref No. Remark s R 1 Q'ty 36-E 交換台車(3 0連):NPM -W Feeder Car t(30-Slot):NPM -W イラストNo. Part No. 品 名 品 番 数量 R 2 パーツリスト Kit No. キット品番 Kit Nam e キット名称 N610119860A A Part Nam e 備 考 セクションN o. PARTS LIST Section No. R 3 HO…

36-E
交換台車(30連):NPM-W
Feeder Cart(30-Slot):NPM-W
パーツレイアウト
Kit No.
キット品番
Kit Name
キット名称
N610119860AA
セクションNo.
PARTS LAYOUT
Section No.
-
-
O125
( FN610119860AA-46-5 )
LAYOUT

Ref No. Remarks R
1
Q'ty
36-E
交換台車(30連):NPM-W
Feeder Cart(30-Slot):NPM-W
イラストNo.
Part No.
品 名品 番 数量
R
2
パーツリスト
Kit No.
キット品番
Kit Name
キット名称
N610119860AA
Part Name
備 考
セクションNo.
PARTS LIST
Section No.
R
3
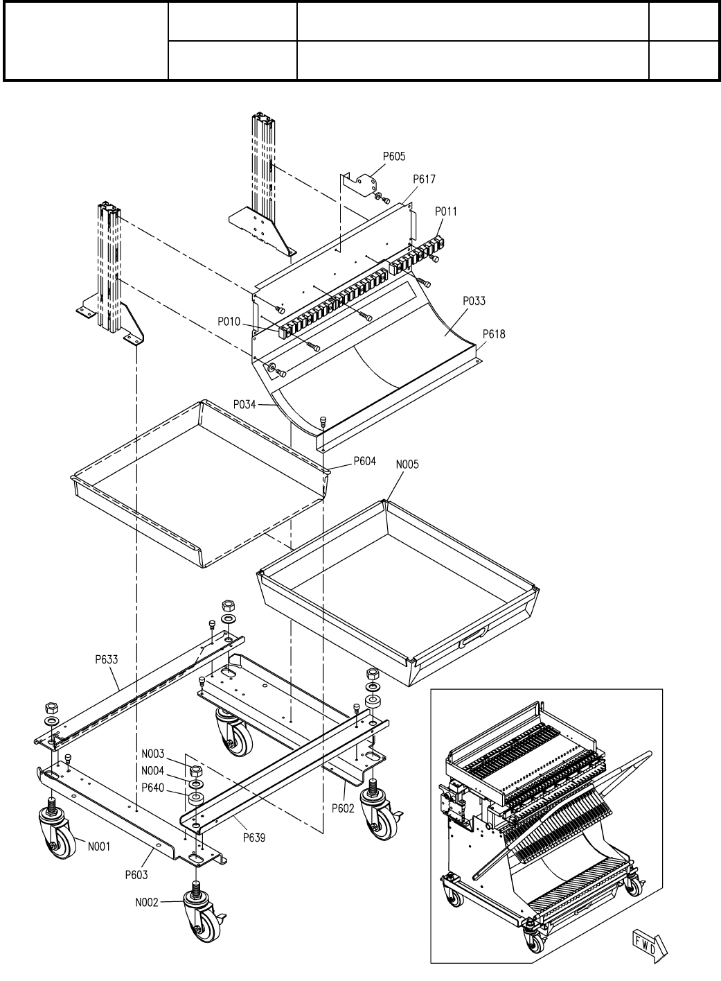
HOLDER
2
P010 KXFB02ERA00
HOLDER
1
P011 N210143818AA
SHEET
2
P033 MTPZ000612AA
SHEET
1
P034 MTPZ000614AA
BRACKET
1
P602 N210193424AB
BRACKET
1
P603 N210193425AB
GUIDE
1
P604 N210143810AB
BRACKET
1
P605 N210143845AB
BRACKET
1
P617 N210143854AD
COVER
1
P618 N210143855AC
BRACKET
1
P633 N210147066AG
BRACKET
1
P639 MTPB035732AA
BLOCK
2
P640 MTPA054933AA
CASTER
2
N001 MTNK006666AA DS2040 S.B20 NY
CASTER
2
N002 MTNK006667AA DS2040 S.BK.B20 NY
NUT
4
N003 N510017911AA
Hexagon nut Type-1 Best class M20-6H-4T A2J (Trivalent)
WASHER
4
N004 N510018510AA
Round finish plain washer 20 10H A2J (Trivalent)
BOX
1
N005 N210143751AB
O126
-
-
( FN610119860AA-46-5 )

37-A
カッテイングユニット:NPM-W
Cutting Unit:NPM-W
パーツレイアウト
Kit No.
キット品番
Kit Name
キット名称
N610119862AA
セクションNo.
PARTS LAYOUT
Section No.
-
-
O127
( FN610119862AA-20-1 )
LAYOUT