N7202A047B.pdf - 第257页
Ref No. Remark s R 1 Q'ty 37-B カッテイング ユニット:N PM-W Cutting Unit:NPM -W イラストNo. Part No. 品 名 品 番 数量 R 2 パーツリスト Kit No. キット品番 Kit Nam e キット名称 N610119862A A Part Nam e 備 考 セクションN o. PARTS LIST Section No. R 3 GUIDE 1 P0…

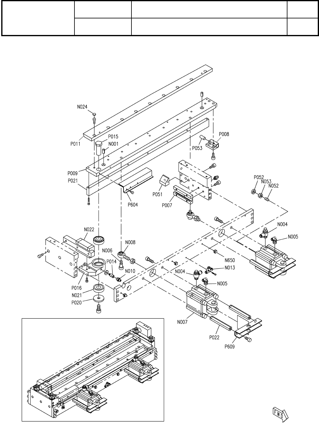
37-B
カッテイングユニット:NPM-W
Cutting Unit:NPM-W
パーツレイアウト
Kit No.
キット品番
Kit Name
キット名称
N610119862AA
セクションNo.
PARTS LAYOUT
Section No.
-
-
O129
( FN610119862AA-20-2 )
LAYOUT

Ref No. Remarks R
1
Q'ty
37-B
カッテイングユニット:NPM-W
Cutting Unit:NPM-W
イラストNo.
Part No.
品 名品 番 数量
R
2
パーツリスト
Kit No.
キット品番
Kit Name
キット名称
N610119862AA
Part Name
備 考
セクションNo.
PARTS LIST
Section No.
R
3
GUIDE
1
P007 MTPA016961AA
PLATE
1
P008 MTPA016962AA
HOLDER
1
P009 N210143899AC
BLADE
1
P011 N210143901AC
POST
1
P014 N210143907AA
PIN
1
P015 KXFB02G7A00
HOUSING
1
P016 N210036462AA
WASHER
1
P020 N210118285AA
PLATE
1
P021 MTPA016951AA
POST
4
P022 MTPA020338AA
BLOCK
1
P051 MTPA018246AA
WASHER
1
P052 MTPA017055AA
STOPPER
1
P053 MTPA013878AA
BRACKET
1
P604 N210184552AB
BRACKET
2
P609 N210147181AB
PIN
2
N001 KXF0A4DAA00 SPP8-16
SPEED-CONTROLLER
2
N004 N510059136AA AS2201F-02-06S-13-X252
JOINT
2
N005 N510066458AA KQ2L06-02AS
BOLT
2
N006 N510032427AA MMSB10-15
CYLINDER
2
N007 N510056837AA CQ2D63-40DCZ
ROD-END
2
N008 MTNB001764AA SA10T/KD
GREASE-NIPPLE
2
N010 N510065914AA BS-M6
JOINT
1
N013 N510066463AA KQ2T06-00A
BEARING
2
N021 KXF0A6GAA00 4T-30203
LINEAR-WAY
1
N022 N510065749AA MSA20S1SSF0A+T148-14/14N
LINEAR-WAY
0
MTNB001712AA HSR20YR1SSC1E+148LK(A)(H0288182G000)
CAP
9
N024 MTNK010525AA CV6
SCREW
1
N052 XXF10C20FT
Hexagon socket set screw Flat point M10X20-45H SOB
NUT
1
N053 N510017889AA
Hexagon nut Type-3 Best class M10-6H-4T A2J (Trivalent)
CABLE-SUPPORT
3
N650 N510048517AA FT4
O130
-
-
( FN610119862AA-20-2 )

38
銘板・警告ラベル(交換台車(30連)):NPM-W
Label(Feeder Cart(30-Slot)):NPM-W
パーツレイアウト
Kit No.
キット品番
Kit Name
キット名称
N610119864AA
セクションNo.
PARTS LAYOUT
Section No.
-
-
O131
( FN610119864AA-10 )
LAYOUT