N7202A047B.pdf - 第310页
56-A トレイフ ィーダ リフト部:N PM Tr ay Feeder Lift Section:NPM パーツレイアウト Kit No. キット品番 Kit Name キット名称 N610069932A A セクシ ョンNo. PARTS LAYO UT Section No. - - O183 ( FN610069932 AA-26-1 ) LAYOUT

Ref No. Remarks R
1
Q'ty
55-F
トレイフィーダ本体部:NPM
Tray Feeder Main Body :NPM
イラストNo.
Part No.
品 名品 番 数量
R
2
パーツリスト
Kit No.
キット品番
Kit Name
キット名称
N610074920AA
Part Name
備 考
セクションNo.
PARTS LIST
Section No.
R
3
COLLAR
10
1 KXFB014DA00
SHAFT
2
2 N210041096AB
PLATE
4
3 N210175499AA
STOPPER
4
4 KXFB014RA00
PLATE
1
5 KXFB07F0A00
COLLAR
4
6 KXFB015BA00
BRACKET
2
7 MTPB038473AB
PLATE
1
8 KXFB07F3A00
BRACKET
4
9 MTPB021194AA
BRACKET
4
10 MTPB021527AA
LINK
1
11 KXFB07F5A00
LINK
1
12 KXFB07F6A00
SPACER
4
13 N510017095AA CB-403E
SPRING
4
14 MTPA046414AA 6657
BEARING
0
15 KXF0A1CAA00 F604ZZ
BEARING
8
MTNB001413AA FL604ZZCNM/5K
SLIT
2
16 N510064040AA OS-CX-1X6
WASHER
1
17 N210160217AA
JOINT
1
18 N510051100AA Y-P016A
SPACER
4
19 N510030566AA CB-412E
NUT
9
21 N510017865AA Hexagon nut M5 Type-3
COLLAR
4
22 N210160097AA
SENSOR
1
23 MTKP019537AA CX-412
CYLINDER
1
24 N610076227AC
CYLINDER
1
25 N610076228AC
CYLINDER
1
26 N610082929AC
BOLT
2
27 N510017518AA
SSS 0003 Hexagon socket button head screw M4X14-10.9 A2J (Trivalent)
O182
-
-
( KN610074920AA-56-6 )

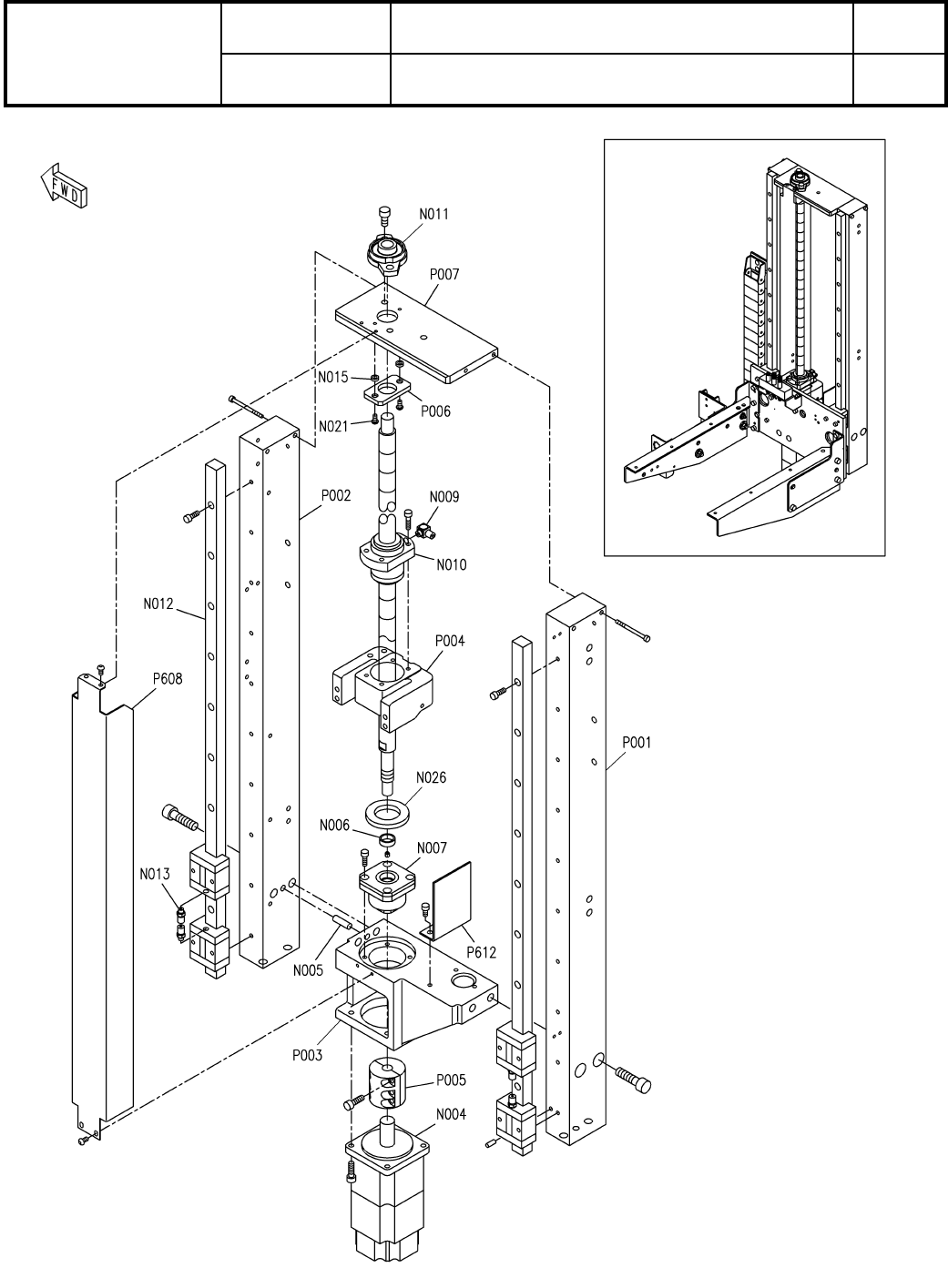
56-A
トレイフィーダリフト部:NPM
Tray Feeder Lift Section:NPM
パーツレイアウト
Kit No.
キット品番
Kit Name
キット名称
N610069932AA
セクションNo.
PARTS LAYOUT
Section No.
-
-
O183
( FN610069932AA-26-1 )
LAYOUT

Ref No. Remarks R
1
Q'ty
56-A
トレイフィーダリフト部:NPM
Tray Feeder Lift Section:NPM
イラストNo.
Part No.
品 名品 番 数量
R
2
パーツリスト
Kit No.
キット品番
Kit Name
キット名称
N610069932AA
Part Name
備 考
セクションNo.
PARTS LIST
Section No.
R
3
FRAME
1
P001 N210101828AE
FRAME
1
P002 N210086421AD
BRACKET
1
P003 N210063354AA
BRACKET
1
P004 N210170086AA
COUPLING
1
P005 KXFB017QA00
STOPPER
1
P006 N210096604AA
CONNECT-BLOCK
1
P007 N210096607AA
COVER
1
P608 N210040290AB
COVER
1
P612 N210063355AA
MOTOR
1
N004 N510022126AA
S
HF-MP23B-S25
PIN
1
N005 N510020618AA MMS6-15
SPACER
1
N006 KXF0DX0BA00 B86012061-301
SUPPORT-UNIT
1
N007 KXF043EAA00 WBK12-11
DAMPER
1
N026 N510063456AA D25A9
JOINT
1
N009 KXF0CX0AA00 IN-233-797(Delivery drawing available)
BALL-SCREW
1
N010 N510068298AA BLK1616E-3.6ZZGS+589LC8T(33020747K000)
BEARING-UNIT
1
N011 KXF0A00AA00 KFL001
LINEAR-WAY
2
N012 N510040427AA
JOINT
4
N013 MTNP000832AB M-5H-4
SPACER
2
N015 N510019911AA CB-302E
BOLT
6
N021 N510000323AA
Hexagon socket button head screw M3X6 Steel Black oxide finish 12.9
O184
-
-
( FN610069932AA-26-1 )