N7202A047B.pdf - 第313页
Ref No. Remark s R 1 Q'ty 56-B トレイフ ィーダリフ ト部:NPM Tray Feeder Lift Section:NP M イラストNo. Part No. 品 名 品 番 数量 R 2 パーツリスト Kit No. キット品番 Kit Nam e キット名称 N610069932A A Part Nam e 備 考 セクションN o. PARTS LIST Section No. R 3 B…

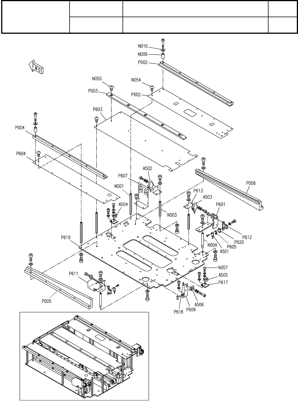
56-B
トレイフィーダリフト部:NPM
Tray Feeder Lift Section:NPM
パーツレイアウト
Kit No.
キット品番
Kit Name
キット名称
N610069932AA
セクションNo.
PARTS LAYOUT
Section No.
-
-
O185
( FN610069932AA-26-2 )
LAYOUT

Ref No. Remarks R
1
Q'ty
56-B
トレイフィーダリフト部:NPM
Tray Feeder Lift Section:NPM
イラストNo.
Part No.
品 名品 番 数量
R
2
パーツリスト
Kit No.
キット品番
Kit Name
キット名称
N610069932AA
Part Name
備 考
セクションNo.
PARTS LIST
Section No.
R
3
BASE-PLATE
1
P008 N210040297AB
BLOCK
1
P009 N210040299AA
PIN
1
P010 KXFA03RAA00
PIN
3
P011 KXFA03QAA00
BRACKET
1
P601 N210098247AA
BRACKET
1
P602 N210098248AC
BRACKET
1
P603 N210086424AA
BRACKET
1
P604 N210086425AB
DOG
1
P605 N210101829AA
BRACKET
1
P606 N210108979AB
BRACKET
1
P607 N210108980AA
BRACKET
1
P610 KXFB017YA00
BRACKET
1
P611 N210102397AA
SENSOR
1
A501 MTKP024535AA
SENSOR
1
A502 MTKP024536AA
PIN
7
N001 N986MMS410 MMS4-10
CABLE-VEYOR
1
N003 N510043558AA TKP0250W30R50X20LINK PIA.PKA
JOINT
5
N016 N510066826AA KQ2S04-M6A
GREASE-NIPPLE
5
N017 N560AMT6-130 A-MT6X1-type(M6X1)
BOLT
4
N022 N510000299AA
SSS 003 Hexagon socket button head screw M3X10-12.9 SOB
BOLT
8
N024 N510017350AA
Hexagon socket head cap screw M4X15-10.9 A2J (Trivalent)
BOLT
4
N025 N510017627AA
Hexagon socket Flat head bolt M4X6-10.9 A2J (Trivalent)
O186
-
-
( FN610069932AA-26-2 )

57-A
トレイフィーダ引出部:NPM
Tray Feeder Drawing-out Section:NPM
パーツレイアウト
Kit No.
キット品番
Kit Name
キット名称
N610069934AA
セクションNo.
PARTS LAYOUT
Section No.
-
-
O187
( FN610069934AA-26-1 )
LAYOUT