N7202A047B.pdf - 第350页
71-B ツイントレイ フィー ダ本体部: NPM-W Tw in Tr ay Feeder M ain Body :N PM-W パーツレイアウト Kit No. キット品番 Kit Name キット名称 N610121083A A セクシ ョンNo. PARTS LAYO UT Section No. - - O223 ( FN610121083 AA-43-2 ) LAYOUT

Ref No. Remarks R
1
Q'ty
71-A
ツイントレイフィーダ本体部:NPM-W
Twin Tray Feeder Main Body :NPM-W
イラストNo.
Part No.
品 名品 番 数量
R
2
パーツリスト
Kit No.
キット品番
Kit Name
キット名称
N610121083AA
Part Name
備 考
セクションNo.
PARTS LIST
Section No.
R
3
BLOCK
4
P003 KXFB07EWA00
POST
3
P004 N210143480AA
PLATE
1
P009 N210143540AE
FRAME
1
P020 N210142442AJ
PLATE
2
P021 N210143482AA
PLATE
2
P022 N210143483AB
PLATE
1
P023 N210143484AB
PLATE
1
P024 N210143485AC
PLATE
1
P025 N210143486AB
PLATE
1
P029 N210143487AA
PLATE
1
P030 N210143488AC
PIN
1
P055 KXFB05J3A00
PIN
1
P056 KXFB05J4A00
PLATE
1
P062 N210143492AC
PLATE
1
P063 N210143493AC
BLOCK
1
P064 N210143494AA
BLOCK
1
P065 N210143495AB
BLOCK
2
P066 N210143496AA
COLLAR
4
P073 MTPA035745AA
BRACKET
1
P626 N210143505AC
BRACKET
1
P659 N210094440AB
COVER
2
P690 N210143515AA
PLATE
1
P692 N210109065AA
BRACKET
1
P696 N210094445AA
COVER
1
P702 N210143518AA
BRACKET
1
P703 N210143519AD
BRACKET
1
P705 N210143521AB
BRACKET
6
P706 N210143522AA
COVER
1
P707 N210143523AA
BRACKET
1
P708 N210143524AA
COVER
2
P709 N210143525AA
BRACKET
1
P723 N210150993AA
COVER
1
P725 N210150995AA
COVER
1
P730 N210151162AA
BOLT
4
A510 N610087341AA
ADJUST-BOLT
4
N004 MTNK005191AA AJJF20-180
CASTER
4
N013 MTNK003315AA AWS-60
BOLT
4
N026 MTNK003520AA CB-16
BOX
2
N048 N510035851AA N510035851AA
NUT
8
N050 N510017912AA
Hexagon nut Type-3 Best class M20-6H-4T A2J (Trivalent)
PIN
6
N051 N510020618AA MMS6-15
COLLAR
2
N109 N210160052AA 87AXNHK30-40
BOLT
2
N110 N510032459AA MMSB13-45
O222
-
-
( FN610121083AA-43-1 )

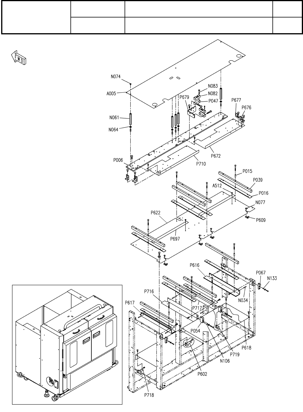
71-B
ツイントレイフィーダ本体部:NPM-W
Twin Tray Feeder Main Body :NPM-W
パーツレイアウト
Kit No.
キット品番
Kit Name
キット名称
N610121083AA
セクションNo.
PARTS LAYOUT
Section No.
-
-
O223
( FN610121083AA-43-2 )
LAYOUT

Ref No. Remarks R
1
Q'ty
71-B
ツイントレイフィーダ本体部:NPM-W
Twin Tray Feeder Main Body :NPM-W
イラストNo.
Part No.
品 名品 番 数量
R
2
パーツリスト
Kit No.
キット品番
Kit Name
キット名称
N610121083AA
Part Name
備 考
セクションNo.
PARTS LIST
Section No.
R
3
PLATE
1
P006 N210143481AB
COLLAR
24
P015 KXFB014PA00
PLATE
8
P016 N210098227AA
GUIDE
8
P039 N210098234AA
BLOCK
2
P047 KXFB015CA00
BLOCK
2
P054 N210143491AB
BLOCK
2
P067 N210143497AB
BRACKET
1
P602 N210143499AA
BRACKET
4
P609 N210021618AA
BRACKET
1
P616 N210098241AA
BRACKET
1
P617 N210098242AA
COVER
2
P618 N210143501AB
PLATE
1
P622 N210143504AB
BRACKET
1
P672 N210143513AB
BRACKET
2
P676 N210004500AA
BRACKET
2
P677 KXFB017FA00
BRACKET
1
P679 KXFB07F7A00
PLATE
2
P697 N210116027AC
BRACKET
1
P710 N210143526AB
BRACKET
1
P716 N210143532AA
BRACKET
1
P717 N210143533AA
BRACKET
1
P718 N210143534AA
BRACKET
1
P719 N210143535AA
COVER
1
A005 N610121088AC
BOLT
4
A512 N610094866AA
PIN
6
N034 N510020599AA MMS4-20
SPACER
5
N061 N510020913AA ASF-455E
SPACER
5
N064 N510030561AA CB-402E
SCREW
38
N074 MTNK000942AA
Cross recessed Truss head machine screw M4X6-4.8 A2J(Trivalent)(MEC
SCREW
8
N077 N510018252AA
Cross recessed Truss head machine screw M3X5-4.8 A2S (Trivalent)
PRECISION-LEVEL
2
N082 KXF0DXU6A00 100WATER LEVEL
SCREW
4
N083 N510018241AA
Cross recessed Truss head machine screw M3X18-4.8 A2J (Trivalent)
SPACER
4
N106 N510017100AA CB-420E
SPACER
4
N133 N510038529AA CF-308ZE
O224
-
-
( FN610121083AA-43-2 )