N7202A047B.pdf - 第360页
72-A ツイントレ イフィーダリフト部:NPM -W Tw in Tr ay Feeder Lift Section:NP M-W パーツレイアウト Kit No. キット品番 Kit Name キット名称 N610121141A A セクシ ョンNo. PARTS LAYO UT Section No. - - O233 ( FN610121141 AA-16-1 ) LAYOUT

Ref No. Remarks R
1
Q'ty
71-F
ツイントレイフィーダ本体部:NPM-W
Twin Tray Feeder Main Body :NPM-W
イラストNo.
Part No.
品 名品 番 数量
R
2
パーツリスト
Kit No.
キット品番
Kit Name
キット名称
N610121083AA
Part Name
備 考
セクションNo.
PARTS LIST
Section No.
R
3
COLLAR
20
P005 KXFB014DA00
SHAFT
4
P007 N210041096AB
PLATE
8
P008 N210175499AA
STOPPER
8
P019 KXFB014RA00
PLATE
2
P041 KXFB07F0A00
COLLAR
8
P044 KXFB015BA00
WASHER
2
P074 N210160217AA
COLLAR
8
P075 N210160097AA
BRACKET
4
P610 MTPB038473AB
PLATE
2
P613 KXFB07F3A00
BRACKET
8
P614 KXFB015QA00
BRACKET
8
P615 KXFB015RA00
LINK
2
P631 KXFB07F5A00
LINK
2
P632 KXFB07F6A00
SENSOR
1
A502 MTKP019537AA CX-412
CYLINDER
1
A503 N610076227AC CDQSBS12-20-DCL7078L
CYLINDER
1
A504 N610076228AC CDQSBS12-20-DCL7078L
CYLINDER
1
A505 N610082929AC CDQSBS12-20-DCL7078L
CYLINDER
1
A513 N610121090AC CDQSBS12-20-DCL7078L
CYLINDER
1
A514 N610121091AC CDQSBS12-20-DCL7078L
SENSOR
1
A515 MTKP020044AA CX-412
CYLINDER
1
A516 N610121093AB CDQSBS12-20-DCL7078L
SPACER
8
N011 N510017095AA CB-403E
SPRING
8
N014 MTPA046414AA 6657
BEARING
0
N015 KXF0A1CAA00 F604ZZ
BEARING
16
MTNB001413AA FL604ZZCNM/5K
SLIT
4
N017 N510064040AA OS-CX-1X6
JOINT
2
N021 N510051100AA Y-P016A
SPACER
8
N057 N510030566AA CB-412E
NUT
18
N079 N510017865AA Hexagon nut M5 Type-3
BOLT
4
N128 N510017518AA
Hexagon socket button head screw M4X14-10.9 A2J (Trivalent)
O232
-
-
( FN610121083AA-43-6 )

72-A
ツイントレイフィーダリフト部:NPM-W
Twin Tray Feeder Lift Section:NPM-W
パーツレイアウト
Kit No.
キット品番
Kit Name
キット名称
N610121141AA
セクションNo.
PARTS LAYOUT
Section No.
-
-
O233
( FN610121141AA-16-1 )
LAYOUT

Ref No. Remarks R
1
Q'ty
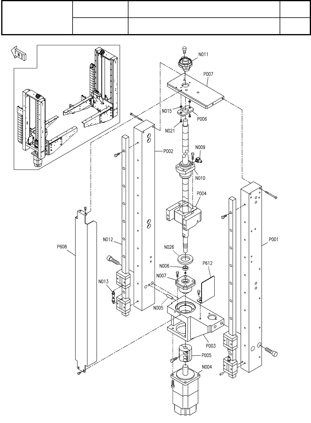
72-A
ツイントレイフィーダリフト部:NPM-W
Twin Tray Feeder Lift Section:NPM-W
イラストNo.
Part No.
品 名品 番 数量
R
2
パーツリスト
Kit No.
キット品番
Kit Name
キット名称
N610121141AA
Part Name
備 考
セクションNo.
PARTS LIST
Section No.
R
3
FRAME
2
P001 N210143541AD
FRAME
2
P002 N210143542AD
BRACKET
2
P003 N210063354AA
BRACKET
2
P004 N210170086AA
COUPLING
2
P005 KXFB017QA00
STOPPER
2
P006 N210096604AA
CONNECT-BLOCK
2
P007 N210096607AA
COVER
2
P608 N210040290AB
COVER
2
P612 N210063355AA
MOTOR
2
N004 N510022126AA
S
HF-MP23B-S25
PIN
2
N005 N510020618AA MMS6-15
SPACER
2
N006 KXF0DX0BA00 B86012061-301
SUPPORT-UNIT
2
N007 KXF043EAA00 WBK12-11
JOINT
2
N009 KXF0CX0AA00 IN-233-797(Delivery drawing available)
BALL-SCREW
2
N010 N510068298AA BLK1616E-3.6ZZGS+589LC8T(33020747K000)
BEARING-UNIT
2
N011 KXF0A00AA00 KFL001
LINEAR-WAY
4
N012 N510040427AA SSR15XV2UUE+605LY-II(00995183G020)
JOINT
8
N013 MTNP000832AB M-5H-4
SPACER
4
N015 N510019911AA CB-302E
BOLT
12
N021 N510000323AA
Hexagon socket button head screw M3X6 Steel Black oxide finish 12.9
DAMPER
2
N026 N510063456AA D25A9
O234
-
-
( FN610121141AA-16-1 )