N7202A047B.pdf - 第367页
Ref No. Remark s R 1 Q'ty 73-A ツイントレイ フィー ダ引出部:N PM-W Tw in Tray Feeder Draw ing-out Section:N PM-W イラストNo. Part No. 品 名 品 番 数量 R 2 パーツリスト Kit No. キット品番 Kit Nam e キット名称 N610121188A A Part Nam e 備 考 セクションN o. PARTS L…

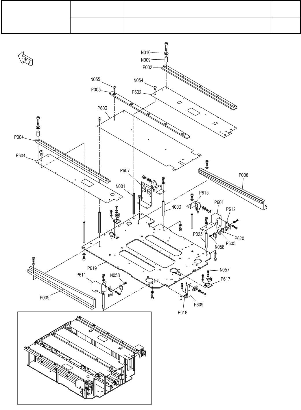
73-A
ツイントレイフィーダ引出部:NPM-W
Twin Tray Feeder Drawing-out Section:NPM-W
パーツレイアウト
Kit No.
キット品番
Kit Name
キット名称
N610121188AA
セクションNo.
PARTS LAYOUT
Section No.
-
-
O239
( FN610121188AA-17-1 )
LAYOUT

Ref No. Remarks R
1
Q'ty
73-A
ツイントレイフィーダ引出部:NPM-W
Twin Tray Feeder Drawing-out Section:NPM-W
イラストNo.
Part No.
品 名品 番 数量
R
2
パーツリスト
Kit No.
キット品番
Kit Name
キット名称
N610121188AA
Part Name
備 考
セクションNo.
PARTS LIST
Section No.
R
3
GUIDE
1
P002 N210098252AA
GUIDE
1
P003 N210086813AA
GUIDE
1
P004 N210098253AA
BLOCK
1
P005 N210086819AA
BLOCK
1
P006 N210086820AA
POST
4
P023 N210160043AA
BRACKET
1
P601 MTPB038502AA
PLATE
1
P602 N210101885AD
PLATE
1
P603 N210098256AE
PLATE
1
P604 N210143552AC
SLIT
1
P605 N510008453AA
BRACKET
1
P607 N210094151AC
PH-BRACKET
1
P609 N210094153AB
BRACKET
1
P611 MTPB038501AA
BRACKET
2
P612 N210050392AB
PH-BRACKET
2
P613 N210039980AA
PH-BRACKET
2
P617 N210094154AA
NUT-PLATE
1
P618 KXFB04N8A00
BASE-PLATE
1
P619 N210143554AD
BRACKET
2
P620 MTPB038252AA
SPACER
14
N001 N510019891AA ASF-4100E
SPACER
4
N003 N510016924AA ASF-470E
SPACER
10
N009 N510027891AA 3382330-40100
WASHER
10
N010 N510018473AA
Iron round plain washer3X8X1.0(chromeite) A2J (Trivalent)
BOLT
14
N054 N510017536AA
SSS 003 Hexagon socket button head screw M4X8-10.9 A2J (Trivalent)
SCREW
5
N055 N510018282AA
Cross recessed Truss head machine screw M4X8-4.8 A2J (Trivalent)
BOLT
4
N057 N510000327AA
SSS 003 Hexagon socket button head screw M3X8-12.9 SOB
SCREW
4
N058 N510018030AA
Cross recessed Pan head machine screw M2X5-4.8 A2J (Trivalent)
O240
-
-
( FN610121188AA-17-1 )

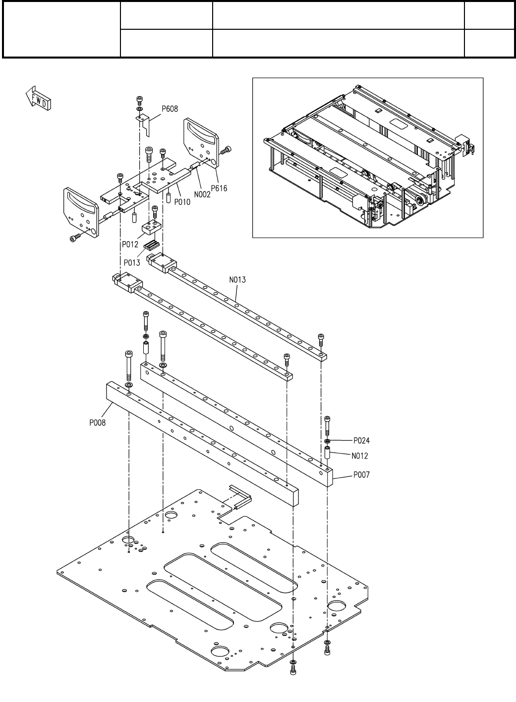
73-B
ツイントレイフィーダ引出部:NPM-W
Twin Tray Feeder Drawing-out Section:NPM-W
パーツレイアウト
Kit No.
キット品番
Kit Name
キット名称
N610121188AA
セクションNo.
PARTS LAYOUT
Section No.
-
-
O241
( FN610121188AA-17-2 )
LAYOUT