N7202A047B.pdf - 第391页
Ref No. Remark s R 1 Q'ty 82-A 13連供給リ ールホルダ部: NPM-W 13-Slot Supply Reel Holder Part:NPM -W イラストNo. Part No. 品 名 品 番 数量 R 2 パーツリスト Kit No. キット品番 Kit Nam e キット名称 N610124211A B Part Nam e 備 考 セクションN o. PARTS LIST Secti…

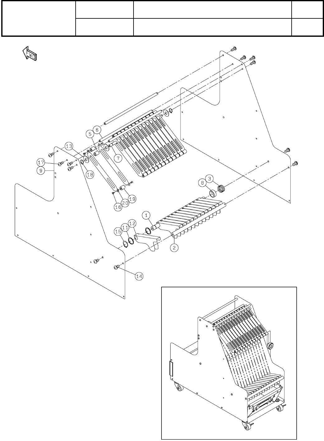
82-A
13連供給リールホルダ部:NPM-W
13-Slot Supply Reel Holder Part:NPM-W
パーツレイアウト
Kit No.
キット品番
Kit Name
キット名称
N610124211AB
セクションNo.
PARTS LAYOUT
Section No.
-
-
O263
( KN610124211AB-00-1 )
LAYOUT

Ref No. Remarks R
1
Q'ty
82-A
13連供給リールホルダ部:NPM-W
13-Slot Supply Reel Holder Part:NPM-W
イラストNo.
Part No.
品 名品 番 数量
R
2
パーツリスト
Kit No.
キット品番
Kit Name
キット名称
N610124211AB
Part Name
備 考
セクションNo.
PARTS LIST
Section No.
R
3
SHAFT
1
1 N210147256AA
SHAFT
1
2 N210147258AA
SPRING
1
3 N210110201AA
COLLAR
13
5 N210083925AA
SHAFT
3
6 N210147269AA
SHAFT
1
7 N210147270AA
COLLAR
1
8 N210147271AA
COVER
2
9 N210147260AB
COLLAR
13
11 N210098093AC
GUIDE
13
12 MTPB021075AA
WASHER
14
13 MTPB028468AA
BOLT
8
14 N510042427AA
SSS 003 Hexagon socket button head screw M6X10-10.9 A2S (Trivalent)
C-RING
1
15 N510032705AA 1180201-18016
SCREW
52
16 N510018631AA
Cross recessed Countersunk head tapping screw Type-2 with cut-4X8 A2J
BOLT
8
17 N510042422AA
SSS 003 Hexagon socket button head screw M5X12-10.9 A2S (Trivalent)
C-RING
2
18 KXF0E1N2A00 1180201-18010
SPACER
26
19 N210006937AA
PLATE
26
20 N210071696AC
O264
-
-
( KN610124211AB-00-1 )

82-B
13連供給リールホルダ部:NPM-W
13-Slot Supply Reel Holder Part:NPM-W
パーツレイアウト
Kit No.
キット品番
Kit Name
キット名称
N610124211AB
セクションNo.
PARTS LAYOUT
Section No.
-
-
O265
( KN610124211AB-00-2 )
LAYOUT