N7202A047B.pdf - 第443页
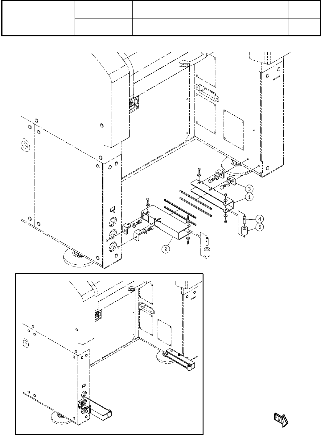
Ref No. Remark s R 1 Q'ty 100 交換台車ガイ ド部(前側) :NPM-W Feeder Car t Guide(Front Side):N PM-W イラストNo. Part No. 品 名 品 番 数量 R 2 パーツリスト Kit No. キット品番 Kit Nam e キット名称 N610120771A A Part Nam e 備 考 セクションN o. PARTS LIST Section…

100
交換台車ガイド部(前側):NPM-W
Feeder Cart Guide(Front Side):NPM-W
パーツレイアウト
Kit No.
キット品番
Kit Name
キット名称
N610120771AA
セクションNo.
PARTS LAYOUT
Section No.
-
-
O315
( KN610120771AA-07 )
LAYOUT

Ref No. Remarks R
1
Q'ty
100
交換台車ガイド部(前側):NPM-W
Feeder Cart Guide(Front Side):NPM-W
イラストNo.
Part No.
品 名品 番 数量
R
2
パーツリスト
Kit No.
キット品番
Kit Name
キット名称
N610120771AA
Part Name
備 考
セクションNo.
PARTS LIST
Section No.
R
3
BRACKET
1
1 N210153442AA
BRACKET
1
2 N210153443AA
BRACKET
4
3 N210153444AA
POST
2
4 N210160041AB
COLLAR
2
5 N210160051AA
O316
-
-
( KN610120771AA-07 )

101
銘板・警告ラベル(可動カバー(前側)):NPM-W2
Label (Movable Cover (Front Side)):NPM-W2
パーツレイアウト
Kit No.
キット品番
Kit Name
キット名称
MTKA001978AA
セクションNo.
PARTS LAYOUT
Section No.
-
-
O317
( KMTKA001978AA-05 )
LAYOUT