N7202A047B.pdf - 第488页
114-D 12ノズルヘッ ド:NPM 12 NOZZLE HEAD:NPM パーツレイアウト Kit No. キット品番 Kit Name キット名称 N610157741A A セクシ ョンNo. PARTS LAYO UT Section No. - - O361 ( FN610157741 AA-16-4 ) LAYOUT

Ref No. Remarks R
1
Q'ty
114-C
12ノズルヘッド:NPM
12 NOZZLE HEAD:NPM
イラストNo.
Part No.
品 名品 番 数量
R
2
パーツリスト
Kit No.
キット品番
Kit Name
キット名称
N610157741AA
Part Name
備 考
セクションNo.
PARTS LIST
Section No.
R
3
COLLAR
12
P008 N210013388AA
SPRING
24
P009 N210016901AB
GUIDE
12
P010 N210016902AB
COLLAR
12
P011 N210013386AB
NUT
12
P012 N210009483AB
COLLAR
12
P014 N210013382AB
HOUSING
12
P023 N210090621AD
HOLDER
12
P024 N210007281AD
PIECE
24
P025 N210110221AA
SPRING
12
P026 N210068065AA
SPRING
12
P027 N210014666AC
A
CLAMP-ARM
24
P028 N210098763AB
A
NOZZLE HOLDER
12
A001 N610067607AF
FILTER
12
A002 N610097899AC
TUBE (64mm CUT)
12
A003 N610144919AB
BALL-SPLINE
12
N015 N510068462AA 2LT4XQZCSS+145.5LP-(M)(13035768X000)
BEARING
12
N016 N510011405AA DDRF-830ZZ R P0P25LY72
BEARING
0
N510067502AA F693JZZMC3 NS7L
WASHER
24
N017 N510026562AA MMSRB6-0.5
PULLEY
12
N018 N510019396AA P14-2GT-6-33(K0508-005-02)
BEARING
36
N021 N510003588AA DDL-1060ZZ H P0P25LY121
BEARING
0
N510067503AA MR106T12ZZ1MC3 NS7L
JOINT
12
N040 N510059099AA M-5AU-4-X179
BEARING
12
N048 N510003597AA DDLF-630ZZ H P0P25LY72
BEARING
0
MTNB000049AA MF63T12ZZMC3 NS7
PACKING
24
N049 N555MYA3 MYA-3
SHIM
12
N050 N510028628AA RF002004020
BEARING
12
N051 N510019154AA DDR-620ZZY52 H P0P13LY72
BEARING
0
N510067507AA MR62JZZMC2 NS7L
PIN
12
N052 N510049558AA N2X5-07
BEARING
12
N053 N510011382AA DDLF-850ZZ H P0P25LY121
BEARING
0
N510069003AA MF85CZZMC3 NS7L
SCREW
24
N054 XXE25C3FT
Hexagon socket set screw Flat point M2.5X3-45H SOB
O360
-
-
( FN610157741AA-16-3 )

114-D
12ノズルヘッド:NPM
12 NOZZLE HEAD:NPM
パーツレイアウト
Kit No.
キット品番
Kit Name
キット名称
N610157741AA
セクションNo.
PARTS LAYOUT
Section No.
-
-
O361
( FN610157741AA-16-4 )
LAYOUT

Ref No. Remarks R
1
Q'ty
114-D
12ノズルヘッド:NPM
12 NOZZLE HEAD:NPM
イラストNo.
Part No.
品 名品 番 数量
R
2
パーツリスト
Kit No.
キット品番
Kit Name
キット名称
N610157741AA
Part Name
備 考
セクションNo.
PARTS LIST
Section No.
R
3
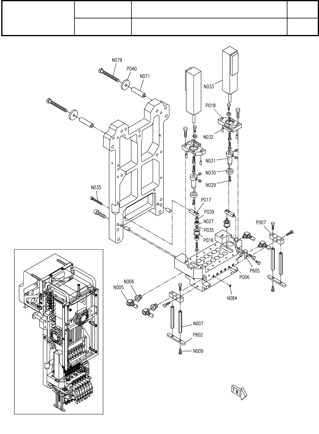
BRACKET
1
P006 N210126067AA
BLOCK
2
P007 N210084290AB
PULLEY
2
P016 N210048480AB
BLOCK
2
P017 N210070043AA
PLATE
2
P018 N210084291AB
COLLAR
2
P035 N210123391AA
WASHER
2
P039 N210117343AA
WASHER
2
P040 N210118728AA
GUARD
2
P602 N210084292AC
PLATE
1
P605 N210070045AA
JOINT
4
N005 MTNP000827AA M-5ALU-6-X83
JOINT
2
N006 KXF05X7AA00 M-5E
SPACER
4
N007 N510031771AA ASU-348
BOLT
4
N009 N510067786AA Low Head Cap Screw M3X8-8.8 SOB
BEARING
4
N027 N510017124AA R-830ZZ R P0P25LY121
BEARING
0
N510067504AA 693JZZMC3 NS7L
BOLT
2
N029 XVE25B5FTC
Hexagon socket head cap screw M2.5X5-12.9 SOB
BEARING
2
N030 N510011403AA DDL-1370ZZ R P0P25LY121
BEARING
0
N510067505AA MR137ZZMC3 NS7L
PULLEY
2
N031 N510032344AA P14-2GT-12-SF(K0610-001-01)
PIN
4
N032 N510020589AA MMS3-8
MOTOR
2
N033 MTNM000172AA
S
P50B02002BXSMD
BOLT
1
N035 N510017322AA
Hexagon socket head cap screw M3X25-10.9 A2J (Trivalent) Full thread
SPACER
2
N071 N510031805AA CB-530E
BOLT
2
N079 N510017750AA
Hexagon head bolt Best class M5X45-6g 4T A2J (Trivalent)
O-RING
12
N084 N554C03700A CO3700A
O362
-
-
( FN610157741AA-16-4 )