N7202A047B.pdf - 第529页
Ref No. Remark s R 1 Q'ty 122-F 塗布ヘッド:N PM DISPENSER HEAD:NPM イラストNo. Part No. 品 名 品 番 数量 R 2 パーツリスト Kit No. キット品番 Kit Nam e キット名称 N610157748A A Part Nam e 備 考 セクションN o. PARTS LIST Section No. R 3 BLOC K 2 P042 N210…

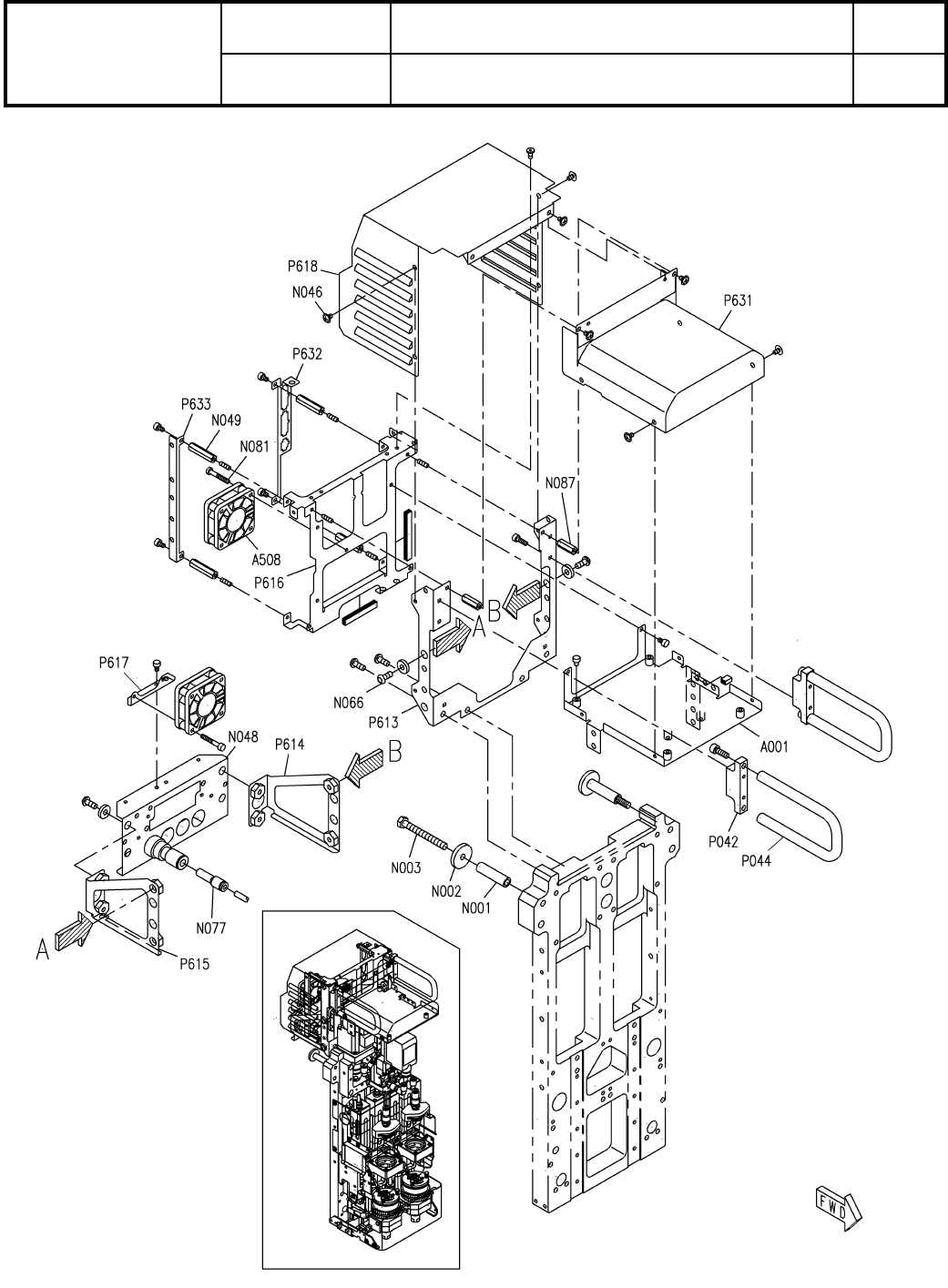
122-F
塗布ヘッド:NPM
DISPENSER HEAD:NPM
パーツレイアウト
Kit No.
キット品番
Kit Name
キット名称
N610157748AA
セクションNo.
PARTS LAYOUT
Section No.
-
-
O401
( FN610157748AA-11-6 )
LAYOUT

Ref No. Remarks R
1
Q'ty
122-F
塗布ヘッド:NPM
DISPENSER HEAD:NPM
イラストNo.
Part No.
品 名品 番 数量
R
2
パーツリスト
Kit No.
キット品番
Kit Name
キット名称
N610157748AA
Part Name
備 考
セクションNo.
PARTS LIST
Section No.
R
3
BLOCK
2
P042 N210082171AA
HANDLE
2
P044 N210082172AA
BRACKET
1
P613 N210130916AC
BRACKET
1
P614 N210130917AB
BRACKET
1
P615 N210130918AB
BRACKET
1
P616 N210134618AC
BRACKET
1
P617 N210131832AB
COVER
1
P618 N210134622AC
COVER
1
P631 N210134629AC
BRACKET
1
P632 N210130926AA
BRACKET
1
P633 N210130927AB
BEACKET
1
A001 N610113786AD
FAN
2
A508 N610083228AB
SPACER
2
N001 N510031805AA CB-530E
WASHER
2
N002 MTNK002127AA WASB20-5-3
BOLT
2
N003 N510017750AA
Hexagon head bolt Best class M5X45-6g 4T A2J (Trivalent)
SCREW
26
N046 N510045431AA M3X5-4.8 A2S
COUPLER
1
N048 N510056595AA MA-MS-PC1-06(CS33843-2)
SPACER
4
N049 N510019889AA ASF-325E
BOLT
12
N066 N510002011AA SRBS-M4X10
JOINT
1
N077 N510066671AA KQ2R04-06A
BOLT
2
N081 N510067770AA Low Head Cap Screw M3X20-8.8 A2J(Trivalent)
SPACER
2
N087 N510015643AA ASF-316E
O402
-
-
( FN610157748AA-11-6 )

123
塗布ヘッド制御:NPM
DISPENSER HEAD(H):NPM
パーツレイアウト
Kit No.
キット品番
Kit Name
キット名称
N610083275AA
セクションNo.
PARTS LAYOUT
Section No.
-
-
O403
( KN610083275AA-12 )
LAYOUT