N7202A047B.pdf - 第561页
Ref No. Remark s R 1 Q'ty 130-F 軽量16ノズ ルヘッド: NPM Light w eight 16 Nozz le Head:NPM イラストNo. Part No. 品 名 品 番 数量 R 2 パーツリスト Kit No. キット品番 Kit Nam e キット名称 N610159207A A Part Nam e 備 考 セクションN o. PARTS LIST Section No. R…

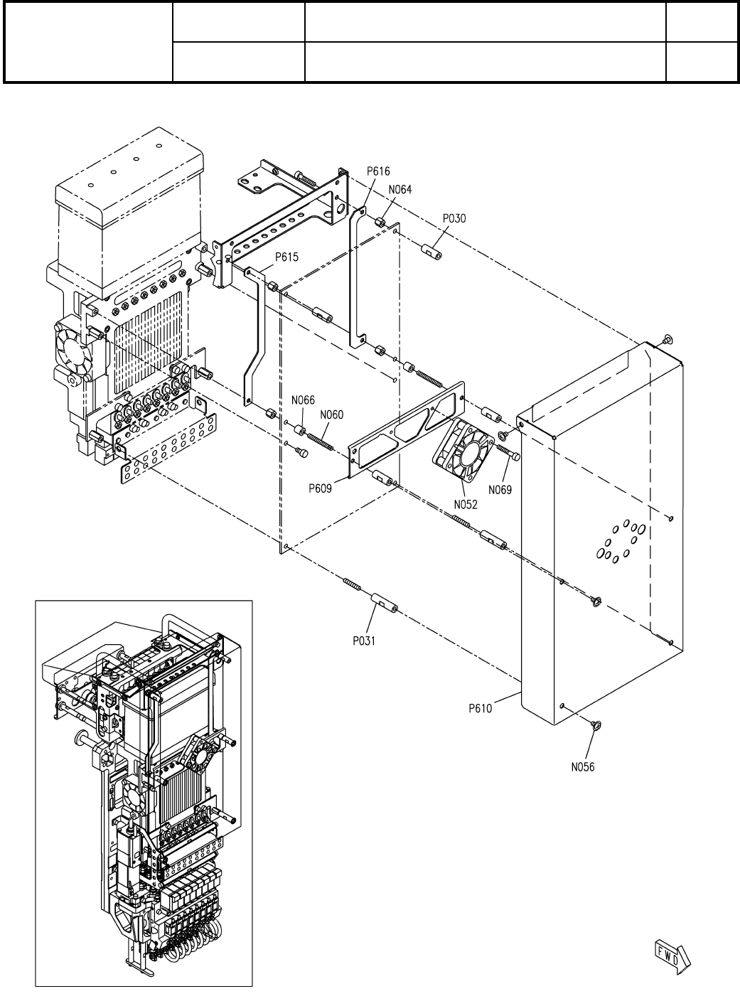
130-F
軽量16ノズルヘッド:NPM
Light weight 16 Nozzle Head:NPM
パーツレイアウト
Kit No.
キット品番
Kit Name
キット名称
N610159207AA
セクションNo.
PARTS LAYOUT
Section No.
-
-
O433
( FN610159207AA-18-6 )
LAYOUT

Ref No. Remarks R
1
Q'ty
130-F
軽量16ノズルヘッド:NPM
Light weight 16 Nozzle Head:NPM
イラストNo.
Part No.
品 名品 番 数量
R
2
パーツリスト
Kit No.
キット品番
Kit Name
キット名称
N610159207AA
Part Name
備 考
セクションNo.
PARTS LIST
Section No.
R
3
HANDLE
2
P025 N210188275AA
POST
2
P032 N210188276AB
POST
2
P034 N210188277AB
BRACKET
1
P607 N210189131AC
COVER
1
P611 N210188279AC
COVER
1
P612 N210188280AD
BRACKET
1
P622 N210189158AC
BRACKET
1
A003 N610159301AD
JOINT
2
N042 N510067530AA KQ2U06-01AS
JOINT
1
N043 N510067913AA FR6-01M
COUPLER
1
N053 N510068214AA MA-MS10PF-3LFT(CS38669-0)
SCREW
8
N056 N510045431AA M3X5-4.8 A2S
SCREW
2
N068 N510018675AA
Cross recessed Pan head machine screw with SW & SPW M3X6-4.8 A2J
O434
-
-
( FN610159207AA-18-6 )

130-G
軽量16ノズルヘッド:NPM
Light weight 16 Nozzle Head:NPM
パーツレイアウト
Kit No.
キット品番
Kit Name
キット名称
N610159207AA
セクションNo.
PARTS LAYOUT
Section No.
-
-
O435
( FN610159207AA-18-7 )
LAYOUT