N7202A047B.pdf - 第575页
Ref No. Remark s R 1 Q'ty 133-D 軽量16ノズ ルヘッドV 2メカ Light W eight 16 Nozz le Head V2(M ) イラストNo. Part No. 品 名 品 番 数量 R 2 パーツリスト Kit No. キット品番 Kit Nam e キット名称 MTKA006094A A Part Nam e 備 考 セクションN o. PARTS LIST Section No…

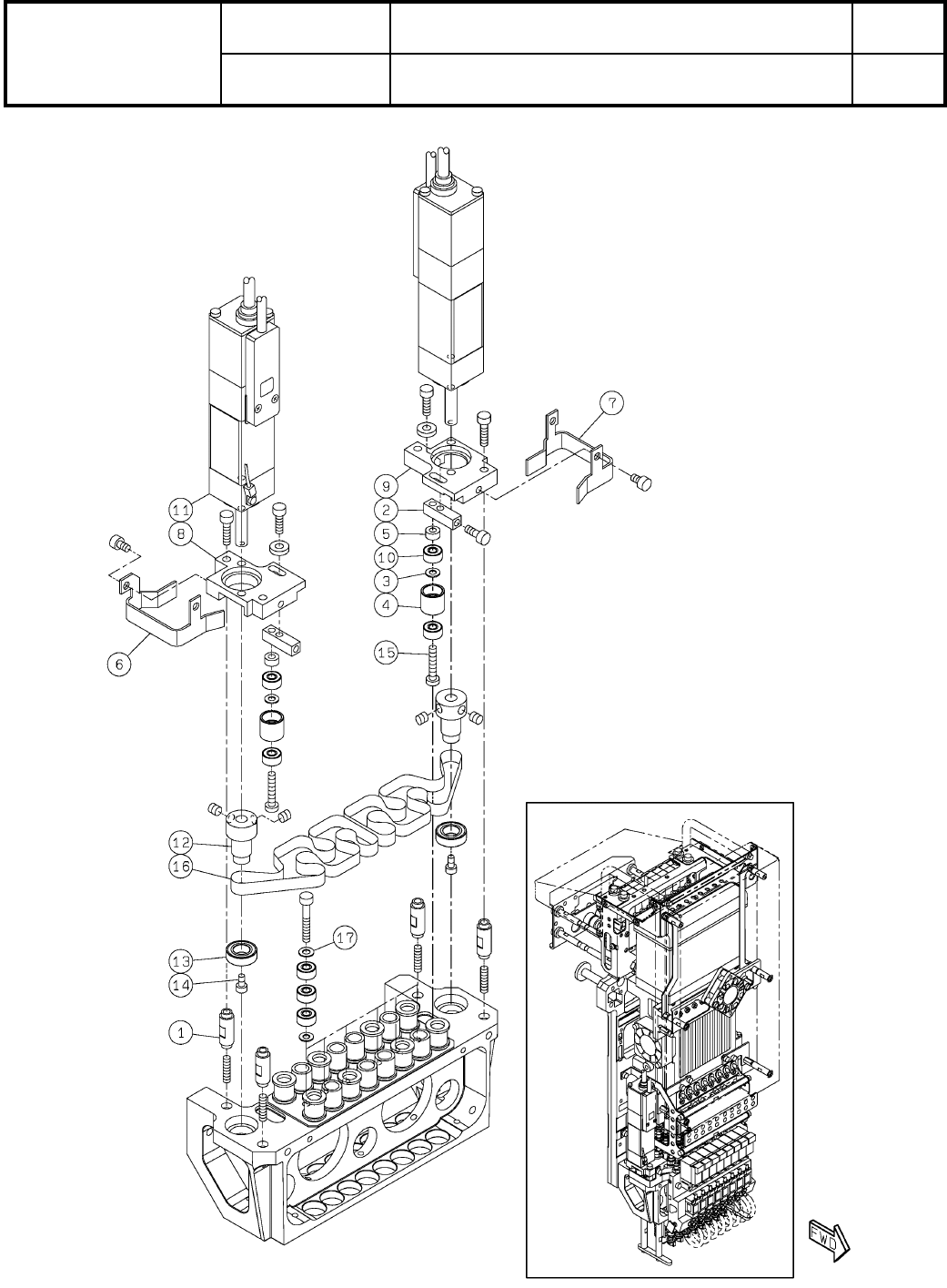
133-D
軽量16ノズルヘッドV2メカ
Light Weight 16 Nozzle Head V2(M)
パーツレイアウト
Kit No.
キット品番
Kit Name
キット名称
MTKA006094AA
セクションNo.
PARTS LAYOUT
Section No.
-
-
O447
( KMTKA006094AA-19_A-4 )
LAYOUT

Ref No. Remarks R
1
Q'ty
133-D
軽量16ノズルヘッドV2メカ
Light Weight 16 Nozzle Head V2(M)
イラストNo.
Part No.
品 名品 番 数量
R
2
パーツリスト
Kit No.
キット品番
Kit Name
キット名称
MTKA006094AA
Part Name
備 考
セクションNo.
PARTS LIST
Section No.
R
3
POST
4
1 N210119187AA
BLOCK
2
2 N210116692AA
COLLAR
8
3 N210123391AA
PULLEY
2
4 MTPA038999AA
COLLAR
2
5 N210123392AA
COVER
1
6 N210134042AB
COVER
1
7 N210133002AC
PLATE
1
8 N610161629AA
PLATE
1
9 N610161628AA
BEARING
22
10 N510017124AA R-830ZZ R P0P25LY121
MOTOR
2
11 N510068271AA
S
P50B02002BXS9B
PULLEY
2
12 N510032344AA P14-2GT-12-SF(K0610-001-01)
BEARING
2
13 N510011403AA DDL-1370ZZ R P0P25LY121
BEARING
0
N510067505AA MR137ZZMC3 NS7L
BOLT
2
14 XVE25B5FTC
Hexagon socket head cap screw M2.5X5-12.9 SOB
BOLT
2
15 N510067769AA Low Head Cap Screw M3X16-8.8 A2J(Trivalent)
T-BELT
2
16 N510055507AA 286-2GT-6(3FX6N17)S-107141
WASHER
6
17 N510033304AA
Small round-plain washer 3 10H A2S (Trivalent)
O448
-
-
( KMTKA006094AA-19_A-4 )

133-E
軽量16ノズルヘッドV2メカ
Light Weight 16 Nozzle Head V2(M)
パーツレイアウト
Kit No.
キット品番
Kit Name
キット名称
MTKA006094AA
セクションNo.
PARTS LAYOUT
Section No.
-
-
O449
( KMTKA006094AA-19_A-5 )
LAYOUT