N7202A047B.pdf - 第60页
1-G 本体部:N PM-W2 M ainBody:NPM -W 2 パーツレイアウト Kit No. キット品番 Kit Name キット名称 N610154874A A セクシ ョンNo. PARTS LAYO UT Section No. - - S13 ( FN610154874 AA-48-7 ) LAYOUT

Ref No. Remarks R
1
Q'ty
1-F
本体部:NPM-W2
MainBody:NPM-W2
イラストNo.
Part No.
品 名品 番 数量
R
2
パーツリスト
Kit No.
キット品番
Kit Name
キット名称
N610154874AA
Part Name
備 考
セクションNo.
PARTS LIST
Section No.
R
3
BRACKET
1
P603 N210146104AD
BRACKET
1
P610 N210198179AA
PLATE
1
P641 N210198188AA
BRACKET
1
P675 MTPB001172AA
JOINT
1
N024 N510066604AA KQ2D06-00A
JOINT
1
N025 N431KQ2N0608 KQ2N06-08
MANIFOLD
2
N026 MTNP003717AA M4GA180R-E2NHS-2-FL630987-3-ST(PFOA FREE)
VALVE
2
N027 MTNP003746AA 4GA130R-M5-A2NS-FL630985-3-ST(PFOA FREE)
MANIFOLD
1
N028 N510051935AA VV3QZ12-02-X60V
REGULATOR
1
N029 N510037363AA IR2000-02-R-DIL00073
REGULATOR
1
N030 MTNP001029AA AR20-02H-1Y-B-X2114
REGULATOR
1
N031 MTNP001030AA AR20-02H-Y-B-X2116
SWITCH
1
N032 N510061579AA ZSE30AF-C6L-N-MA1Y
GAUGE
1
N033 N510040253AA GZ46-K-01-C
GAUGE
1
N034 N510037366AA G46-2-01-C
GAUGE
1
N035 N510016399AA G46-10-01-C
JOINT
3
N036 N510066815AA KQ2LF06-01A
REGULATOR
1
N037 MTNP000281AA AC30X-03-X2855
SWITCH
1
N038 N510061333AA ISE30A-C4H-N-MBY
COUPLER
1
N039 N43130PM-024 30PM (Steel)
JOINT
5
N040 N510066640AA KQ2X06-08A
JOINT
5
N041 KXF09ZBAA00 KQ2P-06
JOINT
0
MTNP004050AA PP6
COUPLER
1
N135 N43130SM-074 30SM (Steel)
S12
-
-
( FN610154874AA-48-6 )

1-G
本体部:NPM-W2
MainBody:NPM-W2
パーツレイアウト
Kit No.
キット品番
Kit Name
キット名称
N610154874AA
セクションNo.
PARTS LAYOUT
Section No.
-
-
S13
( FN610154874AA-48-7 )
LAYOUT

Ref No. Remarks R
1
Q'ty
1-G
本体部:NPM-W2
MainBody:NPM-W2
イラストNo.
Part No.
品 名品 番 数量
R
2
パーツリスト
Kit No.
キット品番
Kit Name
キット名称
N610154874AA
Part Name
備 考
セクションNo.
PARTS LIST
Section No.
R
3
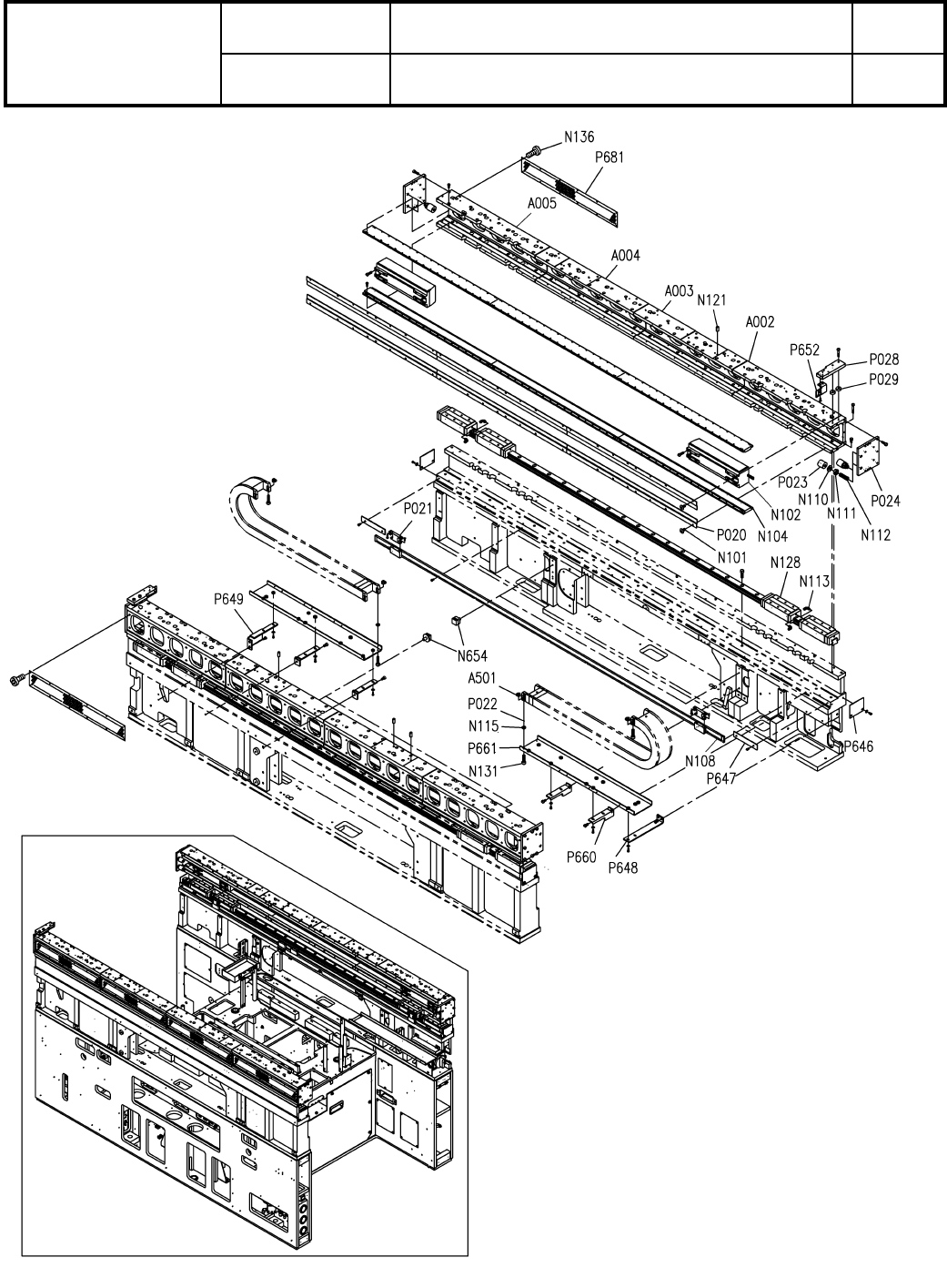
COVER
12
P020 N210142880AA
BLOCK
4
P021 N210151292AA
SHEET
2
P022 N210147166AC
STOPPER
8
P023 N210198064AA
PLATE
4
P024 MTPA000844AB
PLATE
2
P028 N210182327AA
COLLAR
4
P029 N210194473AA
PLATE
4
P646 N210147146AB
PLATE
4
P647 N210147147AB
BRACKET
1
P648 MTPB005726AA
BRACKET
1
P649 N210173222AA
BRACKET
2
P652 N210161950AA
BRACKET
4
P660 N210147144AC
GUIDE
2
P661 MTPB004204AB
COVER
8
P681 MTPB045984AA
Y-FRAME1
2
A002 N610166448AJ
Y-FRAME2
2
A003 N610164217AG
Y-FRAME3
2
A004 N610164218AG
Y-FRAME4
2
A005 N610166449AJ
NUT
8
A501 N610073089AA
SCREW
48
N101 N510018282AA
Cross recessed Truss head machine screw M4X8-4.8 A2J (Trivalent)
MOTOR
4
N102 N510058078AA
S
LM-KCP1B-58P-8250
MOTOR
12
N104 MTNM000018AA
S
LM-KCS10-684-Z271
LINEAR-SCALE
2
N108 N510056763AC ST748A-1800PF
WASHER
8
N110 N510027223AA
Round finish plain washer (JIS B 1256:1978) 12 10H A2J (Trivalent)
NUT
8
N111 N510017897AA
Hexagon nut Type-3 Best class M12-6H-4T A2J (Trivalent)
SCREW
8
N112 XXF12C40FT
Hexagon socket set screw Flat point M12X40-45H SOB
JOINT
8
N113 N510066663AA KQ2L04-M6A
JOINT
0
MTNP002698AA PL4M5
WASHER
4
N115 N510021595AA MMSRB4.5-2.0
PIN
4
N121 KXF0CXKAA00 1017003-60012
LINEAR-WAY
2
N128 MTNB000064AA SHS30LV4QZUUC1S+2120LH-II(B)(00054343C000)
BOLT
8
N131 MTNK000558AA
Hexagon socket head cap screw M4X16-10.9 A2J (Trivalent)(MEC proces
BOLT
72
N136 N510067807AA
Ultra Low Head Cap Screw M4X6-8.8 A2J(Trivalent)
CABLE-SUPPORT
4
N654 N510048517AA FT4
S14
-
-
( FN610154874AA-48-7 )