N7202A047B.pdf - 第684页
159 ノズルチェ ンジャ ー(8ノズ ルヘッ ド):NP M Nozz le Changer(8 Noz zle Head) :NPM パーツレイアウト Kit No. キット品番 Kit Name キット名称 N610161634A A セクシ ョンNo. PARTS LAYO UT Section No. - - O557 ( KN610161634 AA-06 ) LAYOUT

Ref No. Remarks R
1
Q'ty
158
ノズルチェンジャーユニット(12ノズルヘッド):NPM
Nozzle Changer Unit(12 Nozzle Head):NPM
イラストNo.
Part No.
品 名品 番 数量
R
2
パーツリスト
Kit No.
キット品番
Kit Name
キット名称
N610074584AA
Part Name
備 考
セクションNo.
PARTS LIST
Section No.
R
3
BASE
1
1 N210120264AB
HOLDER
1
2 N210106444AC
COLLAR
3
3 N210092262AA
GUIDE
1
4 N210092265AA
GUIDE
1
5 N210092266AA
BLOCK
2
6 N210092267AA
BLOCK
1
7 N210092268AD
BLOCK
1
8 N210092269AC
BLOCK
1
9 N210119468AB
SPRING
1
10 N210095852AA
BLOCK
1
11 N210120266AB
STOPPER
1
12 N210106832AB
BLOCK
1
13 N210103604AB
WASHER
1
14 N210117350AA
GUIDE
1
15 N210105021AB
GUIDE
1
16 N210119469AA
SHUTTER
1
17 N210092260AD
BEARING
4
18 KXF0AB1AA00 634ZZ1MC3
SPACER
4
19 N510030561AA CB-402E
PIN
4
20 N510020598AA MMS4-15
BEARING
4
21 N510039650AA 693T12AZZMC3
SPACER
4
22 N510019911AA CB-302E
PIN
4
23 N510020591AA MMS3-15
SPACER
2
24 N510030217AA CB-305E
SPACER
1
25 N510038175AA C-505
BOLT
1
26 N510067787AA Low Head Cap Screw M3X10-8.8 SOB
BOLT
4
27 N510017613AA
Hexagon socket Flat head bolt M3X8-10.9 A2J (Trivalent)
BOLT
4
28 N510067771AA Low Head Cap Screw M3X25-8.8 A2J(Trivalent)
PIN
1
29 N510020604AA MMS4-45
PIN
2
30 N986MMS410 MMS4-10
O556
-
-
( KN610074584AA-12 )

159
ノズルチェンジャー(8ノズルヘッド):NPM
Nozzle Changer(8 Nozzle Head):NPM
パーツレイアウト
Kit No.
キット品番
Kit Name
キット名称
N610161634AA
セクションNo.
PARTS LAYOUT
Section No.
-
-
O557
( KN610161634AA-06 )
LAYOUT

Ref No. Remarks R
1
Q'ty
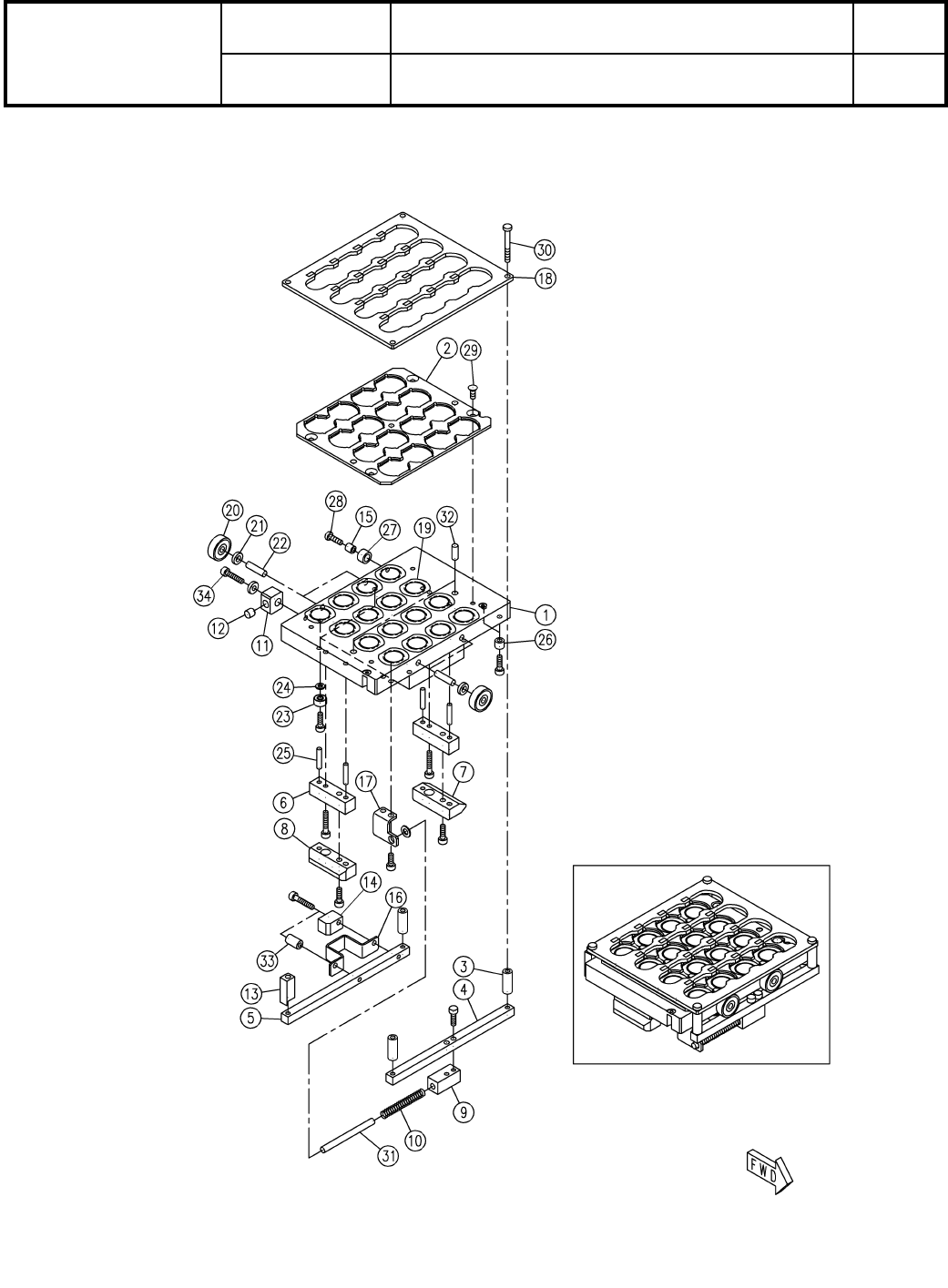
159
ノズルチェンジャー(8ノズルヘッド):NPM
Nozzle Changer(8 Nozzle Head):NPM
イラストNo.
Part No.
品 名品 番 数量
R
2
パーツリスト
Kit No.
キット品番
Kit Name
キット名称
N610161634AA
Part Name
備 考
セクションNo.
PARTS LIST
Section No.
R
3
BASE
1
1 N210191545AA
HOLDER
1
2 N210093186AD
COLLAR
3
3 N210092262AA
GUIDE
1
4 N210092265AA
GUIDE
1
5 N210092266AA
BLOCK
2
6 N210092267AA
BLOCK
1
7 N210092268AD
BLOCK
1
8 N210092269AC
BLOCK
1
9 N210119468AB
SPRING
1
10 N210095852AA
BLOCK
1
11 N210120266AB
STOPPER
1
12 N210106832AB
BLOCK
1
13 N210103604AB
BLOCK
1
14 N210120129AA
WASHER
1
15 N210117350AA
GUIDE
1
16 N210093188AB
GUIDE
1
17 N210119469AA
SHUTTER
1
18 N210092540AC
BEARING
4
19 KXF0AB1AA00 634ZZ1MC3
SPACER
4
20 N510030561AA CB-402E
PIN
4
21 N510020598AA MMS4-15
BEARING
4
22 N510039650AA 693T12AZZMC3
SPACER
4
23 N510030918AA CB-301E
PIN
4
24 N510020591AA MMS3-15
SPACER
2
25 N510030217AA CB-305E
SPACER
1
26 N510038175AA C-505
BOLT
1
27 N510067787AA Low Head Cap Screw M3X10-8.8 SOB
BOLT
4
28 N510017613AA
Hexagon socket Flat head bolt M3X8-10.9 A2J (Trivalent)
BOLT
4
29 N510067771AA Low Head Cap Screw M3X25-8.8 A2J(Trivalent)
PIN
1
30 N510020604AA MMS4-45
PIN
2
31 N986MMS410 MMS4-10
SPACER
1
32 N510020196AA CB-310E
BOLT
1
33 N510017311AA
Hexagon socket head cap screw M3X14-10.9 A2J (Trivalent)
SHEET
1
34 MTNK005112AA 8NZ-02
O558
-
-
( KN610161634AA-06 )