N7202A047B.pdf - 第711页
Ref No. Remark s R 1 Q'ty 171 マルチ認 識カメラ(タイ プ2) M ULTI-RECOGN I T ION CAMERA (TYPE2) イラストNo. Part No. 品 名 品 番 数量 R 2 パーツリスト Kit No. キット品番 Kit Nam e キット名称 MTKA015999A A Part Nam e 備 考 セクションN o. PARTS LIST Section No. …

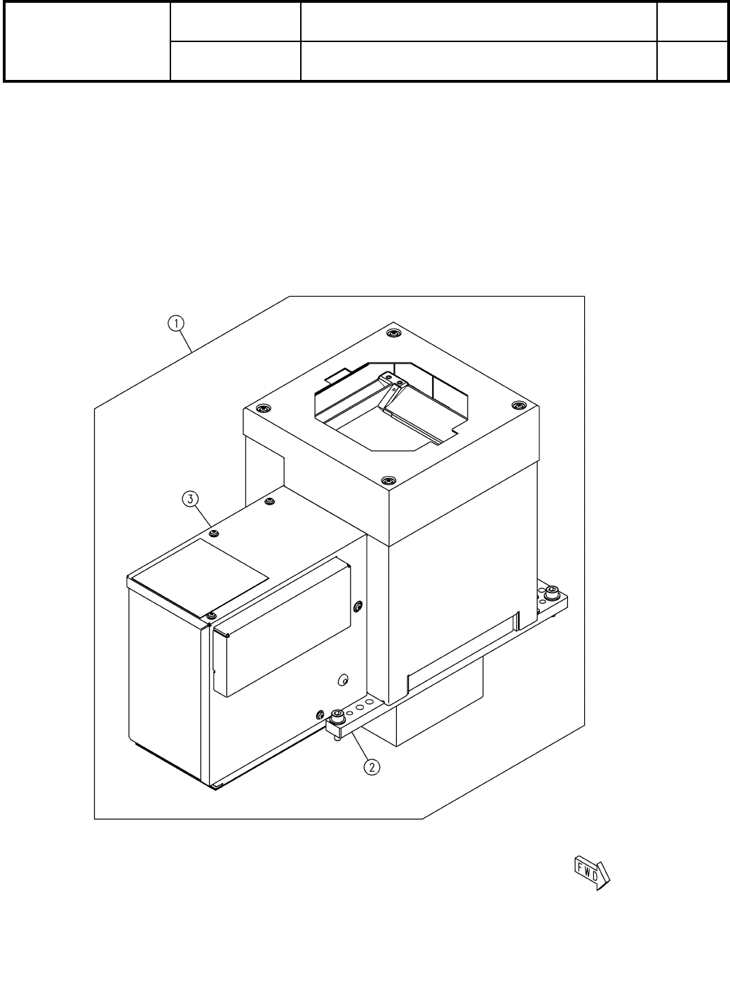
171
マルチ認識カメラ(タイプ2)
MULTI-RECOGNITION CAMERA (TYPE2)
パーツレイアウト
Kit No.
キット品番
Kit Name
キット名称
MTKA015999AA
セクションNo.
PARTS LAYOUT
Section No.
-
-
O583
( KMTKA015999AA-06 )
LAYOUT

Ref No. Remarks R
1
Q'ty
171
マルチ認識カメラ(タイプ2)
MULTI-RECOGNITION CAMERA (TYPE2)
イラストNo.
Part No.
品 名品 番 数量
R
2
パーツリスト
Kit No.
キット品番
Kit Name
キット名称
MTKA015999AA
Part Name
備 考
セクションNo.
PARTS LIST
Section No.
R
3
MULTI-RECOGNITION CAMERA
(TYPE2)
1
1 MTKA015999AA
3DLite(TYPE2) Build Up KIT
1
2 MTKA016581AB
O584
-
-
( KMTKA015999AA-06 )

172
マルチ認識カメラ(タイプ3)
MULTI-RECOGNITION CAMERA (TYPE3)
パーツレイアウト
Kit No.
キット品番
Kit Name
キット名称
MTKA016000AA
セクションNo.
PARTS LAYOUT
Section No.
-
-
O585
( KMTKA016000AA-07 )
LAYOUT