N7202A047B.pdf - 第733页
Ref No. Remark s R 1 Q'ty 180-C 部品排出コンベア :NP M Component Eject Convey or:NPM イラストNo. Part No. 品 名 品 番 数量 R 2 パーツリスト Kit No. キット品番 Kit Nam e キット名称 N610090811A B Part Nam e 備 考 セクションN o. PARTS LIST Section No. R 3 SPA…

180-C
部品排出コンベア:NPM
Component Eject Conveyor:NPM
パーツレイアウト
Kit No.
キット品番
Kit Name
キット名称
N610090811AB
セクションNo.
PARTS LAYOUT
Section No.
-
-
O605
( KN610090811AB-00-3 )
LAYOUT

Ref No. Remarks R
1
Q'ty
180-C
部品排出コンベア:NPM
Component Eject Conveyor:NPM
イラストNo.
Part No.
品 名品 番 数量
R
2
パーツリスト
Kit No.
キット品番
Kit Name
キット名称
N610090811AB
Part Name
備 考
セクションNo.
PARTS LIST
Section No.
R
3
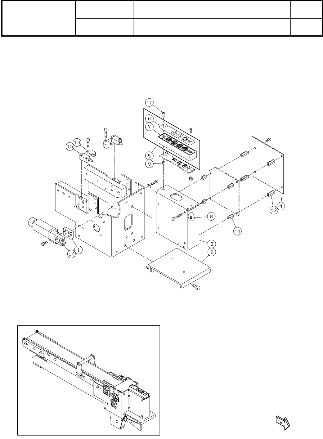
SPACER
1
1 N210084073AB
KNOB
1
2 N210111349AB
COVER
1
3 N210111355AA
COVER
1
4 N210111356AA
SWITCH-BOX
1
5KXFW1KXFA01
SEAL
1
6 KXF0DWTLA00 NP(DA KXF0DWTLA00)
BOX
1
7 MTPA055296AA
SCREW
2
8 XSN25+4VW
Cross recessed Pan head machine screw M2.5X4-A2-70
SPACER
2
9 N510017039AA ASB-2504E
SCREW
2
10 XSN25+8VW
Cross recessed Pan head machine screw M2.5X8-A2-70
SPACER
4
11 N510017046AA ASB-310E
SPACER
4
12 N510020883AA
SLIT
2
13 KXF0DG6AA00 OS-EX20E-05
MOTOR
1
14 N610095153AD
SENSOR
1
15 N610091983AB
O606
-
-
( KN610090811AB-00-3 )

180-D
部品排出コンベア:NPM
Component Eject Conveyor:NPM
パーツレイアウト
Kit No.
キット品番
Kit Name
キット名称
N610090811AB
セクションNo.
PARTS LAYOUT
Section No.
-
-
O607
( KN610090811AB-00-4 )
LAYOUT