N7202A047B.pdf - 第75页
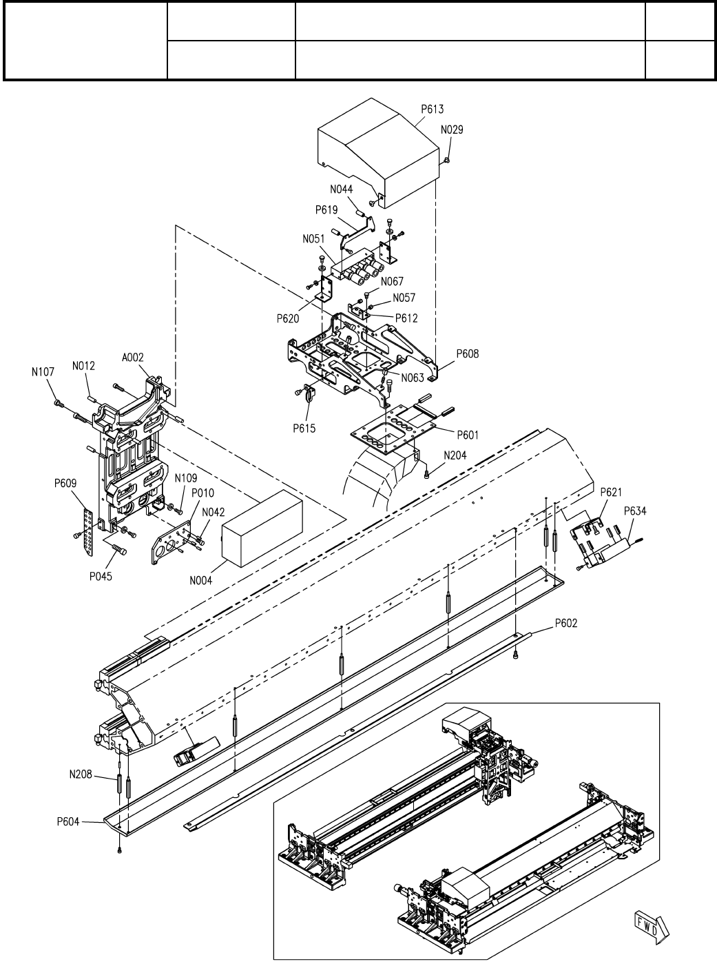
Ref No. Remark s R 1 Q'ty 8-A X軸:NPM-W2 X-Ax is :NPM -W 2 イラストNo. Part No. 品 名 品 番 数量 R 2 パーツリスト Kit No. キット品番 Kit Nam e キット名称 N610154663A A Part Nam e 備 考 セクションN o. PARTS LIST Section No. R 3 STOPPER 4 P004 N210109…

8-A
X軸:NPM-W2
X-Axis:NPM-W2
パーツレイアウト
Kit No.
キット品番
Kit Name
キット名称
N610154663AA
セクションNo.
PARTS LAYOUT
Section No.
-
-
S27
( FN610154663AA-25-1 )
LAYOUT

Ref No. Remarks R
1
Q'ty
8-A
X軸:NPM-W2
X-Axis:NPM-W2
イラストNo.
Part No.
品 名品 番 数量
R
2
パーツリスト
Kit No.
キット品番
Kit Name
キット名称
N610154663AA
Part Name
備 考
セクションNo.
PARTS LIST
Section No.
R
3
STOPPER
4
P004 N210109236AB
PLATE
1
P006 N210194249AA
PLATE
1
P007 N210194250AA
HANDLE
1
P046 MTPA001489AA
WASHER
4
P047 N210189795AA
BRACKET
2
P626 MTPB034533AA
BRACKET
0
MTPB036913AA
X-BEAM
1
A001 MTKP006874AC
MOTOR
2
N005 N510057949AA
S
LM-LCS10-512-7250
LINEAR-WAY
2
N008 N510060185AA HSR15SLV2GCS+1035LHS-II(00045312C000)
SPACER
2
N009 N510029505AA ASF-424E
SPACER
2
N010 N510020911AA ASF-414E
BOLT
6
N014 N510067820AA Ultra Low Head Cap Screw M6X12-8.8 SOB
SPACER
4
N058 N510044825AA 3382330-40075
PLATE
1
N099 N510058932AA P102520-T05N
PIN
2
N211 N510020578AA
S28
-
-
( FN610154663AA-25-1 )

8-B
X軸:NPM-W2
X-Axis:NPM-W2
パーツレイアウト
Kit No.
キット品番
Kit Name
キット名称
N610154663AA
セクションNo.
PARTS LAYOUT
Section No.
-
-
S29
( FN610154663AA-25-2 )
LAYOUT