N7202A047B.pdf - 第842页
220 シャフト清掃部 Shaft C leaning Section パーツレイアウト Kit No. キット品番 Kit Name キット名称 MTKA035947 AA セクシ ョンNo. PARTS LAYO UT Section No. - - O715 ( KMTKA035947 AA-00 ) LAYOUT

Ref No. Remarks R
1
Q'ty
219-E
ヘッドメンテナンスユニット
Head Maintenance Unit
イラストNo.
Part No.
品 名品 番 数量
R
2
パーツリスト
Kit No.
キット品番
Kit Name
キット名称
MTKA032567AB
Part Name
備 考
セクションNo.
PARTS LIST
Section No.
R
3
CLAMPER-KIT:Head Maintenance Unit
1
1 MTKP000387AA
CLAMPER
1
2 N610003449AB
LEVER
1
3 N210109642AA
COVER
1
4 N210109643AA
COVER
1
5KXFA1MXAA00
CONNECTOR
1
6 N510022120AA 54984-0619
SPRING
1
7KXF0DK5AA00 SP(Drawing available KXF0DK5AA00)
BOLT
2
8 N510002407AA Hexagon socket BTM4X8L+TB2430
SCREW
2
9 N510002403AA SUS pan head M3X4+TB2430
SCREW
2
10 XSN25+4VW
Cross recessed Pan head machine screw M2.5X4-A2-70
SCREW
4
11 XSS25+6VW
Cross recessed Countersunk head machine screw M2.5X6-A2-70
SEAL
1
12 KXF0DY2PA00 NP(Drawing available KXF0DY2PA00)
CABLE
1
13 N510004561AA NODA-99011020-2
O714
-
-
( KMTKA032567AB-02-5 )

220
シャフト清掃部
Shaft Cleaning Section
パーツレイアウト
Kit No.
キット品番
Kit Name
キット名称
MTKA035947AA
セクションNo.
PARTS LAYOUT
Section No.
-
-
O715
( KMTKA035947AA-00 )
LAYOUT

Ref No. Remarks R
1
Q'ty
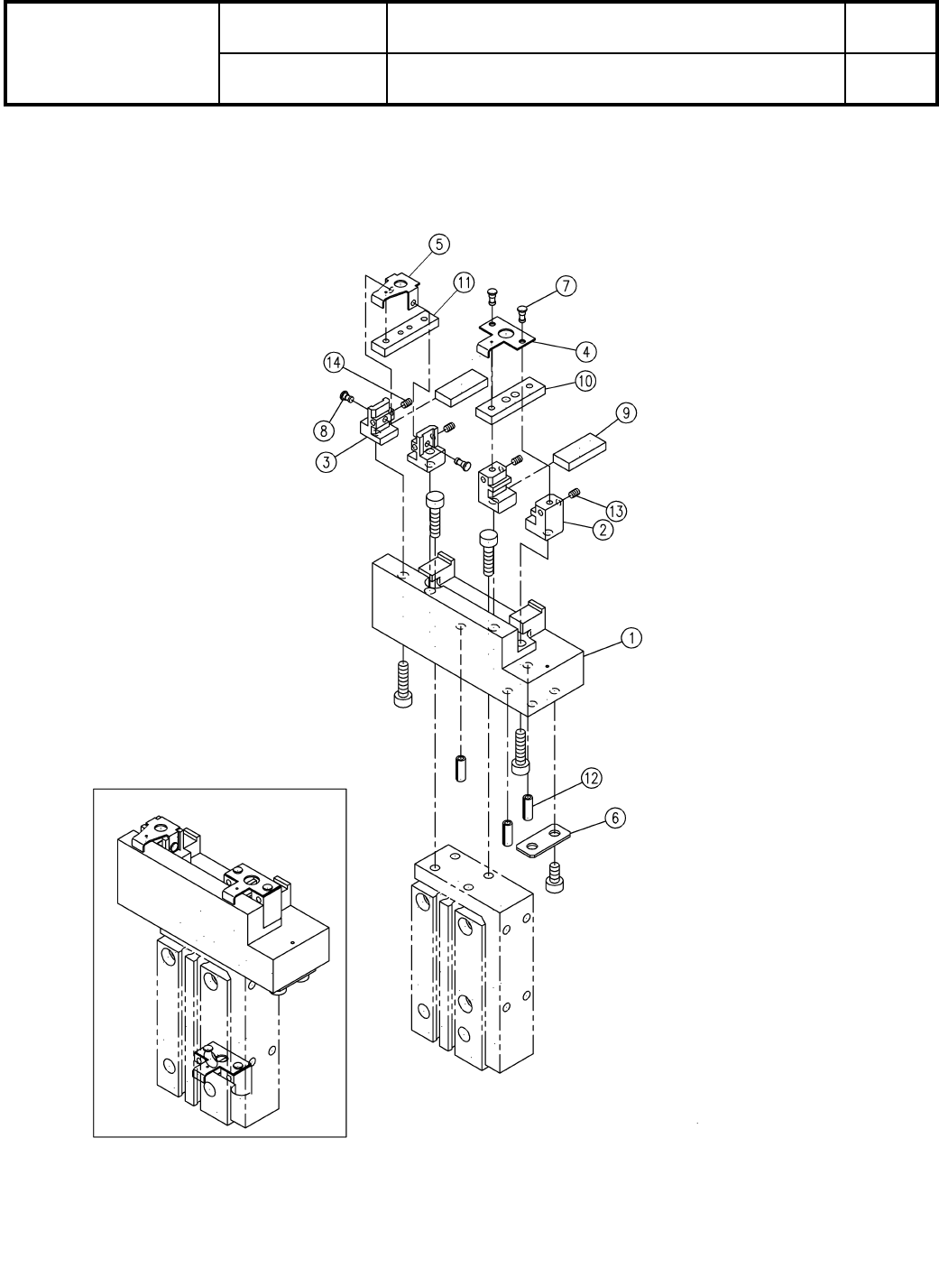
220
シャフト清掃部
Shaft Cleaning Section
イラストNo.
Part No.
品 名品 番 数量
R
2
パーツリスト
Kit No.
キット品番
Kit Name
キット名称
MTKA035947AA
Part Name
備 考
セクションNo.
PARTS LIST
Section No.
R
3
BLOCK
1
1 MTPA052993AA
BLOCK
2
2 N210195525AB
BLOCK
2
3 MTPA052853AB
BRACKET
1
4 N210195527AB
BRACKET
1
5 MTPB034283AB
PLATE
1
6 N210195530AA
PIN
2
7 N210195531AA
PIN
2
8 MTPA052854AB
FILTER
30
9 N210195655AA
FILTER
30
10 N210195656AB
FILTER
30
11 N210195657AB
SPRING-PIN
3
12 N510037714AA 1010801-30008
SCREW
2
13 N510020552AA
SCREW
2
14 N510018350AA
Hexagon socket set screw Cup point M1.6X2-45H A2J (Trivalent)
O716
-
-
( KMTKA035947AA-00 )