N7202A047B.pdf - 第927页
Ref No. Remark s R 1 Q'ty 260 カバー 付き台車ケーブ ル(サポ ートST用) Cart cable with cov er (Support ST) イラストNo. Part No. 品 名 品 番 数量 R 2 パーツリスト Kit No. キット品番 Kit Nam e キット名称 N610111706A B Part Nam e 備 考 セクションN o. PARTS LIST Sectio…

260
カバー付き台車ケーブル(サポートST用)
Cart cable with cover (Support ST)
パーツレイアウト
Kit No.
キット品番
Kit Name
キット名称
N610111706AB
セクションNo.
PARTS LAYOUT
Section No.
-
-
O799
( KN610111706AB-00 )
LAYOUT

Ref No. Remarks R
1
Q'ty
260
カバー付き台車ケーブル(サポートST用)
Cart cable with cover (Support ST)
イラストNo.
Part No.
品 名品 番 数量
R
2
パーツリスト
Kit No.
キット品番
Kit Name
キット名称
N610111706AB
Part Name
備 考
セクションNo.
PARTS LIST
Section No.
R
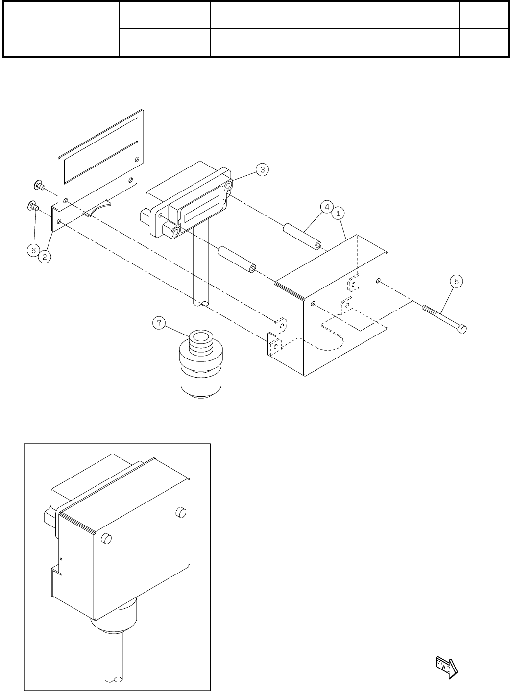
3
CASE
1
1 MTPB007571AB
COVER
1
2 MTPB007572AB
CABLE
1
3 N610081450AA Cart connection Cable(saport ST)
SPACER
2
4 N510025708AA CB-330E
BOLT
2
5 N510017327AA
Hexagon socket head cap screw M3X35-10.9 A2J (Trivalent)
SCREW
4
6XST3+5VW
Cross recessed Truss head machine screw M3X5-A2-70
CABLE-LOCK
1
7 MTNW000458AA OA-WH16-06/10
O800
-
-
( KN610111706AB-00 )

261
カバー付きフィーダケーブル(サポートST用)
Feeder cable with cover (Support ST)
パーツレイアウト
Kit No.
キット品番
Kit Name
キット名称
MTKC023293AA
セクションNo.
PARTS LAYOUT
Section No.
-
-
O801
( KMTKC023293AA-00 )
LAYOUT