TCM3500结构图 - 第109页
MODEL TCM-3500Z-2 0109-001 107 Key N o. P AR T No. P AR T NAME Q’ t y REMA RKS NOTE 5-1 1 630 048 1464 BA LL SC RE W 1 678C--02H-001 2 630 047 9454 BR AC KE T 2 678C--02B-035 3 630 046 6874 C OL L AR 2 678C--02B-037 4 63…

MODEL TCM-3500Z-2
0109-001
106
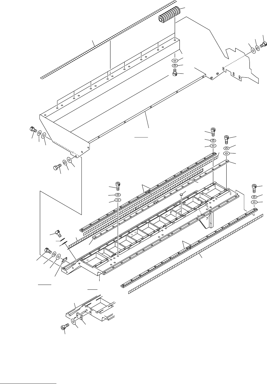
ㇱຠଏ⛎ㇱ FEEDER CARRIAGE SECTION
Fig. 5-1 ࡞ゲ Feeder Axis
1
2
3
4
8
7
6
9
12
11
21
21
22
22
31
31
32
33
33
39
38
37
41
41
42
43
46
46
45
45
44
44
2
3
4
8
7
6
12
11
9
10
10
21
21
22
33
31
33
32
36
36
35
35
34
34
39
38
37
39
39
38
38
37
37
31
32
32
33
36
35
34
36
36
35
35
34
34

MODEL TCM-3500Z-2
0109-001
107
Key No. PART No. PART NAME Q’ty REMARKS
NOTE
5-1
1 630 048 1464 BALL SCREW 1 678C--02H-001
2 630 047 9454 BRACKET 2 678C--02B-035
3 630 046 6874 COLLAR 2 678C--02B-037
4 630 046 6805 BEARING,PARTS 2 678C--02B-038
6 411 141 4503 WASHER V 8X17X1.6 4 FW8
7 411 141 3100 WASHER SPR 8 4 SW8
8 630 000 8043 BOLT,HEX-SCT 4 M8X35
9 630 032 5379 PIN,LOCATE 4 678C--02H-007
10 411 141 4800 WASHER V 12X24X2.5 8 FW12
11 411 141 3308 WASHER SPR 12 8 SW12
12 630 000 8241 BOLT,HEX-SCT 8 M12X40
21 630 047 8013 GUIDE,LINEAR 2 678C--02H-002
22 630 000 7770 BOLT,HEX-SCT 134 M5X20
31 630 047 6811 BRACKET 5 678C--02B-034
32 630 000 0252 SENSOR,PHOTO 8 PHS24, PHS25, PHS28, PHS29,
PHS30, PHS31, PHS32, PHS33
678C--02H-005
33 630 000 0269 SENSOR,PHOTO(CONNECTOR) 8 678C--02H-006
34 411 119 1909 WASHER V 3X7X0.5 32 FW3 F
35 411 086 4408 WASHER SPR 3 16 SW3 F
36 411 040 7803 SCR PAN 3X12 16 M3X12 PAN
37 411 141 4107 WASHER V 5X10X1 10 FW5
38 411 141 6705 WASHER SPR 5 10 SW5
39 630 000 7749 BOLT,HEX-SCT 10 M5X10
41 630 054 9973 BLOCK 4 678C--02B-031
42 630 048 4052 MECH PARTS(URETHANES) 4 678C--02H-016
43 630 000 7879 BOLT,HEX-SCT 4 M6X12
44 411 141 4701 WASHER V 10X21X2 8 FW10
45 411 141 3209 WASHER SPR 10 8 SW10
46 630 000 8142 BOLT,HEX-SCT 8 M10X35

MODEL TCM-3500Z-2
0109-001
108
ㇱຠଏ⛎ㇱ FEEDER CARRIAGE SECTION
Fig. 5-2 ࡞࡙࠾࠶࠻ Feeder Carriage
39
40
41
1-1
2
5
4
3
6
7
8
9
10
11
11
14
13
12
15
15
16
17
18
19
19
21
22
23
36
37
38
32
33
34
35
39
40
41
90
51
52
52
53
53
1-2
1-2
31-1
31-1
31-2
.
.
1-2
1-2
24
24
25
25
26
26
27
20-1
20-2
20-2
.
90
90
90