TCM3500结构图 - 第171页
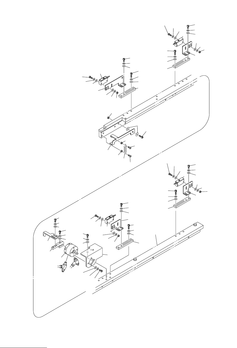
MODEL TCM-3500Z-2 0109-001 169 Key N o. P AR T No. P AR T NAME Q’ t y REMA RKS NOTE 8-4 1 630 064 2131 P L A TE 4 678H--02B-033 1 -1 630 059 2412 BR AC KET (P H OTO R) 2 6 78H--02B-016 1 -2 630 059 2405 BR AC KET (P H OT…

MODEL TCM-3500Z-2
0109-001
168
R ࠦࡦࡌࠕㇱ R CONVEYOR SECTION
Fig. 8-4 ၮ᧼ᬌㇱޔၮ᧼ࠬ࠻࠶ࡄ
P.C.B. Detector, P.C.B. Stopper
See Fig.8-1
Key No.56
1
1
31
34
21
22
22
28
28
29
29
30
30
25
24
23
26
27
35
36
32
33
33
3-2
3-1
2
3-1
3-1
3-2
3-3
8
7
6
2
3-1
3-2
3-3
3-1
6
7
8
3-2
3-2
3-4
14
12
13
15
16
17
17
19
18
18
11
11
8
7
6
9-3
9-3
9-2
9-1
1
3-4
3-4
3-2
3-1
1-3
3-1
3-1
2
3-2
3-3
1-1
9-3
1-2
9-2
9-1
3-4
9-1
9-2
9-3
1
2
3-1
3-2
3-2
3-3
3-3
3-1
6
7
8
3-2
3-2
3-4
1-1
9-1
9-2
9-3
Fig.8-4
TCM-3500Z-2

MODEL TCM-3500Z-2
0109-001
169
Key No. PART No. PART NAME Q’ty REMARKS
NOTE
8-4
1 630 064 2131 PLATE 4 678H--02B-033
1 -1 630 059 2412 BRACKET(PHOTO R) 2 678H--02B-016
1 -2 630 059 2405 BRACKET(PHOTO L) 1 678H--02B-039
1 -3 630 058 8804 BRACKET(PHOTO L) 1 678H--02B-040
2 630 060 6973 SENSOR,PHOTO 4 PHS123, PHS59, PHS121, PHS113
678H--02H-026
3 -1 411 119 1909 WASHER V 3X7X0.5 16 FW3 F
3 -2 411 086 4408 WASHER SPR 3 16 SW3 F
3 -3 411 162 1604 SCR PAN 3X20 8 M3X20 PAN
3 -4 411 054 6809 NUT HEX 3 8 M3 F
6 411 141 4008 WASHER V 4X9X0.8 8 FW4
7 411 141 2905 WASHER SPR 4 8 SW4
8 630 000 7619 BOLT,HEX-SCT 8 M4X8
9 -1 411 141 4008 WASHER V 4X9X0.8 8 FW4
9 -2 411 141 2905 WASHER SPR 4 8 SW4
9 -3 630 000 7657 BOLT,HEX-SCT 8 M4X16
11 630 047 6088 LEVER 1 678H--02B-015
12 630 001 0220 WASHER 2 678H--02H-027
13 630 000 7787 BOLT,HEX-SCT 1 M5X25
14 411 141 0604 NUT HEX 5 1 M5-3
15 411 054 6809 NUT HEX 3 1 M3 F
16 411 040 6202 SCR PAN 3X10 1 M3X10 PAN
17 411 054 8506 NUT HEX 4 1 M4 F
18 411 162 1505 SCR PAN 4X20 1 M4X20 PAN
19 630 001 8103 SPRING,TENSION 1 678H--02H-028
21 630 067 2596 BRACKET(CYL) 1 678H--02B-026
22 630 060 6980 ROTARY ACTUATOR 1 SV106 678H--02H-034
23 630 058 8712 LEVER 1 678H--02B-027
24 630 048 5448 LEVER 1 678H--02B-028
25 411 141 4008 WASHER V 4X9X0.8 2 FW4
26 411 141 2905 WASHER SPR 4 2 SW4
27 630 000 7626 BOLT,HEX-SCT 2 M4X10
28 411 141 4008 WASHER V 4X9X0.8 1 FW4
29 411 141 2905 WASHER SPR 4 1 SW4
30 630 000 7664 BOLT,HEX-SCT 1 M4X20
31 411 141 4008 WASHER V 4X9X0.8 2 FW4
32 411 141 2905 WASHER SPR 4 2 SW4
33 630 000 7626 BOLT,HEX-SCT 2 M4X10
34 411 141 4107 WASHER V 5X10X1 2 FW5
35 411 141 6705 WASHER SPR 5 2 SW5
36 630 000 7749 BOLT,HEX-SCT 2 M5X10

MODEL TCM-3500Z-2
0109-001
170
࠻ࡦࠬࡈࠔㇱ TRANSFER SECTION
Fig. 9-1 ࠬࡊࠗࡦゲ Spline Shaft
1
12
13
13
16
17
17
18
19
19
29
29
20
20
21
22
22
23
24
25
25
26
27
28
31
30
30
32
32
33
33
34
35
35
36
37
38
39
39
40
40
41
41
42
42
43
43
44
44
45
45
46
47
47
48
48
49
50
51
52
53
3
4
5
13
13
14
15
15
15
19
19
18
18
17
16
2
3
4
5
6-1
6
81
83
82
7
8
9
10
10