TCM3500结构图 - 第247页
MODEL TCM-3500Z-2 0109-001 245 Key N o. P AR T No. P AR T NAME Q’ t y REMA RKS NOTE 12-1 1 630 058 2468 BR AC KE T 1 678R--02B-108 2 630 001 0237 W AS HE R 2 BW6 3 411 1 41 30 01 WASHER SPR 6 2 SW6 4 630 000 7916 BO L T …

MODEL TCM-3500Z-2
0109-001
244
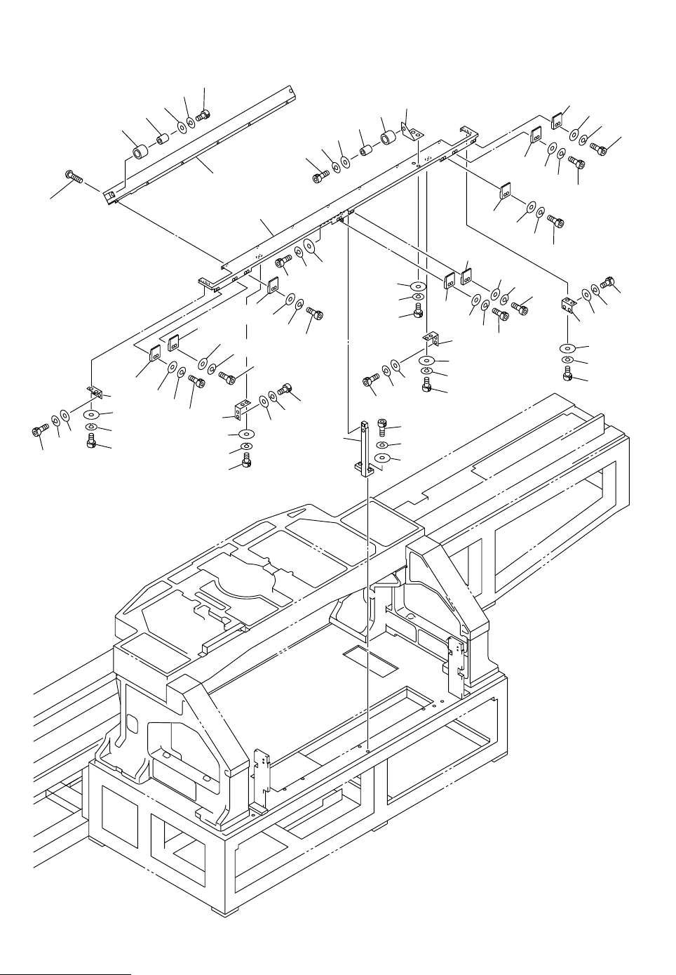
ࠞࡃㇱ COVER SECTION
Fig.12-1 ᚻߔࠅ Handrail
11
34
30
30
31
31
32
32
33
33
12
30
31
30
31
31
32
33
33
32
32
33
33
41
42
30
30
30
30
31
31
31
31
32
32
32
32
33
33
33
33
33
33
32
30
41
42
43
44
45
45
13
14
15
35
35
43
43
44
45
45
7
10
10
9
8
13
14
15
16
18
17
30
30
31
31
32
33
6
10
10
9
8
6
13
13
14
15
15
10
9
8
10
10
9
8
7
13
14
15
13
13
14
14
15
1
2
3
4
Fig.12-1
TCM-3500Z-2

MODEL TCM-3500Z-2
0109-001
245
Key No. PART No. PART NAME Q’ty REMARKS
NOTE
12-1
1 630 058 2468 BRACKET 1 678R--02B-108
2 630 001 0237 WASHER 2 BW6
3 411 141 3001 WASHER SPR 6 2 SW6
4 630 000 7916 BOLT,HEX-SCT 2 M6X30
6 630 058 8644 BRACKET 2 678R--02B-112
7 630 050 7492 BRACKET 2 678R--02B-113
8 411 141 4107 WASHER V 5X10X1 8 FW5
9 411 141 6705 WASHER SPR 5 8 SW5
10 630 000 7756 BOLT,HEX-SCT 8 M5X12
11 630 064 8768 COVER(BC) 1 678R--02B-110
12 630 064 8751 BRACKET 1 678R--02B-106
13 630 001 0220 WASHER 10 BW5
14 411 141 6705 WASHER SPR 5 10 SW5
15 630 000 7756 BOLT,HEX-SCT 10 M5X12
16 630 001 0220 WASHER 2 BW5
17 411 141 6705 WASHER SPR 5 2 SW5
18 630 000 7756 BOLT,HEX-SCT 2 M5X12
30 630 030 0031 MECH PARTS(BRACKET) 8 678R--02H-013
31 411 141 4107 WASHER V 5X10X1 16 FW5
32 411 141 6705 WASHER SPR 5 16 SW5
33 630 000 7763 BOLT,HEX-SCT 16 M5X16
34 630 065 7326 COVER 1 678R--02B-107
35 411 113 9109 SCR TRS 5X10 6 M5X10 TRS
41 630 028 9909 MECH PARTS(URETHANES) 2 678R--02H-004
42 630 038 9698 COLLAR 2 678R--02B-105
43 411 141 4305 WASHER V 6X12.5X1.6 2 FW6
44 411 141 3001 WASHER SPR 6 2 SW6
45 630 000 7916 BOLT,HEX-SCT 2 M6X30

MODEL TCM-3500Z-2
0109-001
246
ࠞࡃㇱ COVER SECTION
Fig.12-2 ᧄࠞࡃ Body Cover
1
2
3
4
13
8
7
32
32
31
21
22
23
23
24
24
27
26
26
11
11
28
28
14
14
14
14
5
9
30
29
29
30
30
See Fig.1-2
See Fig.1-2
Key No.58
Key No.58
12
10
10
41
41
42
42
43