Ceramic substrate centering unit_20211119_083531 - 第5页
Ceramic substrate centering unit Page 5 / 5 19.11.2021 Pos. Item no. Description Part marking 32 00318172-01 END STOPPER X-DIRECTION 33 00095471-01 PLAIN WASHER A 3.2-140HV-ST 34 00619842-01 PARALLEL PIN 3M5*10 35 003181…

Ceramic substrate centering unit
Page 3 / 5 19.11.2021

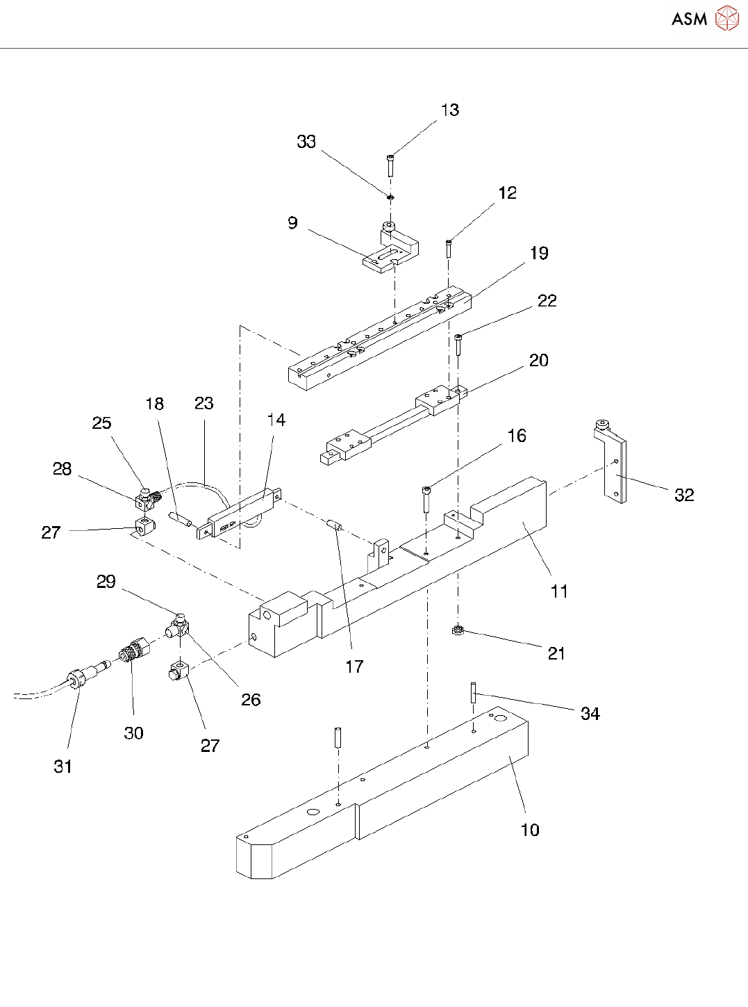
Ceramic substrate centering unit
Page 4 / 5 19.11.2021
Pos. Item no. Description Part marking
00116814-02 CERAMIC SUBSTR.CENTER. SIPLACE
LP-HANDLING 2
2 00317201-01 ROCKER
3 00317202-01 ROCKER ACTUATOR
00317203-01 CLAMPING UNIT
5 00317205-01 PCB GUIDE, SHORT
6 00317206-01 BEARING AXIS OUTSIDE
7 00317207-01 ROCKER HOUSING
8 00322484-01 SLIDE UNIT X-DIRECTION
9 00318169-01 MOVABLE STOPPER X-DIRECTION
10 00322480-01 SUPPORT RAIL
11 00322485-01 BASE UNIT
12 00845005-01 SOCKET HEX SCREW M2X10 DIN
912 8.8
13 00845015-01 HEXAGON SOCKET HEAD CAP
SCREW M3 X 10-8.8
14 02100111-01 FLAT CYLINDER TYPE EZH-2.5/9-10 Spare Part
16 00845030-01 HEXAGON SOCKET HEAD CAP
SCREW
17 00619852-01 PARALLEL PIN 4M5 X 10-ST
18 00619847-01 PARALLEL PIN 3M5 X 20-ST
19 00317247-01 PARTIAL RAIL, MOVABLE STOPPER
20 00317230-01 RECIRCULATING BALL UNIT RSR7M
MINIATURE LM
21 00317243-01 INSERT NUT M2
22 00317244-01 HEXAGON SOCKET HEAD CAP
SCREW M2 X 16-A2
23 00201325-01 PLASTIC HOSE PL-3 PE
25 00047801-01 HOLLOW SCREW WITH THROTTLE
RELIEF VALVE M5 MS
26 00317250-01 RING CONNECTOR SINGLE M5
27 00317252-01 SWIVEL SCREW-FITTING M5
28 00047804-01 RING SUPPORT SINGLE FOR
THROTTLE M5
29 00322339-01 HOLLOW SCREW WITH THROTTLE
RELIEF VALVE M5 MS
30 00200242-01 COUPLER SOCKET SPARE PART
31 24000299-01 COUPLER PLUG KS-PK-3-M5

Ceramic substrate centering unit
Page 5 / 5 19.11.2021
Pos. Item no. Description Part marking
32 00318172-01 END STOPPER X-DIRECTION
33 00095471-01 PLAIN WASHER A 3.2-140HV-ST
34 00619842-01 PARALLEL PIN 3M5*10
35 00318145-01 PROXIMITY SWITCH: CERAMIC
SUBSTRATE CENTERING
36 00318147-01 CABLE: VALVE CERAMIC
SUBSTRATE CENTERING
37 00318173-01 GUIDE RIGHT SIDE (COMPLETE)
38 00318174-01 HOLDER FOR PRESSURE ELEMENT,
COMPLETE
39 00317212-01 PCB-HOLD-DOWN ANGLE Spare Part
40 00322481-01 HOLD DOWN DEVICE, LEFT Spare Part
41 00322482-01 HOLD DOWN DEVICE, RIGHT Spare Part
02100461-01 3/2-WAY VALVE W.PLUG
*S:324059S01
43 00619823-01 DIN 6325 - 2M5 X 8-ST
00305385-01 QUICK SCREW CONNECTION STANDARD PARTS
45 00201241S01 ADJUSTING SHIM 3*6*0,5 DIN 988
46 00303193-01 DIN912-M3 X 8-A2-70
47 00095303-01 SLOTTED COUNTERSUNK HEAD
SCREW
48 00095301S01 COUNTERSUNK SCREW
DIN965-M2X6-4.8
49 00200344-01 PARALLEL PIN 3H8*6 A2
50 00317253-01 COMPRESSION SPRING 0.4*4.4*16.6
V2A
51 00317255-01 PARALLEL PIN 3 H8 X 12-ST
52 00200309-01 STRIP
53 00200335S01 BALL BEARING 3*8*3 619/3-2Z WEAR PART
54 00326028-01 PROX.SWITCH CERAMIC SUBSTRATE
CENTERING UNIT 1
55 00326029-01 VALVE CERAMIC SUBSTRATE
CENTERING UNIT 1
56 00326049-01 PROX.SWITCH CERAMIC SUBSTRATE
CENTERING UNIT 2
57 00326051-01 VALVE CERAMIC SUBSTRATE
CENTERING UNIT 2
Powered by TCPDF (www.tcpdf.org)