DT401-F - 第160页
7 ラインカ メラ Line Camera パー ツレイ アウト Kit No. キ ット 品番 Kit Name キ ット 名称 KXFX036BA00 セクション No . PARTS LAYOUT Section No. - - S35 ( KKXFX036BA00-05 )

Ref
No.
Remarks
R
1
Q'ty
6-D
下
流延長
コンベア:305mm
Downstream Extension Conveyor:305mm
イラスト
No.
Part No.
品 名品番 数量
R
2
パーツリスト
Kit N
o
.
キット品
番
Kit Name
キット名称
N610003227AA
Part Name
備 考
セクションNo.
PARTS LIST
Section No.
R
3
COVER
1
1 N210006399AA
S
COVER
1
2 N210006400AB
COVER
1
3 N210006401AA
PLATE
1
4 N210028743AB
COVER
1
5 N210024437AA
S
COVER
1
6 N210009673AA
S
COVER
1
7 N210009675AA
S
BRACKET
1
8 N210009676AA
BRACKET
1
9 N210009677AA
S
NUT-PLATE
1
10 KXFB03UPA00
NUT-PLATE
1
11 N210004525AA
SCREW
19
12 N510018282AA
Cross recessed Truss head machine screw M4X8-4.8 A2J (Trivalent)
HINGE
2
13 KXF0DXYXA00 BP-19-1-2-B
RUBBER-CUSHION
2
14 KXF01E2AA00 C-30-CS-4
NUT
4
15 KXF0DX7PA00 SQN4-32-20
CAP
2
16 KXF0DLNAA01 CP-328-B-4-ivory(DA KXF0DLNAA01)
BOLT
2
17 N510017616AA
Hexagon socket Flat head bolt M4X12-10.9 A2J (Trivalent)
BOLT
8
18 N510017517AA
Hexagon socket button head screw M4X12-10.9 A2J (Trivalent)
SW(1000mm)
1
19 N610002227AA
S
PULL
1
20 KXF0DYFRA00 AP-291-3
S34
--
( KN610003227AA-21-4 )

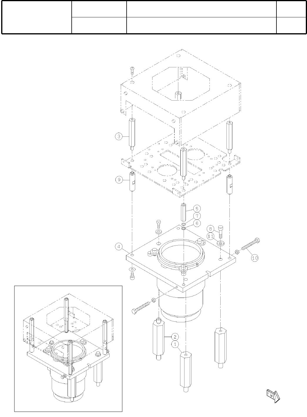
7
ラインカメラ
Line Camera
パーツレイアウト
Kit No.
キット
品番
Kit Name
キット
名称
KXFX036BA00
セクション
No
.
PARTS LAYOUT
Section No.
-
-
S35
( KKXFX036BA00-05 )

Ref
No.
Remarks
R
1
Q'ty
7
ラインカメラ
Line Camera
イラスト
No.
Part No.
品 名品番 数量
R
2
パーツリスト
Kit No.
キット
品番
Kit Name
キット名称
KXFX036BA00
Part Name
備 考
セクション
No
.
PARTS LIST
Section No.
R
3
POST
2
1 KXFB02NHA00
POST
1
2 KXFB02NJA01
POST
4
3 KXFB022ZA00
LENS
1
4 KXF0DVFAB01 KOM-F4IR(DA KXF0DVFAB01)
SPACER
2
5 N510008558AA ASF-535E
WASHER
2
6 KXF0BCCAA00 MSRB5.5-1.0
WASHER
2
7 KXF0CJ9AA00 MSRB5.5-0.5
BOLT
2
8 KXFB04K8A00
POST
2
9 KXFB04LDA00
BOLT
2
10 N510018857AA
Hexagon head bolt Best class M4X30-6g 4T A2J (Trivalent) Full thread
WASHER
2
11 KXF0DY0GA00 WSSB13-6-3
S36
-
-
( KKXFX036BA00-05 )