N7201A052C - 第125页
Intelligent Tape Feeder 操作手册 5.2 编带导轨 ( 接头检测传感器部 ) INTF-C-OMB05-A01-02 Page 5-9 5.2.1 简易的调整方法 不使用量规的调整方法。 1. 用精密螺丝刀拧松调整螺钉 (M2.5) 使编带导轨对准供料器框架上的标记。 2. 使导轨对准框架上的标记。 名称 接头检测传感器 标记 ( 在框架上有 2 处钻孔 ) 对照孔 ( 编带导轨孔 ) 编带导…

Intelligent Tape Feeder
操作手册
5.2
编带导轨
(
接头检测传感器部
)
Page 5-8 INTF-C-OMB05-A01-02
使用工具
在调整编带导轨的宽度时请使用下列工具和量规。
精密的螺丝刀
(
,
公称
No.1, M2.5
用
)
INTF-020E
选择与上述调整螺钉孔相吻合的螺丝刀。
贴装工作编带的一段
INTF-021E
5 cm
左右
编带宽度量规
(
)
INTF-022E
INTF-023E
INTF-024E
INTF-025E
12 mm/16 mm
用
24 mm/32 mm
用
44 mm/56 mm
用
72 mm
用
(
)
在简易调整时,不需要。
关于量规,请通过件号
KXFW1KSAA
进行咨询。
72 mm
、
88 mm
、
104 mm
用的量规,请在购买时的状态下使用。

Intelligent Tape Feeder
操作手册
5.2
编带导轨
(
接头检测传感器部
)
INTF-C-OMB05-A01-02 Page 5-9
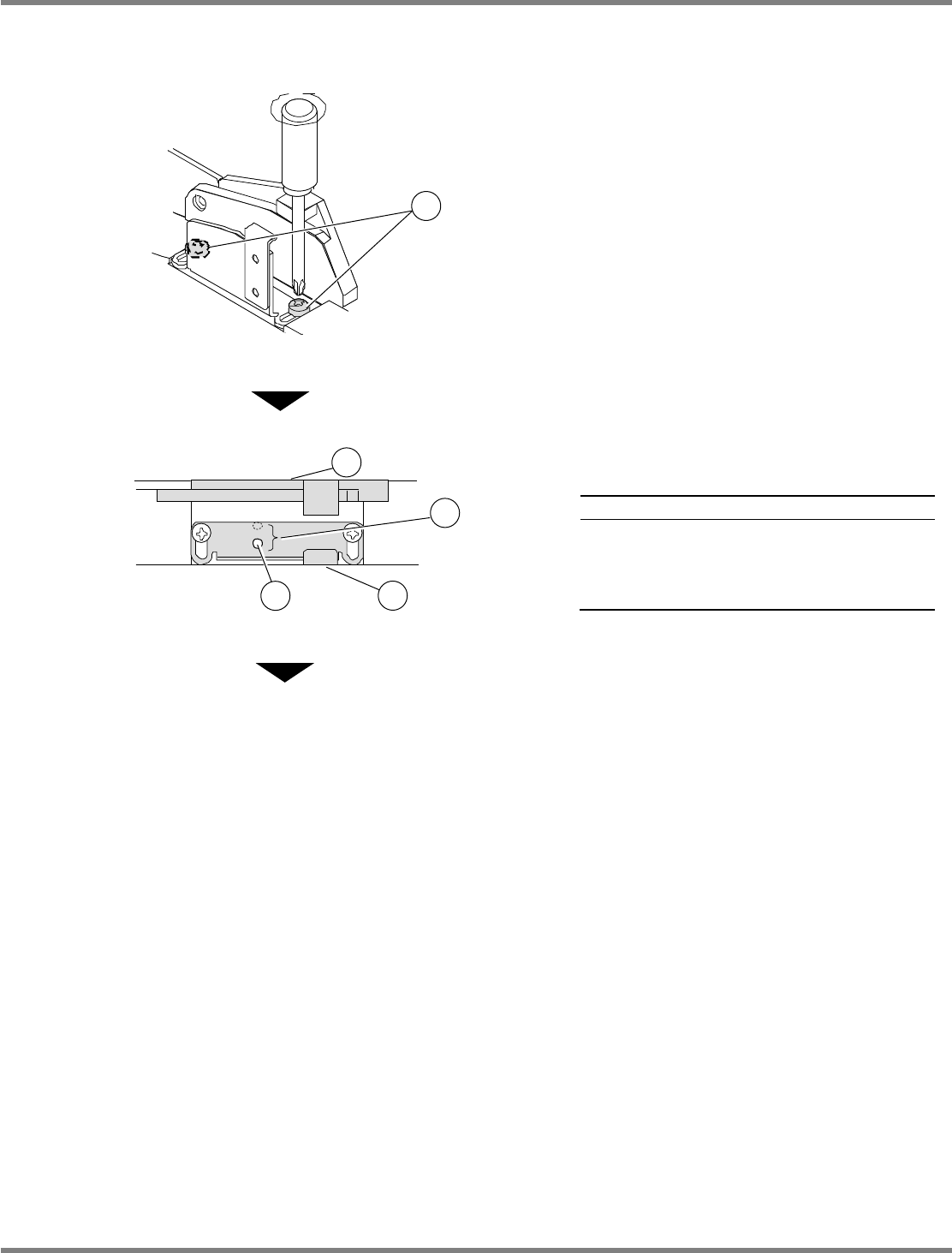
5.2.1
简易的调整方法
不使用量规的调整方法。
1.
用精密螺丝刀拧松调整螺钉
(M2.5)
使编带导轨对准供料器框架上的标记。
2.
使导轨对准框架上的标记。
名称
接头检测传感器
标记
(
在框架上有
2
处钻孔
)
对照孔
(
编带导轨孔
)
编带导轨
下一页
INTF-026E
1
INTF-027E
1
4
3
2

Intelligent Tape Feeder
操作手册
5.2
编带导轨
(
接头检测传感器部
)
Page 5-10 INTF-C-OMB05-A01-02
【
12 mm/16 mm, 24 mm/32 mm, 44 mm/56 mm
编带供料器】
对准内侧的标记
安装
12 mm
宽的编带时
安装
24 mm
宽的编带时
安装
44 mm
宽的编带时
对准外侧标记
安装
16 mm
宽的编带时
安装
32 mm
宽的编带时
安装
56 mm
宽的编带时
【
72 mm
编带供料器】
标记只有
1
处
3.
用精密螺丝刀拧紧调整螺钉。
4.
如图所示穿过工作编带,并确认未卡
住、松动、脱落等。
INTF-030E
INTF-028E
INTF-029E