Nozzle changer CP12 S25_20211123_100906 - 第10页
Nozzle changer CP12 S25 Page 10 / 11 23.11.2021 Pos. Item no. Description Part marking 1 00353744-04 NOZZLE CHANGER CP12 S25 2 00353748-03 SUPPORT PLATE PW CP12 3 00353747-01 SLIDE RAIL PW CP12 4 00353746-01 SLIDE RAIL S…

Nozzle changer CP12 S25
Page 9 / 11 23.11.2021

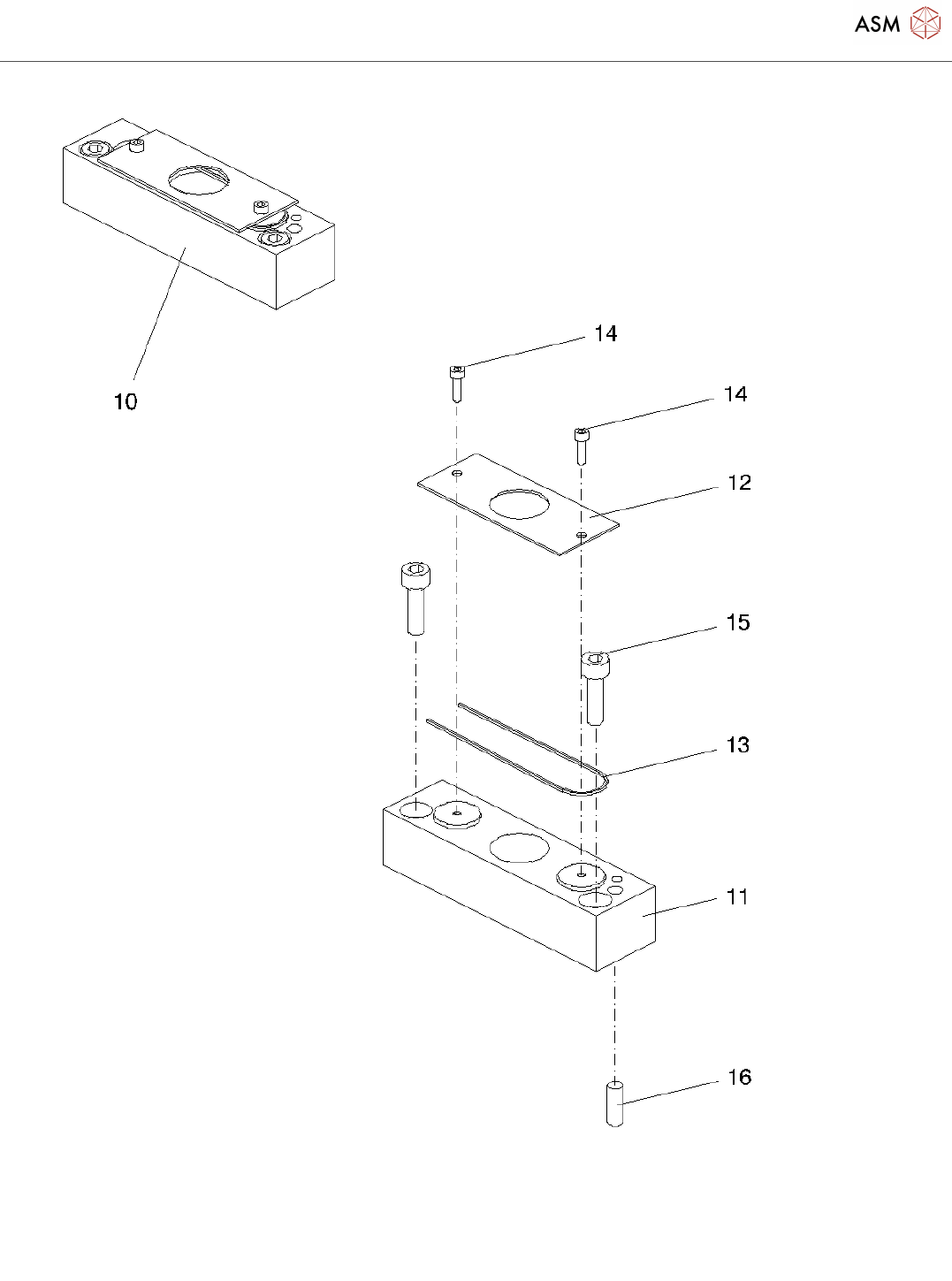
Nozzle changer CP12 S25
Page 10 / 11 23.11.2021
Pos. Item no. Description Part marking
1 00353744-04 NOZZLE CHANGER CP12 S25
2 00353748-03 SUPPORT PLATE PW CP12
3 00353747-01 SLIDE RAIL PW CP12
4 00353746-01 SLIDE RAIL SHORT PW CP12
5 00353745-01 SLIDE RAIL DRIVE PW CP12
6 00353731-01 CLAMP RAIL SHORT, FRONT
7 00354168-02 CLAMP RAIL SHORT, BACK
8 00354167-01 CLAMP RAIL FRONT
9 00354166-02 CLAMP RAIL BACK
10 00323049S02 NOZZLE REJECT SP6/12 (S20) SPARE PART
11 00323050-03 REJECT STATION SP6/12
12 00323051-03 LIMIT PLATE SP6/12
13 00323052S01 DETACH WIRE Tool
14 00306777-01 HEXAGON SOCKET HEAD CAP
SCREW
15 00329135-01 DIN912-M3 X 14-A2-70
16 00619822-01 DIN 6325 - 2M5 X 6-ST
17 00353734-01 DRIVE COMPLETE PW CP12
18 00353719-01 MOUNT FOR SWIVELING DRIVE
19 00353733-01 ECCENTRIC PW CP12
20 00353007-01 SWIVEL DRIVE CRB1BW SPARE PART
21 00327089-01 THROTTLE VALVE GRLA-M5-PK3 B
22 24000053-01 BALL-BEARING WEAR PART
23 00317989-01 SET SCREW M3*6
24 00201105-01 HEXAGON SOCKET HEAD CAP
SCREW M4*35
25 00323044-06 NOZZLE MAGAZINE 7/9XX SPARE PART
26 00336549-01 BRACKET, BACK SPARE PART
27 00336550-02 BRACKET, FRONT SPARE PART
28 00341642-01 SLEEVE AS PER DRAWING SPARE PART
30 00354164-03 BOARD HOLDER
31 00306438-01 DISTANCE BOLT TYPE B I/A-
M3X50-ST ZN
32 00317840-02 CHECK PLATE
33 00343667-01 DISTANCE BOLT TYPE B I/A-
M3X28-ST CHRO

Nozzle changer CP12 S25
Page 11 / 11 23.11.2021
Pos. Item no. Description Part marking
34 00354217-01 DISTANCE BOLT M8*80 I/A 6KT10
YELLOW CHROM.
35 00321948-01 HEXAGON NUT M3
36 00322479-01 CROSS RECESSED RAISED CHEESE
HEAD SCREW
37 00323077S05 REJECT BOX SPARE PART
38 00329135-01 DIN912-M3 X 14-A2-70
39 00353738-01 SLIDING BLOCK (MILLED VERSION)
40 00313069-01 DIN912-M4 X 10-A2-70
42 00095614-01 DIN 6325 - 3M5 X 18-ST Spare Part
43 00354460-01 PARALLEL PIN 6M5*22
44 00328906-01 DIN912-M3 X 5-A2-70
45 00331810-03 SLIDING GUIDE
46 00334206S01 VALVE COMPLETE SPARE PART
47 00310021-01 SILENCER U-M5 NR4645 STANDARD PARTS
48 00334212-01 KABEL: STEUERPL.
PIPETTENWECHS. - VENTIL
49 00317353S02 CONTROL UNIT NOZZLE CHANGER SPARE PART
50 00310516-01 COUNTERSUNK SCREW M3*10
51 00316889-01 HEXAGON SOCKET HEAD CAP
SCREW M4*8 A2
52 00095316-01 SLOTTED COUNTERSUNK HEAD
SCREW
53 00325349-01 DIN912-M3 X 16-A2-70
54 00335429-01 COUNTERSUNK SCREW M3 X 12-A2
55 00328906-01 DIN912-M3 X 5-A2-70
56 00201460-01 HEXAGON SOCKET HEAD CAP
SCREW
57 00334552S01 HOSE 4*2,5 PUR TU 0425 BU-20 CONSUMABLE
58 00334552S01 HOSE 4*2,5 PUR TU 0425 BU-20 CONSUMABLE
59 00357127-03 SUPPORT COMPLETE FOR PW S25
Powered by TCPDF (www.tcpdf.org)