00198381-03_UM_SIPLACE-CA4-V2_DE - 第182页
4 Aufstellen und Inbetriebnahme Betriebsanleitung SIPLACE CA4 V2 4.3 Den Bestückautomaten aufstellen Ab Softwareversion 713.0 Ausgabe 12/2019 182 4.3.8.2 Den Bestückautomaten mit dem Luf tkissen-T ransportsystem ausricht…

Betriebsanleitung SIPLACE CA4 V2 4 Aufstellen und Inbetriebnahme
Ab Softwareversion 713.0 Ausgabe 12/2019 4.3 Den Bestückautomaten aufstellen
181
4
Abb. 4.3 - 12 Mittleren Maschinenfuß ausrichten und kontern
Kontrollieren Sie noch einmal die exakte Ausrichtung des Bestückautomaten mit der Maschi-
nenwasserwaage.
Ziehen Sie mit dem Gabelschlüssel SW65 die Kontermutter M24 (Pos. 3) fest.
(1) Distanzstück
(2) Mittlerer Maschinenfuß
(3) Kontermutter M24

4 Aufstellen und Inbetriebnahme Betriebsanleitung SIPLACE CA4 V2
4.3 Den Bestückautomaten aufstellen Ab Softwareversion 713.0 Ausgabe 12/2019
182
4.3.8.2 Den Bestückautomaten mit dem Luftkissen-Transportsystem ausrichten
Legen Sie die vier Luftkissen des Luftkissen-Transportsystems unter die Auflagepunkte am
Maschinenrahmen.
Heben Sie den Bestückautomaten an und richten Sie ihn zur Linie aus.
Kontrollieren Sie den Abstand zum Leiterplatten-Transportsystems der benachbarten Be-
stückautomaten. Er soll zwischen 1 mm und 3 mm betragen.
Senken Sie den Bestückautomaten ab.
4
Abb. 4.3 - 13 Auflagepositionen für das Luftkissen-Transportsystem
(1) 4 Auflagepunkte für das Luftkissen-Transportsystem
(1)
(1)

Betriebsanleitung SIPLACE CA4 V2 4 Aufstellen und Inbetriebnahme
Ab Softwareversion 713.0 Ausgabe 12/2019 4.3 Den Bestückautomaten aufstellen
183
4.3.8.3 Bodenanker montieren (optional)
Bei Bedarf kann der Bestückautomat mit einem Bodenanker vor Erschütterungen (z. B. bei Erd-
beben) gegen Verrutschen gesichert werden.
Montieren Sie an jedem Maschinenfuß einen Bodenanker.
4
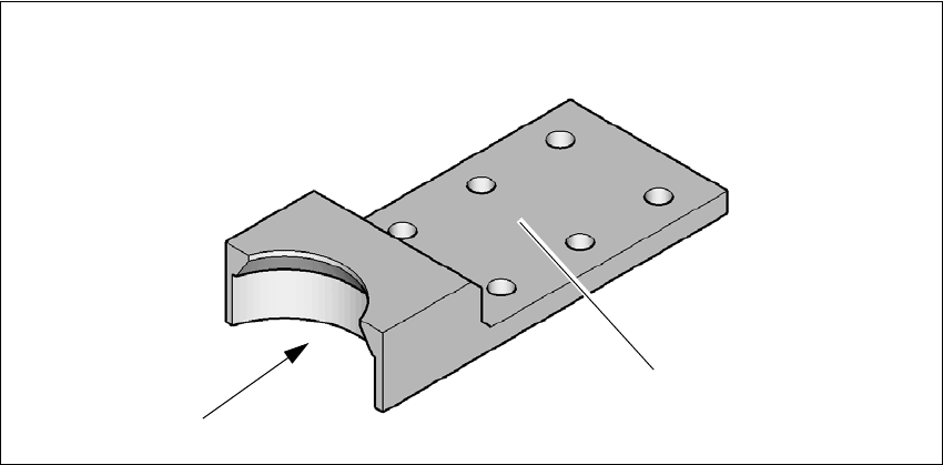
Abb. 4.3 - 14 Bodenanker
Legen Sie den Bodenanker (1) über den Maschinenfuß.
Schrauben Sie den Bodenanker an den sechs Bohrungen (2) mit geeignetem Befestigungs-
material am Boden fest.
4.3.9 Transportsicherungen entfernen
Die Transportsicherungen sind auf den Linearführungen aufgeschraubt. Jedes Portal ist mit zwei
Transportsicherungen an der X-Achse und Y-Achse gesichert.
Entfernen Sie sämtliche Transportsicherungen von den Portalachsen.
Wird der SIPLACE Bestückautomat transportiert, müssen die Transportsicherungen zum
Transport montiert werden.
4.3.10 Korrosionsschutzmittel von den Führungsschienen entfernen
Die Bestückautomaten wurden zur Auslieferung mit einem Korrosionsschutzmittel behandelt.
(2)
(1)