Panasonic NPM-W PartList.pdf - 第252页
16-D 交 換 台車(30連):NPM-W Feeder Cart(30-Slot):NPM-W パーツレイアウト Ki t N o . キット 品番 Kit N am e キット名称 N610119860AA セクションNo. PARTS LAYOUT Section No. - - O59 ( KN610119860AA-15-4 )

Ref
No.
Remarks
R
1
Q'ty
16-C
交
換
台車(30連):NPM-W
Feeder Cart(30-Slot):NPM-W
イラスト
No.
Part No.
品 名品番 数量
R
2
パーツリスト
Kit N
o
.
キット品
番
Kit Name
キット名称
N610119860AA
Part Name
備 考
セクションNo.
PARTS LIST
Section No.
R
3
BUSH
2
1 N210184998AA
SHAFT
2
2 N210143819AB
COLLAR
4
3 N210184997AA
STOPPER
2
4 N210146558AA
WASHER
4
5 N210118285AA
WASHER
4
6 N210118289AA
WASHER
4
7 N210118290AA
BLOCK
2
8 N210105678AA
BRACKET
1
9 N210184999AB
COVER
1
10 N210143852AA
BRACKET
2
11 N210143857AA
COVER
1
14 N210143904AA
COVER
1
15 N210143910AB
COVER
1
16 N210143909AB
BRACKET
1
17 N210143908AA
FRAME
2
18 N510057036AA SFF-364 L=413 TR
NUT
32
19 KXF0ATGAA00 SFB-002
CAP
32
20 KXF0ATFAA00 SFA-906
BOLT
2
21 N510017189AA
Hexagon socket head cap screw M12X30-10.9 A2J (Trivalent)
BOLT
2
22 N510032464AA MMSB13-15
BOLT
6
23 N510022750AA
Hexagon socket head cap screw M4X10-10.9 A2S (Trivalent)
WASHER
6
24 N510018498AA
Round finish plain washer 4 10H A2S (Trivalent)
COUPLER
1
25 N510056986AA MA-MS-PCL4-06(CS35877-0)
BOLT
4
26 N510002012AA SRBS-M4X16
BOLT
2
27 N510017429AA
Hexagon socket head cap screw M6X12-10.9 A2S (Trivalent)
WASHER
4
28 N510018502AA
Round finish plain washer 6 10H A2S (Trivalent)
PLATE
1
29 N210184994AA
SPACER
4
30 N210185056AA
PLATE
1
31 N210184995AB
PLATE
1
32 N210184996AB
PLATE
2
33 N210185001AA
O58
--
( KN610119860AA-15-3 )

16-D
交
換
台車(30連):NPM-W
Feeder Cart(30-Slot):NPM-W
パーツレイアウト
Ki
t
N
o
.
キット
品番
Kit Name
キット名称
N610119860AA
セクションNo.
PARTS LAYOUT
Section No.
--
O59
( KN610119860AA-15-4 )

Ref
No.
Remarks
R
1
Q'ty
16-D
交
換
台車(30連):NPM-W
Feeder Cart(30-Slot):NPM-W
イラスト
No.
Part No.
品 名品番 数量
R
2
パーツリスト
Kit N
o
.
キット品
番
Kit Name
キット名称
N610119860AA
Part Name
備 考
セクションNo.
PARTS LIST
Section No.
R
3
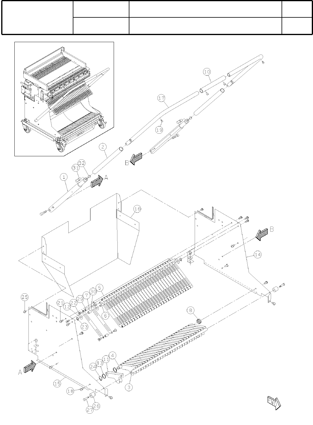
ARM
2
1 N210181432AA
GUIDE
2
2 KXFB02EVA01
SHAFT
1
3 N210143813AB
SHAFT
1
4 N210143814AB
SHAFT
2
5 N210143815AB
SHAFT
1
6 N210143816AB
COLLAR
30
7 N210083925AA
SPRING
1
8 N210110201AA
PIPE
1
10 N210147068AB
GUIDE
30
11 N210083865AB
WASHER
31
12 N210091541AA
COLLAR
31
13 N210098093AC
COVER
1
14 N210143846AD
COVER
1
15 N210143847AD
COVER
1
16 N210143853AB
HANDLE
2
17 N610121353AB
BOLT
14
18 N510042427AA
SSS 003 Hexagon socket button head screw M6X10-10.9 A2S (Trivalent)
SCREW
2
19 N510018055AA
Cross recessed Pan head machine screw M3X5-4.8 A2J (Trivalent)
BOLT
6
21 N510042422AA
SSS 003 Hexagon socket button head screw M5X12-10.9 A2S (Trivalent)
SCREW
120
22 N510018631AA
Cross recessed Countersunk head tapping screw Type-2 with cut-4X8 A2J (
C-RING
2
23 KXF0E1N2A00 1180201-18010
C-RING
1
24 N510032705AA 1180201-18016
BOLT
12
25 N510042423AA
SSS 003 Hexagon socket button head screw M5X6-10.9 A2S (Trivalent)
STOPPER
2
26 N510066653AA AAE20-25
BOLT
2
27 N510032568AA MMSB8-25
SPACER
60
29 N210006937AA
PLATE
60
30 N210071696AB
PIN
2
31 N210181436AA
BOLT
2
32 N510017534AA
SSS 003 Hexagon socket button head screw M4X6-10.9 A2J (Trivalent)
O60
--
( KN610119860AA-15-4 )