Panasonic NPM-W PartList - 第693页
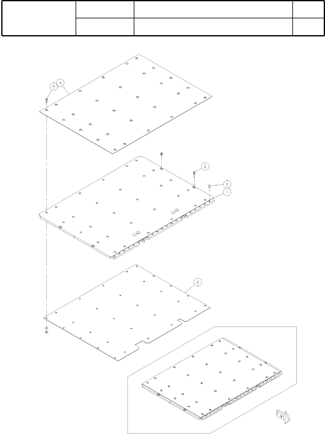
Ref No. Remark s R 1 Q'ty 159 基板下受けブロック(自動交換)_シングルコンベア:NPM-W Board Support Block(Automati c Change)_Single Convey or:N イラスト No. Part No. 品 名 品番 数量 R 2 パーツリスト Kit N o . キット品 番 Kit Name キット名称 N610145049AB Part Nam e 備…

159
基板下受けブロック(自動交換)_シングルコンベア:NPM-W
Board Support Block(Automatic Change)_Single Conveyor:N
パーツレイアウト
Ki
t
N
o
.
キット
品番
Kit Name
キット名称
N610145049AB
セクションNo.
PARTS LAYOUT
Section No.
--
O499
( KN610145049AB-00 )

Ref
No.
Remarks
R
1
Q'ty
159
基板下受けブロック(自動交換)_シングルコンベア:NPM-W
Board Support Block(Automatic Change)_Single Conveyor:N
イラスト
No.
Part No.
品 名品番 数量
R
2
パーツリスト
Kit N
o
.
キット品
番
Kit Name
キット名称
N610145049AB
Part Name
備 考
セクションNo.
PARTS LIST
Section No.
R
3
PLATE
1
1 N210170512AB
PIN
4
2 N210173578AA
PLATE
1
3 N610152322AA
PLATE
1
4 N210172930AC
BOLT
30
5 N510017610AA
Hexagon socket Flat head bolt M3X10-10.9 A2J (Trivalent)
BOLT
21
6 XVE3B4VW Hexagon socket head cap screw M3X4-A2-70
O500
--
( KN610145049AB-00 )

160
下受けピン自動交換用ストッパー(シングルコンベア用):NPM-W
Stopper Unit(Support Pin Automatic Change:Single Conveyor
パーツレイアウト
Ki
t
N
o
.
キット
品番
Kit Name
キット名称
N610149812AA
セクションNo.
PARTS LAYOUT
Section No.
--
O501
( KN610149812AA-00 )