Panasonic NPM-W PartList.pdf - 第93页
Ref No. Remark s R 1 Q'ty 19 全 体 カバー制 御 :NPM-W W hole Cover (H):NPM -W イラスト No. Part No. 品 名 品番 数量 R 2 パーツリスト Kit N o . キット品 番 Kit Name キット名称 N610117727AA Part Name 備 考 セクションNo. PARTS LIST Section No. R 3 SW ITCH 2 …

19
全
体
カバー制
御
:NPM-W
Whole Cover (H):NPM-W
パーツレイアウト
Ki
t
N
o
.
キット
品番
Kit Name
キット名称
N610117727AA
セクションNo.
PARTS LAYOUT
Section No.
--
S69
( KN610117727AA-03 )

Ref
No.
Remarks
R
1
Q'ty
19
全
体
カバー制
御
:NPM-W
Whole Cover (H):NPM-W
イラスト
No.
Part No.
品 名品番 数量
R
2
パーツリスト
Kit N
o
.
キット品
番
Kit Name
キット名称
N610117727AA
Part Name
備 考
セクションNo.
PARTS LIST
Section No.
R
3
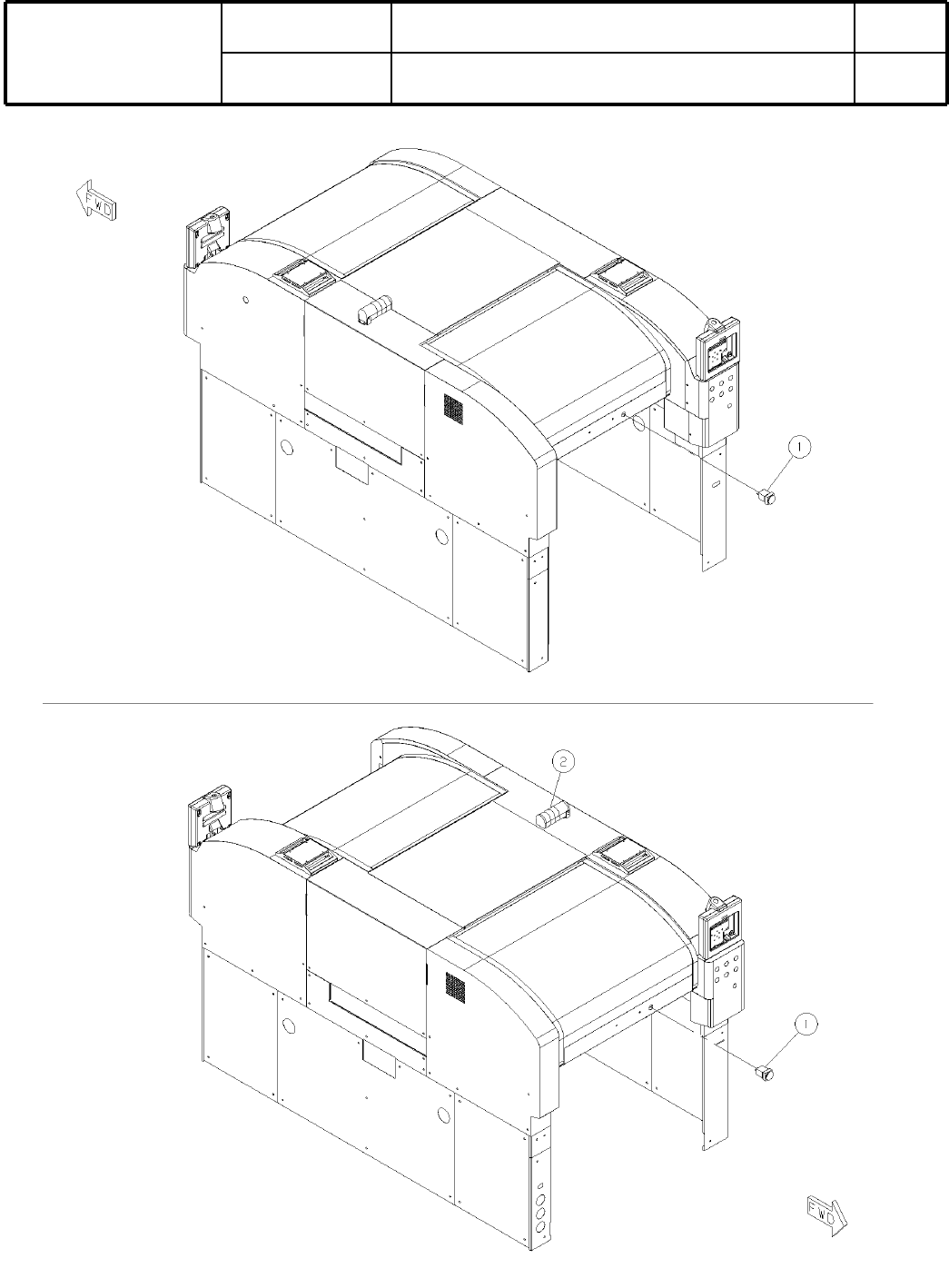
SWITCH
2
1 N510055099AA LW6L-M1C13VG-BC-TK2504-A
SIGNAL-TOWER
1
2 N510036333AB LPUKB-24W-3
S70
--
( KN610117727AA-03 )

20-A
付
属
品(共通):NPM-W
Attachment:NPM-W
パーツレイアウト
Ki
t
N
o
.
キット
品番
Kit Name
キット名称
N610122720AA
セクションNo.
PARTS LAYOUT
Section No.
--
S71
( KN610122720AA-03-1 )