Basic assembly PPW 2 array W5 magazine_20211124_101156 - 第4页
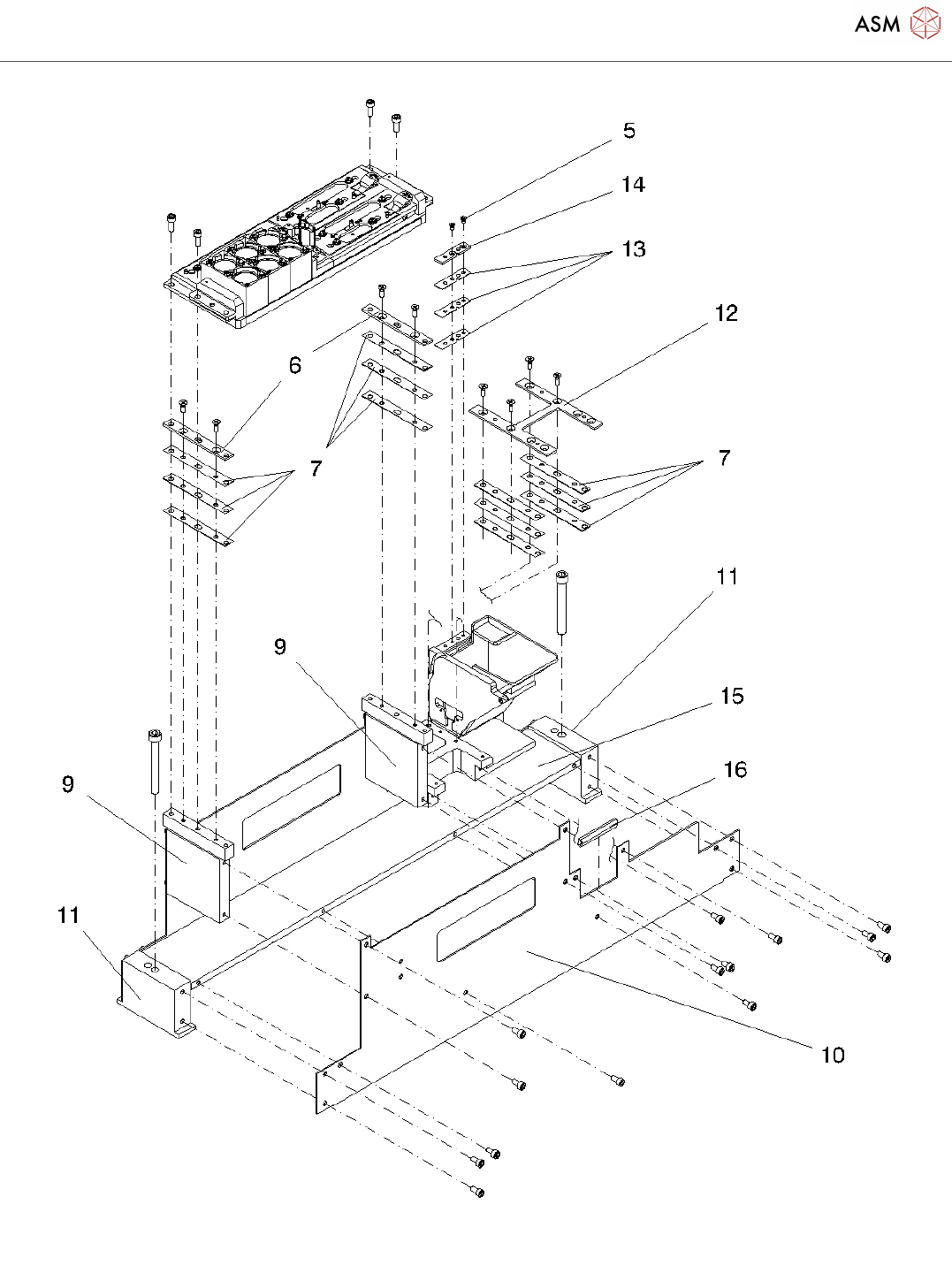
Basic assembly PPW 2 array W5 magazine Page 4 / 4 24.11.2021 Pos. Item no. Description Part marking 1 03089888-03 BASIC ASSEMBLY PPW 2 ARRAY/W5 MAGAZINE SPARE PART 2 03104195-01 BOX SPS / PPW2 CMPL. 3 03104171-01 SUPPORT…

Basic assembly PPW 2 array W5 magazine
Page 2 / 4 24.11.2021

Basic assembly PPW 2 array W5 magazine
Page 3 / 4 24.11.2021

Basic assembly PPW 2 array W5 magazine
Page 4 / 4 24.11.2021
Pos. Item no. Description Part marking
1 03089888-03 BASIC ASSEMBLY PPW 2 ARRAY/W5
MAGAZINE
SPARE PART
2 03104195-01 BOX SPS / PPW2 CMPL.
3 03104171-01 SUPPORT
4 03104020-01 BOX SPS / PPW2
5 03023238-01 ISO 7046-2-M3 X 6-A2-70-H STANDARD PARTS
6 03090664-01 NC DETACHABLE BACKING PLATE
(ISO)
7 03021079-01 NOZZLE CHANGER SHIM PLATE SPARE PART
8 03089892-02 PPW SECOND ARRAY SPS SUPPORT
PLATE
9 03089891-01 PPW SECOND ARRAY BRACKET
10 03089889-03 PPW SECOND ARRAY PLATE
11 03089890-02 PPW SECOND ARRAY FLAT
12 03090087-02 PPW ASP SUPPORT PLATE SECOND
ARRAY
13 03039514-02 SHIM PLATE FOR NOZZLE REJECT
DEVICE
SPARE PART
14 03039517-02 DETACH. BACKING PLATE F.
NOZZLE REJECT D
15 03094363-01 PPW SECOND ARRAY ADD ON
PLATE
16 03098962-01 EDGE PROTECTION PROFILE NC
2ND ROW
00346434S01 EDGE PROTECTION TYPE 4610026
(HAPPICH)
CONSUMABLE
Powered by TCPDF (www.tcpdf.org)