CM400-M Mechanical Parts - 第45页
Ref No. Remarks R 1 Q'ty 2-B 全体 カ バー Whole Cover イラスト No. Part No. 品 名 品番 数量 R 2 パー ツ リ スト Kit No. キ ット 品番 Kit Name キ ット 名称 N610000775AA Part Name 備 考 セクション No . PARTS LIST Section No. R 3 COVER 1 1 N210002208AA S C…

2-B
全体
カバー
Whole Cover
パーツレイアウト
Kit No.
キット
品番
Kit Name
キット
名称
N610000775AA
セクション
No
.
PARTS LAYOUT
Section No.
-
-
M21
( KN610000775AA-05-2 )

Ref
No.
Remarks
R
1
Q'ty
2-B
全体
カバー
Whole Cover
イラスト
No.
Part No.
品 名品番 数量
R
2
パーツリスト
Kit No.
キット
品番
Kit Name
キット名称
N610000775AA
Part Name
備 考
セクション
No
.
PARTS LIST
Section No.
R
3
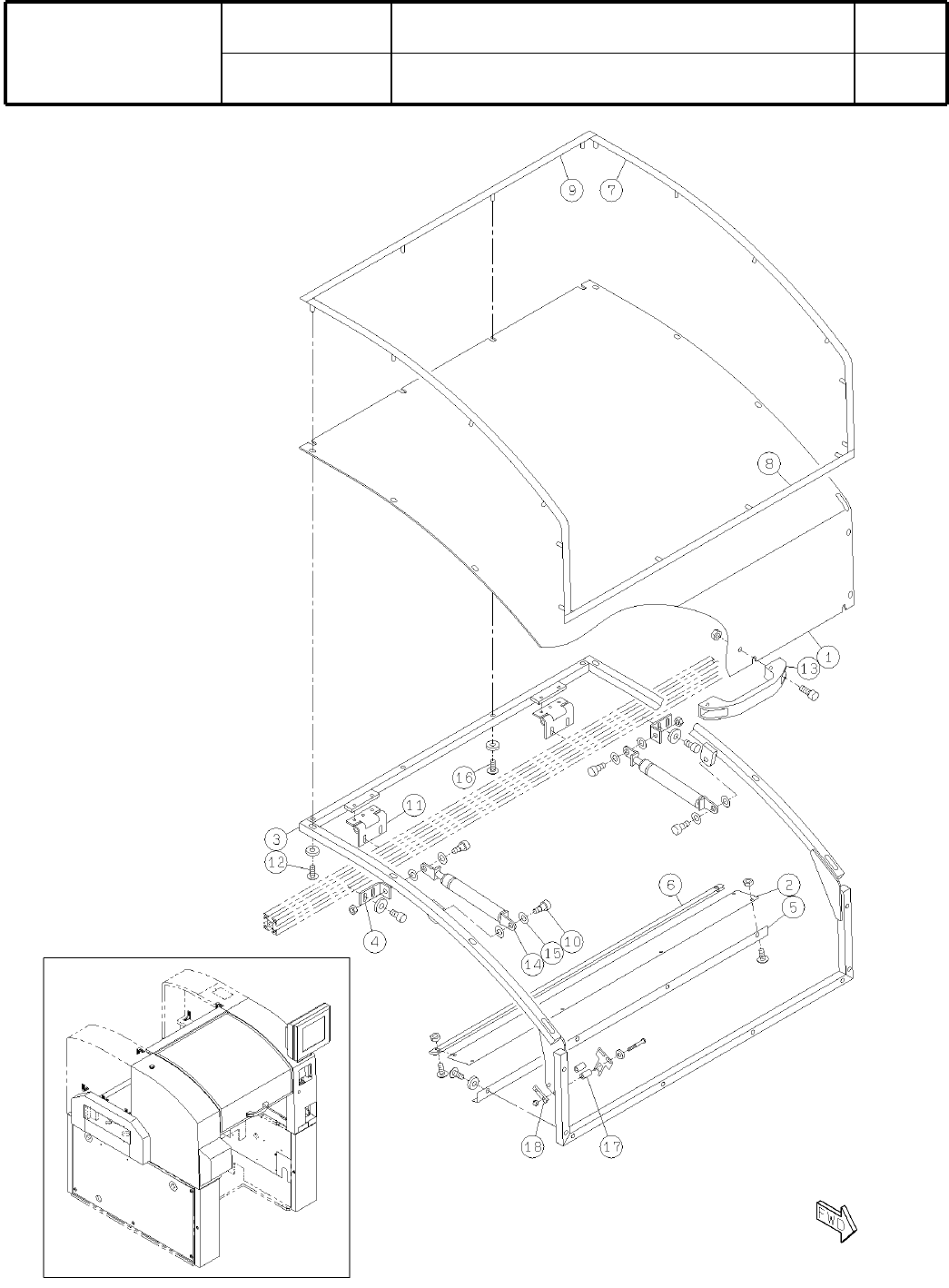
COVER
1
1 N210002208AA
S
COVER
1
2 N210002211AA
S
FRAME
1
3 N210009329AB
S
BRACKET
2
4 N210028759AA
BRACKET
1
5 N210028717AA
S
COVER
1
6 N210028718AA
S
COVER
2
7 N610005447AA
S
COVER
1
8 N610005448AA
S
COVER
1
9 N610005449AA
BOLT
4
10 KXF09KJAA00 MSB10-10
HINGE
2
11 KXF0DKTAA00 B-2-A-11(DA 0DKTA)
SCREW
29
12 N510018258AA
Cross recessed Truss head machine screw M4X10-4.8 A2S (Trivalent)
PULL
1
13 KXF0DX62A00 AP-829-2
GAS-SPRING
2
14 KXF0A3EAA00
S
KMF50-30
WASHER
8
15 N510018506AA
Round finish plain washer (JIS B 1256:1978) 10 10H A2J (Trivalent)
SCREW
1
16 N510018257AA
Cross recessed Truss head machine screw M4X10-4.8 A2J (Trivalent)
SPACER
2
17 N510017099AA CB-415E
NUT
1
18 KXF0DX63A00 SQN4-28-16
M22
-
-
( KN610000775AA-05-2 )

2-C
全体
カバー
Whole Cover
パーツレイアウト
Kit No.
キット
品番
Kit Name
キット
名称
N610000775AA
セクション
No
.
PARTS LAYOUT
Section No.
-
-
M23
( KN610000775AA-05-3 )