CM400-M Mechanical Parts - 第80页
10 ラインカ メラ Line Camera パー ツレイ アウト Kit No. キ ット 品番 Kit Name キ ット 名称 KXFX036BA00 セクション No . PARTS LAYOUT Section No. - - M57 ( KKXFX036BA00-05 )

Ref
No.
Remarks
R
1
Q'ty
9
基板
サイドクランプ
Board Side Clamp
イラスト
No.
Part No.
品 名品番 数量
R
2
パーツリスト
Kit No.
キット
品番
Kit Name
キット名称
KXFX049LA00
Part Name
備 考
セクション
No
.
PARTS LIST
Section No.
R
3
CLAMPER
1
1 KXFB0A3DB00
PLATE
1
2 KXFB0A3FB00
BAR
1
3 KXFB0A3GB00
PLATE
2
4 KXFB03Y5A00
AIR-SLIDE
2
5 N510019323AA MXPJ6-5-X23A
JOINT
2
6 KXF0ABBAA00 UTF4BU
JOINT
2
7 KXF02STAA00 M-3AU-4
JOINT
2
8 KXF02SZAA00 M-5ALU-4
BOLT
4
9 N510017613AA
Hexagon socket Flat head bolt M3X8-10.9 A2J (Trivalent)
GASKET
2
10 KXF02T6AA00 M-5G1
BOLT
3
11 N510017352AA
Hexagon socket head cap screw M4X18-10.9 A2J (Trivalent)
JOINT
2
12 KXF02SSAA00 M-3ALU-4
BOLT
8
13 N510026172AA SEH0305
M56
-
-
( KKXFX049LA00-03 )

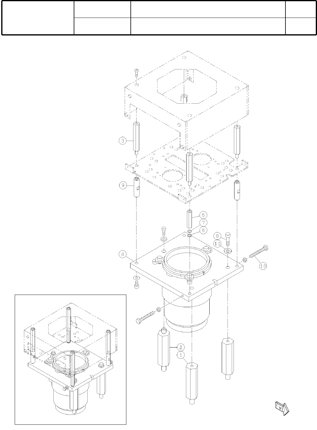
10
ラインカメラ
Line Camera
パーツレイアウト
Kit No.
キット
品番
Kit Name
キット
名称
KXFX036BA00
セクション
No
.
PARTS LAYOUT
Section No.
-
-
M57
( KKXFX036BA00-05 )

Ref
No.
Remarks
R
1
Q'ty
10
ラインカメラ
Line Camera
イラスト
No.
Part No.
品 名品番 数量
R
2
パーツリスト
Kit No.
キット
品番
Kit Name
キット名称
KXFX036BA00
Part Name
備 考
セクション
No
.
PARTS LIST
Section No.
R
3
POST
2
1 KXFB02NHA00
POST
1
2 KXFB02NJA01
POST
4
3 KXFB022ZA00
LENS
1
4 KXF0DVFAB01 KOM-F4IR(DA KXF0DVFAB01)
SPACER
2
5 N510008558AA ASF-535E
WASHER
2
6 KXF0BCCAA00 MSRB5.5-1.0
WASHER
2
7 KXF0CJ9AA00 MSRB5.5-0.5
BOLT
2
8 KXFB04K8A00
POST
2
9 KXFB04LDA00
BOLT
2
10 N510018857AA
Hexagon head bolt Best class M4X30-6g 4T A2J (Trivalent) Full thread
WASHER
2
11 KXF0DY0GA00 WSSB13-6-3
M58
-
-
( KKXFX036BA00-05 )