00193786-02 - 第36页
S I P L A C E G EM S W V e r s i on G EM 505 . 03 SP 1 H O S T I n t e r f a c e M anua l P age 36 o f 241 ©S i e m en s A G, a ll r i gh t s r e s e r v ed V a r i ab l e Na m e V I D { X E „ I N IT C O N T R O L S T A …

SIPLACE GEM SW Version GEM 505.03 SP1 HOST Interface Manual
©Siemens AG, all rights reserved page 35 of 241
{ XE Off-Line/HOST OFF-LINE }Off-Line/HOST OFF-LINE
While in this state, the SIPLACE will accept either the S1F17 (Go Online), or the S1F13
(Connect Request) message. When in this state, the operator has allowed the Host to
put the Equipment On-Line, but the Host has not yet done so, or the Host has just put the
Equipment Off-Line by sending {XE "S1F15"}S1F15. The Host may request for the
Equipment to come On-Line by sending the S1F17 Go Online message. The Operator
can not put the Equipment On-Line from this state.
The S1F13/S1F14 messages are used to maintain the Communications Finite State
Machine. All messages (except S1F13 and S1F17) received will be replied to with the
SnF0 ABORT message. The Equipment will not send any primary messages except for
S1F13 when necessary to establish communications, and the S9F1 and S9F9 messages
for SECS errors.
{ XE Off-Line/ATTEMPT ON-LINE }Off-Line/ATTEMPT ON-LINE
The Operator has requested that the Equipment go On-Line, causing the transition to this
state. SIPLACE sends a single S1F1, indicating its desire to go On-Line. When either a
transmission failure (here, T3 or RTY errors) occurs, or a successful reply to the S1F1
has been received, a transmission is made out of this state.
{XE "LOCAL"}On-Line/LOCAL
The local operator has control of the SIPLACE.
The only possibility of controling processing is sending RemoteStop {XE "S2F41 "}S2F41
to equipment. Other Remote Commands will be rejected with 0x40 by equipment.In
LOCAL mode, the Equipment continues to send Event and Alarm reports to the Host.
The Host can monitor operations, but cannot control processing, despite RemoteStop.
However, the Host can still exert "controls" other than {XE "S2F41 "}S2F41 which do not
directly affect processing. For example, the Host can enable/disable Alarms and set the
Clock.
{XE "REMOTE "}On-Line/REMOTE
The remote Host Computer has control of the SIPLACE using {XE "S2F41 "}S2F41
(Remote Command).
Power Up{XE "Power Up"}
At Power Up, the Equipment Constant {XE "INITCONTROLSTATE
"}INITCONTROLSTATE (VID 1002005) controls whether ControlState is initialized to
{XE "ONLINE "}ONLINE or {XE "OFFLINE"}OFFLINE. Within the Off-Line super-state,
the Equipment Constant {XE "OFFLINSUBSTATE "}OFFLINESUBSTATE (VID
1002010) controls whether the Control State defaults to:
1 = Equipment Off-Line
2 = Host Off-Line
3 = Attempt On-Line
If INITCONTROLSTATE (VID 1002005) initializes to On-Line, the variable {XE
"ONLINESUBSTATE "}ONLINESUBSTATE (VID 1002009) determines whether
the default state is:
4 = Local
5 = Remote
3.2.4 Related Variables
The following table lists the variables (SV's, EC's, or DVVALS) which are relevant to the
Control State. For a more complete description of these variables, see "Appendix A --
Variables".

SIPLACE GEM SW Version GEM 505.03 SP1 HOST Interface Manual
Page 36 of 241 ©Siemens AG, all rights reserved
Variable Name VID
{XE
„INITCONTROLSTATE“}INITCONTROLSTA
TE
1002005
{XE
„OFFLINESUBSTATE“}OFFLINESUBSTAT
E
1002010
{XE „ONLINEFAILED“}ONLINEFAILED
1002008
{XE
„ONLINESUBSTATE“}ONLINESUBSTATE
1002009
{XE „CONTROLSTATE“}CONTROLSTATE
1002006
{XE
„PREVIOUSCONTROLSTATE“}PREVIOUS
CONTROLSTATE
1002007
3.2.5 Related Events
The following lists the collection events (CEIDs) which are relevant to the Control State.
For a more complete description of these events, see "Appendix B -- Collection Events"
or the description in this chapter.
Collection Event CEID
{XE
„GemControlStateLOCAL“}GemControlState
LOCAL
1000003
{XE
„GemControlStateREMOTE“}GemControlSt
ateREMOTE
1000004
{XE
„GemEquipmentOFFLINE“}GemEquipment
OFFLINE
1000005
3.2.6 Restriction
Only RemoteStart and RemoteStop are available in this stage. Other Remote
Commands will be available in a later version.

SIPLACE GEM SW Version GEM 505.03 SP1 HOST Interface Manual
©Siemens AG, all rights reserved page 37 of 241
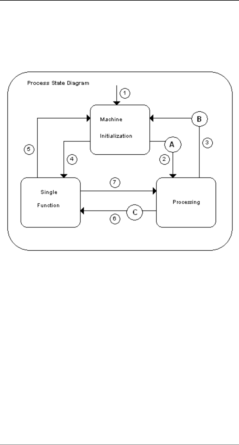
3.3 Process States
The Process State Diagram illustrates in detail the processing at the SIPLACE.
In some state transitions there will be an intermediate state (A, B, C) for a short time (see
charpter intermediate states).