KE-1070使用说明书 - 第309页
第 1 部 基本篇 第 4 章 制作生产程序 4) BOC 标记位置 输入由基板原点 到各 BOC 标记的中 心位置的尺寸,进 行标记形状的示教。 BOC 标记需要 2 点或 3 点。 有关示教方法, 请参见“第 1 部 第 4 章 4-5-2 示教”。 输入 X 、 Y 坐标。 选择此 处,用 HOD 示教标记形状。 ◆使用 2 点时: 可修正设计尺寸和实际尺 寸 ( 测量 尺寸 ) 的差及旋 转方向的误 差。 请将第 3 点留为空白…

第 1 部 基本篇 第 4 章 制作生产程序
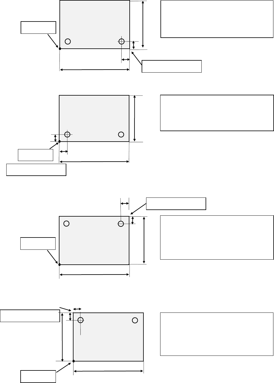
例) 以下是将左下角定为基板原点时(单位为 mm)的例子。
① 前面基准、L→R 时:
② 前面基准、R→L 时:
5
③ 后面基准、L→R 时
④ 后面基准、R→L 时
基板外形尺寸 X=165 Y=125
定位孔位置 X=5 Y=120
基板设计偏移量 X=0 Y=125
基板原点
5
5
165
125
基板设计端点
基板外形尺寸 X=165 Y=125
定位孔位置 X=160 Y=5
基板设计偏移量 X=165 Y=0
基板原点
基板设计端点
125
5
5
165
基板外形尺寸 X=165 Y=125
定位孔位置 X=5 Y=5
基板设计偏移量 X=0 Y=0
基板原点
基板设计端点
125
165
5
5
基板外形尺寸 X=165 Y=125
定位孔位置 X=160 Y=120
基板设计偏移量 X=165 Y=125
基板原点
5
基板设计端点
5
125
165
4-14

第 1 部 基本篇 第 4 章 制作生产程序
4) BOC 标记位置
输入由基板原点到各BOC标记的中心位置的尺寸,进行标记形状的示教。
BOC标记需要2点或3点。
有关示教方法,请参见“第1部 第4章 4-5-2 示教”。
输入 X、Y 坐标。 选择此处,用 HOD 示教标记形状。
◆使用2点时: 可修正设计尺寸和实际尺寸(测量尺寸)的差及旋转方向的误差。
请将第3点留为空白。另外,当基板上存在多个标记时,在顾及所有贴片范围
的同时,选择对角线上的2点。
◆使用3点时: 在2点时的基础上,还可修正X、Y轴的直角度的倾斜。
注意
当有标记坐标的设计值(CAD 数据)时,绝对不要进行 X、Y 坐标的示教。
否则所有的贴片坐标将偏离设计值。
注意
为避免人身伤害,示教时切勿将手放入装置内部,也不要将脸和头靠近
装置。
5) 坏板标记位置
单电路板无需设置(不能设置)。
4-15

第 1 部 基本篇 第 4 章 制作生产程序
6) 基板高度
输入从传送基准面(基准高度。此处为Z轴的“0”位置。)到基板表面的高度。因此通常输入
“0.00”(初始值)。
“使用夹具时”要输入“+t”的值,示例如下:
※ 贴片时的吸嘴高度(下降时)以基板高度为基准确定。因此,如果设置错误,将会使贴片散
乱(使元件脱落,或过分挤压贴片面)。
●一般情况 ●使用夹具时
传送基准面 = 基板表面的高度 传送基准面 基板表面的高度
7) 基板厚度
输入基板厚度。该值用于决定基板定中心时支撑台上升的高度。
※ 如果设置错误,有可能导致支撑销过渡挤压基板,从而损坏基板,或使支撑销够不着基板,
使贴片不匀。
8) 背面高度
输入基板背面贴片元件中最高元件的高度(两面贴片时,背面元件不干扰支撑销的值)。
该值将决定生产时支撑台的待机高度。
若该值过小,则由于支撑台的移动距离短,会使生产节拍加快(在5mm与40mm差值最大时,
约差为0.25秒)。
※ 如果输入比元件背面高度小的值,则在基板传送时支撑销会接触到元件,因此请务必输入
比背面元件高度大的值。
+
t
若不输入 t,在元件贴片时会挤进贴片
面以内(多进入深度 t),容易损坏元件。
夹具(托盘)
基板厚度
背面高度
<从装置左侧看到的传送图>
背面高度最高的元件
4-16