KE-1070使用说明书 - 第351页
第 1 部 基本篇 第 4 章 制作生产程序 < 使用抓取吸嘴 时 的设置项目 > 除上述“吸嘴数 据”外,抓取吸嘴的 下述设置与通常的元 件不同。 i) 使用新抓取吸嘴 时,先通过“机器设 置”中的“文件” / “ 吸嘴数据读出 ” ,从 FD 读入 抓取吸嘴 的信息。 ii) 将吸嘴安装 到 AT C 上。 将抓取吸嘴 安装到 AT C 单元上, 从正面看, 抓取吸嘴的固 定臂应在后面 , 摇臂应在 近前。 iii) 设…

第 1 部 基本篇 第 4 章 制作生产程序
13)吸嘴数据
是用于设置夹持吸嘴的项目(选项)。
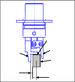
① 抓取位置: “Y”项,输入元件中心与夹持吸嘴固定侧手臂抓取面中心的偏移值(见
图 1-a),要输入负数(-a)。但“X”项只可输入 0,不可输入其他
数据。
② 水平间隙: 抓取吸嘴固定侧手臂的抓取面与元件之间的间隙(见图 1b),要输入
负数(-b)。吸嘴型号、吸嘴方向不同移动方向不同,必须注意。
通常设置自动输入的默认值。
③ 吸着时的吸嘴方向:指的是,以0度状态供应的元件吸着时的吸嘴方向。请指定0度、90
度、180 度、270 度中的一项。
④ 吸取高度调整: 吸取时吸取高度的偏移值(c 与元件上底面之间的间隙)。
通常,为了将元件保持水平,设为-0.5mm。
a
b
元件
c
固定臂
图 1
摇 臂
4-56

第 1 部 基本篇 第 4 章 制作生产程序
<使用抓取吸嘴时的设置项目>
除上述“吸嘴数据”外,抓取吸嘴的下述设置与通常的元件不同。
i) 使用新抓取吸嘴时,先通过“机器设置”中的“文件”/“吸嘴数据读出”,从 FD 读入
抓取吸嘴的信息。
ii) 将吸嘴安装到 ATC 上。
将抓取吸嘴安装到 ATC 单元上,从正面看,抓取吸嘴的固定臂应在后面,摇臂应在近前。
iii) 设置元件数据。
a. 设置吸嘴编号
吸嘴编号为 800 多号。
b. 设置激光高度
指定从固定臂前端到激光面的距离。
设置基准:—(元件高度-3.5mm
※
)/2,根据引脚
位置进行微调。
※ 图 1 的 c 至固定臂的距离=3.5mm
例:元件高度为 5mm 时
-(5-3.5)/2=-0.75mm
iv)设置吸取数据。
XY与通常的示教方法相同。由于Z是利用在机器设置中登录的吸嘴信息与元件高度自动计算
的,因此无需示教。
图 4-3-5-2-4-3
图 4-3-5-2-4-4
800
4-57

第 1 部 基本篇 第 4 章 制作生产程序
4-3-5-2-5 详述(扩展)
注意
如果在变更详述项目后变更了基本部分项,详述的值有可能
恢复为默认值。
图 4-3-5-2-5-1 元件数据(详述)
1) “XY”、“ 吸 取 Z 下降/上升”、“贴片 Z 下降/上升”
设置XY、Z轴移动时的速度。
设为中速或低速时运行稳定,但速度变慢。
2) θ轴
设置吸嘴在吸取元件状态下的θ轴速度。
① 测量时(选择激光定中心时)
设置激光识别时θ轴的加速度。
② 测量外(选择激光定中心时)
设置激光识别以外(激光定中心后的贴片角度的旋转等)的θ轴的加速度。
4-58