MVIIF Parts list-Mechanical20101207 - 第102页
部品供給部( 共通部3) FEEDER CARR IAGE SECT.(COM MON SECT.-3) 9 F10266-50-500-AN-3 M81

イラスト
No.
REF
No.
PART No.
PART NAME
REMARKS
Q'TY
9
部品供給部(共通部2)
FEEDER CARRIAGE SECT.(COMMON SECT.-2)
部 品 名 品 番 個数
備 考
512 1 102305001203
BRACKET(PH) ブ
ラケット(PH)
513
1
102305001302
BRACKET(PH) ブラケット(PH)
514
1
102300701302
BRACKET(PH) ブラケット(PH)
515 1 102305001502
BRACKET(PH) フ
゙ラケット(PH)
516 1 1023050016
BRACKET(SENSOR) ブラケット
(センサ)
520
2
1025813006
BRACKET ブラケット
521
2
1022407005
FLANGE フランジ
522 2 102104002002
PLATE フ
゚レート
523 2 1025850523
MOTOR モータ
524
1
1023050024
BALL SCREW ボールネジ
532 2 1022413064
BLOCK(STOPPER) ブロック(ストッパ)
533 2 1017329066
STOPPER ストッハ
゚ー
538
4
102102004801
BRACKET ブラケット
N52
4
N310P921
SENSOR センサ P921
N53 10 N310P921AA
SENSOR フォトマイクロセンサ P921A-A
N56 2 N645MA40
COUPLING カッフ
゚リング
MA-40
N57
4
N2383610-044
FAN WITH MOTOR ファンモータ 3610PS-10T-B30-B02
M82
F10266-50-500-AN-2

部品供給部(共通部3)
FEEDER CARRIAGE SECT.(COMMON SECT.-3)
9
F10266-50-500-AN-3
M81

イラスト
No.
REF
No.
PART No.
PART NAME
REMARKS
Q'TY
9
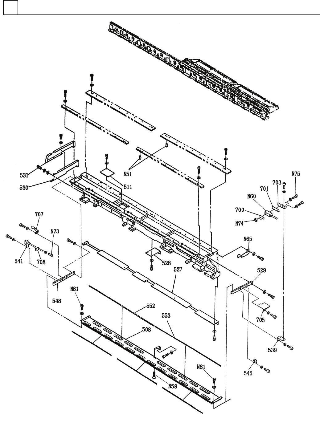
部品供給部(共通部3)
FEEDER CARRIAGE SECT.(COMMON SECT.-3)
部 品 名 品 番 個数
備 考
508 1 104275015101
DUST BOX ダ
ストボックス
511
1
1021040010
COVER カバー
527
1
102665052702
DOG FOR SENSOR センサドグ
528 1 1023050028
DOG FOR SENSOR センサト
゙グ
529 1 1045250029
PLATE プレート
530
1
102305003002
DUCT ダクト
531
1
102305003102
COVER(DUCT) カバー(ダクト)
539 1 1045250039
BRACKET(SENSOR) ブ
ラケット(センサ)
541 1 104285038601
BRACKET ブラケット
545
1
102300704901
BRACKET(CONNECTOR) ブラケット(コネクタ)
548 1 1045250045
PLATE プレート
552 1 1023050052
STOPPER ストッハ
゚ー
553
1
1023050053
STOPPER ストッパー
700
1
104285037901
PLATE プレート
701 1 1042850393
PLATE プレート
703 1 1042850395
BRACKET フ
゙ラケット
705
1
1042850388
COVER カバー
707
1
104285039001
COVER カバー
708 1 1042850396
BRACKET ブラケット
N51 2 XPJ8A16FW
PARALLEL PIN ヘイコウヒ
゚ン
8X16,m6A,STEEL
N59
1
N986YYYY-161
BOLT ロッカクアナツキサラボルト M3X8
N60
1
N310P915RS
SWITCH スイッチ P915R-S
N61 4 XVEN4M8FYZ
HEX. SOCKET BUTTON HEAD BOL ロッカクアナツキホ
゙タンボルト
M4X8,STEEL,Z.C.T
N65 1 N980A10682
DRAWER PULL トッテ A-1068-2
N73
2
N986YYYY-686
SCREW ネジ(ゴクテイトウロッカクアナツキ) M4X6
N74 2 XNG4CFY
HEXAGON NUT ロッカクナット M4,3-TYPE,STEEL,Z.C.T
N75 2 XVEN4B30FPZ
HEX. SOCKET HEAD CAP BOLT ロッカクアナツキホ
゙ルト
M4X30,STEEL,P.C
M82
F10266-50-500-AN-3