MVIIF Parts list-Mechanical20101207 - 第114页
部品供給部( 安全カバー部 3) FEEDER CARR IAGE SECT.(SAF ETY COVER SE CT.-3) 9 F10427-51-000-AM_A -3 M93

イラスト
No.
REF
No.
PART No.
PART NAME
REMARKS
Q'TY
9
部品供給部(安全カバー部2)
FEEDER CARRIAGE SECT.(SAFETY COVER SECT.-2)
部 品 名 品 番 個数
備 考
3 2 104275100302
FRAME フレーム
6
1
1042751006
SAFETY GUARD アンゼンガード
9
1
1042751009
BRACKET ブラケット
11 1 104275101101
FRAME フレーム
14 1 104275101401
COVER カハ
゙ー
18
1
1042751018
PLATE プレート
24
1
104275102401
BRACKET ブラケット
35 1 104275103505
RAIL レール
37 1 104275103703
RAIL レール
53
3
1042751053
BRACKET ブラケット
54 1 1042751054
BRACKET ブラケット
58 1 1042751058
BRACKET フ
゙ラケット
61
2
1042751061
STOPPER ストッパー
64
1
104275106402
STOPPER ストッパー
66 3 1042751066
NUT ナット
67 3 1042751067
NUT ナット
68
2
104275106802
STOPPER ストッパー
91
2
1042751091
PLATE プレート
N 1 1 N300AZ15-013
SWITCH スイッチ AZ15ZVR-1747
N 3 1 N30025011
CONNECTOR コネクタ 250/11
N 7
24
XST5+8FY
TRUSS HEAD SCREW トラスコネジ M5X8,+,STEEL,Z.C.T
N14
15
N982TM7539
ADHESIVE SHEET セッチャクシート TM-182-7539
N29 16 XWC5BFY
TOOTHED LOCK WASHER ハツキサ
゙ガネ
5,B-TYPE,STEEL,Z.C.T
M94
F10427-51-000-AM_A-2

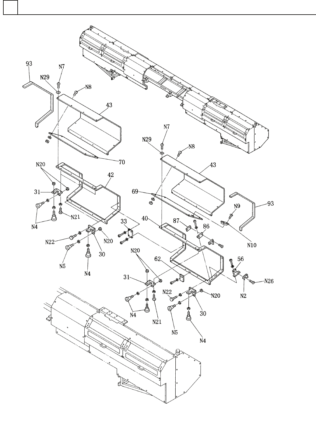
部品供給部(安全カバー部3)
FEEDER CARRIAGE SECT.(SAFETY COVER SECT.-3)
9
F10427-51-000-AM_A-3
M93

イラスト
No.
REF
No.
PART No.
PART NAME
REMARKS
Q'TY
9
部品供給部(安全カバー部3)
FEEDER CARRIAGE SECT.(SAFETY COVER SECT.-3)
部 品 名 品 番 個数
備 考
30 3 1042751030
BRACKET フ
゙ラケット
31
3
1042751031
BRACKET ブラケット
33
1
1042751033
BRACKET ブラケット
40 1 104275104002
FRAME フレーム
42 1 104275104201
FRAME フレーム
43
2
104275104302
COVER(DOOR) カバー(ドア)
56
1
1042751056
BRACKET ブラケット
62 1 1042751062
PLATE フ
゚レート
69 1 104275106901
PLATE プレート
70
1
104275107001
PLATE プレート
86 1 1042777711
BRACKET ブラケット
87 1 1042777712
NUT ナット
93
2
1042751093
COVER カバー
N 2
1
N300ACTU-015
ACTUATOR アクチュエータ ACTUATORB1-1747
N 4 9 N648DR22B2
BEARING ベアリング DR-22-B2
N 5 3 N648DR22B6
BEARING ベ
アリング
DR-22-B6
N 7
26
XST5+8FY
TRUSS HEAD SCREW トラスコネジ M5X8,+,STEEL,Z.C.T
N 8
14
XST5+10FY
TRUSS HEAD SCREW トラスコネジ M5X10,+,STEEL,Z.C.T
N 9 4 XSS3+8FY
FLUSH HEAD SCREW サラコネジ M3X8,+,STEEL,Z.C.T
N10 1 N980A11592
DRAWER PULL トッテ A-1159-2
N20
12
XNG6FFY
HEXAGON NUT ロッカクナット M6,3-TYPE,STEEL,Z.C.T
N21
6
XVEN5M10FYZ
HEX. SOCKET BUTTON HEAD BOL ロッカクアナツキボタンボルト M5X10,STEEL,Z.C.T
N22 6 XVG5B10FY4
HEXAGON HEAD BOLT ロッカクホ
゙ルト
M5X10,STEEL,Z.C.T,4T
N26 2 XSS4+10FY
FLUSH HEAD SCREW サラコネシ
゙
M4X10,+,STEEL,Z.C.T
N29
14
XWC5BFY
TOOTHED LOCK WASHER ハツキザガネ 5,B-TYPE,STEEL,Z.C.T
M94
F10427-51-000-AM_A-3