MVIIF Parts list-Mechanical20101207 - 第118页
部品供給部( 安全カバー部 5) FEEDER CARR IAGE SECT.(SAF ETY COVER SE CT.-5) 9 F10427-51-000-AM_A -5 M93

イラスト
No.
REF
No.
PART No.
PART NAME
REMARKS
Q'TY
9
部品供給部(安全カバー部4)
FEEDER CARRIAGE SECT.(SAFETY COVER SECT.-4)
部 品 名 品 番 個数
備 考
4 1 104275100402
FRAME フレーム
12
1
104275101202
COVER カバー
15
1
104275101501
COVER カバー
19 2 104275101902
PLATE フ
゚レート
21 1 104275102102
BRACKET ブラケット
22
1
104275102203
FRAME フレーム
27
1
104275102705
FRAME フレーム
38 1 104275103801
COVER カハ
゙ー
55 1 1042751055
BRACKET ブラケット
59
2
1042751059
NUT ナット
73 2 104275107303
COVER カバー
74 2 104275107401
PLATE フ
゚レート
75
2
104275107501
FRAME フレーム
76
2
104275107601
FRAME フレーム
79 1 1042751079
RIGHT FRAME フレーム(RIGHT)
81 1 1042751281
BRACKET フ
゙ラケット
82
1
1042751282
BRACKET ブラケット
83
2
1042751083
BRACKET ブラケット
84 2 1042751084
BRACKET ブラケット
92 4 1042751092
COVER カハ
゙ー
N 1
3
N300AZ15-013
SWITCH スイッチ AZ15ZVR-1747
N 2
2
N300ACTU-015
ACTUATOR アクチュエータ ACTUATORB1-1747
N 3 3 N30025011
CONNECTOR コネクタ 250/11
N 7 46 XST5+8FY
TRUSS HEAD SCREW トラスコネシ
゙
M5X8,+,STEEL,Z.C.T
N11
4
N980B2020
HINGE チョウバン B-202-0
N12 4 N980B12232
STAY ステー B-1223-2
N13 2 N980A1042B6
DRAWER PULL トッテ A-1042-B-6
N15
4
XSS5+6FY
FLUSH HEAD SCREW サラコネジ M5X6,+,STEEL,Z.C.T
N16
16
XSS3+5FY
FLUSH HEAD SCREW サラコネジ M3X5,+,STEEL,Z.C.T
N17 12 XST3+8FY
TRUSS HEAD SCREW トラスコネジ M3X8,+,STEEL,Z.C.T
N24 1 N982TL1073
CATCH キャッチ TL-91-1(1073)
N26
2
XSS4+10FY
FLUSH HEAD SCREW サラコネジ M4X10,+,STEEL,Z.C.T
N29
30
XWC5BFY
TOOTHED LOCK WASHER ハツキザガネ 5,B-TYPE,STEEL,Z.C.T
N30 1 N224LE102NG
SIGNAL LIGHT シグナルライト LE-102N-G
V 1 1 N224LE10-310
LED UNIT LED
ショウメイ
LE-102TYPE LED,GREEN
V 2
1
N224LE10-311
GLOBE グローブ LE-102 GLOBE,GREEN
M94
F10427-51-000-AM_A-4

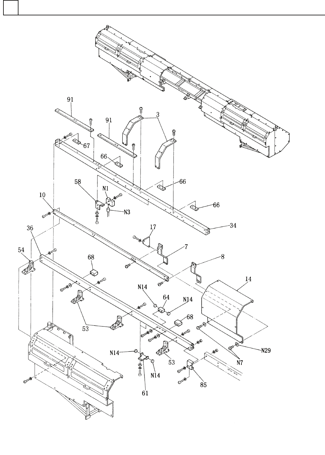
部品供給部(安全カバー部5)
FEEDER CARRIAGE SECT.(SAFETY COVER SECT.-5)
9
F10427-51-000-AM_A-5
M93

イラスト
No.
REF
No.
PART No.
PART NAME
REMARKS
Q'TY
9
部品供給部(安全カバー部5)
FEEDER CARRIAGE SECT.(SAFETY COVER SECT.-5)
部 品 名 品 番 個数
備 考
3 2 104275100302
FRAME フレーム
7
1
1042751007
BAR バー
8
1
1042751008
BRACKET ブラケット
10 1 104275101001
FRAME フレーム
14 1 104275101401
COVER カハ
゙ー
17
1
1042751017
PLATE プレート
34
1
104275103404
RAIL レール
36 1 104275103603
RAIL レール
53 3 1042751053
BRACKET ブラケット
54
1
1042751054
BRACKET ブラケット
58 1 1042751058
BRACKET ブラケット
61 2 1042751061
STOPPER ストッハ
゚ー
64
1
104275106402
STOPPER ストッパー
66
3
1042751066
NUT ナット
67 3 1042751067
NUT ナット
68 2 104275106802
STOPPER ストッハ
゚ー
85
1
1042751285
PLATE プレート
91
2
1042751091
PLATE プレート
N 1 1 N300AZ15-013
SWITCH スイッチ AZ15ZVR-1747
N 3 1 N30025011
CONNECTOR コネクタ 250/11
N 7
24
XST5+8FY
TRUSS HEAD SCREW トラスコネジ M5X8,+,STEEL,Z.C.T
N14
15
N982TM7539
ADHESIVE SHEET セッチャクシート TM-182-7539
N29 16 XWC5BFY
TOOTHED LOCK WASHER ハツキサ
゙ガネ
5,B-TYPE,STEEL,Z.C.T
M94
F10427-51-000-AM_A-5