MVIIF Parts list-Mechanical20101207 - 第119页
イラスト No. REF No. PART No. PART NAME REMAR KS Q'TY 9 部品供給部( 安全カバー部 5) FEEDER CARR IAGE SECT.(SAF ETY COVER SE CT.-5) 部 品 名 品 番 個数 備 考 3 2 104275100302 FRAME フレーム 7 1 1042751007 BAR バー 8 1 1042751008 BRACKET ブラケット …

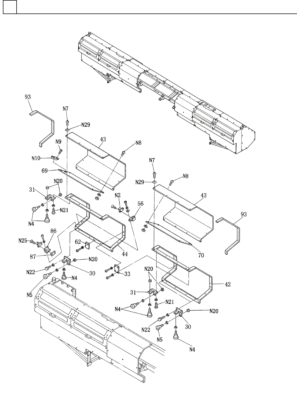
部品供給部(安全カバー部5)
FEEDER CARRIAGE SECT.(SAFETY COVER SECT.-5)
9
F10427-51-000-AM_A-5
M93

イラスト
No.
REF
No.
PART No.
PART NAME
REMARKS
Q'TY
9
部品供給部(安全カバー部5)
FEEDER CARRIAGE SECT.(SAFETY COVER SECT.-5)
部 品 名 品 番 個数
備 考
3 2 104275100302
FRAME フレーム
7
1
1042751007
BAR バー
8
1
1042751008
BRACKET ブラケット
10 1 104275101001
FRAME フレーム
14 1 104275101401
COVER カハ
゙ー
17
1
1042751017
PLATE プレート
34
1
104275103404
RAIL レール
36 1 104275103603
RAIL レール
53 3 1042751053
BRACKET ブラケット
54
1
1042751054
BRACKET ブラケット
58 1 1042751058
BRACKET ブラケット
61 2 1042751061
STOPPER ストッハ
゚ー
64
1
104275106402
STOPPER ストッパー
66
3
1042751066
NUT ナット
67 3 1042751067
NUT ナット
68 2 104275106802
STOPPER ストッハ
゚ー
85
1
1042751285
PLATE プレート
91
2
1042751091
PLATE プレート
N 1 1 N300AZ15-013
SWITCH スイッチ AZ15ZVR-1747
N 3 1 N30025011
CONNECTOR コネクタ 250/11
N 7
24
XST5+8FY
TRUSS HEAD SCREW トラスコネジ M5X8,+,STEEL,Z.C.T
N14
15
N982TM7539
ADHESIVE SHEET セッチャクシート TM-182-7539
N29 16 XWC5BFY
TOOTHED LOCK WASHER ハツキサ
゙ガネ
5,B-TYPE,STEEL,Z.C.T
M94
F10427-51-000-AM_A-5

部品供給部(安全カバー部6)
FEEDER CARRIAGE SECT.(SAFETY COVER SECT.-6)
9
F10427-51-000-AM_A-6
M93