MVIIF Parts list-Mechanical20101207 - 第125页
イラスト No. REF No. PART No. PART NAME REMAR KS Q'TY 9 部品供給部( 安全カバー部 8) FEEDER CARR IAGE SECT.(SAF ETY COVER SE CT.-8) 部 品 名 品 番 個数 備 考 29 3 1042751029 BRACKET フ ゙ラケット 32 3 1042751032 BRACKET ブラケット 33 1 1042751033 BR…

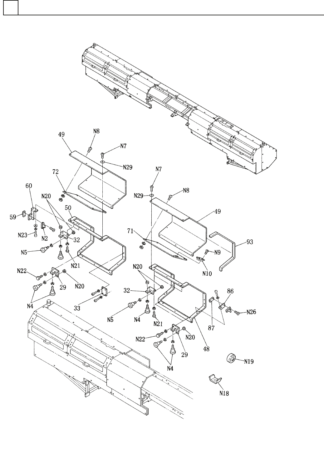
部品供給部(安全カバー部8)
FEEDER CARRIAGE SECT.(SAFETY COVER SECT.-8)
9
F10427-51-000-AM_A-8
M93

イラスト
No.
REF
No.
PART No.
PART NAME
REMARKS
Q'TY
9
部品供給部(安全カバー部8)
FEEDER CARRIAGE SECT.(SAFETY COVER SECT.-8)
部 品 名 品 番 個数
備 考
29 3 1042751029
BRACKET フ
゙ラケット
32
3
1042751032
BRACKET ブラケット
33
1
1042751033
BRACKET ブラケット
48 1 104275104803
FRAME フレーム
49 2 104275104902
COVER(DOOR) カバー
(ドア)
50
1
104275105003
FRAME フレーム
59
1
1042751059
NUT ナット
60 1 1042751060
BRACKET フ
゙ラケット
71 1 104275107101
PLATE プレート
72
1
104275107201
PLATE プレート
86 1 1042777711
BRACKET ブラケット
87 1 1042777712
NUT ナット
93
1
1042751093
COVER カバー
N 2
1
N300ACTU-015
ACTUATOR アクチュエータ ACTUATORB1-1747
N 4 9 N648DR22B2
BEARING ベアリング DR-22-B2
N 5 3 N648DR22B6
BEARING ベ
アリング
DR-22-B6
N 7
48
XST5+8FY
TRUSS HEAD SCREW トラスコネジ M5X8,+,STEEL,Z.C.T
N 8
14
XST5+10FY
TRUSS HEAD SCREW トラスコネジ M5X10,+,STEEL,Z.C.T
N 9 4 XSS3+8FY
FLUSH HEAD SCREW サラコネジ M3X8,+,STEEL,Z.C.T
N10 1 N980A11592
DRAWER PULL トッテ A-1159-2
N18
30
N348TM3S25
FITTING トリツケカナグ TM3S25
N19
1
N986N051-466
ADHESIVE TAPE ネンチャクテープ #5104A 20mm
N20 12 XNG6FFY
HEXAGON NUT ロッカクナット M6,3-TYPE,STEEL,Z.C.T
N21 6 XVEN5M10FYZ
HEX. SOCKET BUTTON HEAD BOL ロッカクアナツキホ
゙タンボルト
M5X10,STEEL,Z.C.T
N22
6
XVG5B10FY4
HEXAGON HEAD BOLT ロッカクボルト M5X10,STEEL,Z.C.T,4T
N23 4 N986YYYY-469
SCREW ネジ(ゴクテイトウロッカクアナツキ) M5X8
N26 2 XSS4+10FY
FLUSH HEAD SCREW サラコネシ
゙
M4X10,+,STEEL,Z.C.T
N29
32
XWC5BFY
TOOTHED LOCK WASHER ハツキザガネ 5,B-TYPE,STEEL,Z.C.T
M94
F10427-51-000-AM_A-8

部品供給部 (専用部) <75X2 Kタイプ>
FEEDER CARRIAGE SECT. (EXCLUSIVE SECT.)
9
F10427-50-100-AE
M109