MVIIF Parts list-Mechanical20101207 - 第127页
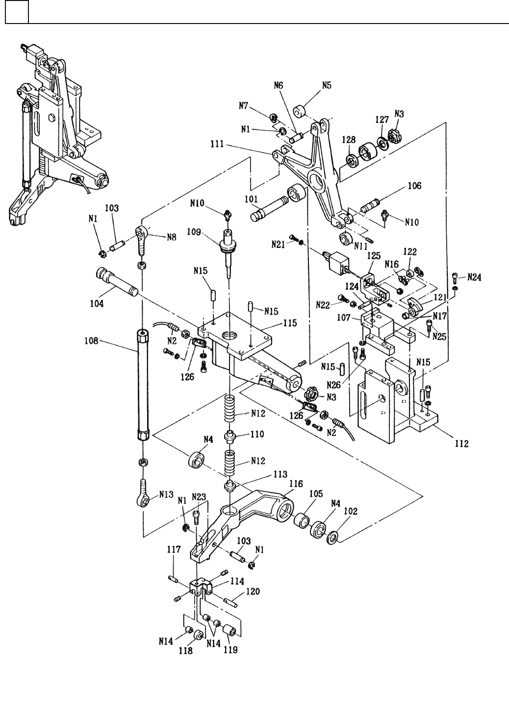
イラスト No. REF No. PART No. PART NAME REMAR KS Q'TY 9 部品供給部 (専用部) <75X2 K タイプ> FEEDER CARR IAGE SECT. (EX CLUSIVE SECT .) 部 品 名 品 番 個数 備 考 1 1042750100 FEEDER CARRIA GE UNIT ブヒンキョウキュウユニット 105 1 102667816105 RE…

部品供給部 (専用部) <75X2 Kタイプ>
FEEDER CARRIAGE SECT. (EXCLUSIVE SECT.)
9
F10427-50-100-AE
M109

イラスト
No.
REF
No.
PART No.
PART NAME
REMARKS
Q'TY
9
部品供給部 (専用部) <75X2 Kタイプ>
FEEDER CARRIAGE SECT. (EXCLUSIVE SECT.)
部 品 名 品 番 個数
備 考
1 1042750100
FEEDER CARRIAGE UNIT ブヒンキョウキュウユニット
105
1
102667816105
REEL HOLDER(L) リールホルダ(L)
106
1
102667816205
REEL HOLDER(R) リールホルダ(R)
109 2 104275050901
SUPPORTER サホ
゚ーター
112 2 102305011201
PLATE プレート
113
2
1023050113
PLATE プレート
114
2
102305011401
PLATE プレート
115 2 102305011502
PLATE フ
゚レート
116 1 1022450056
NUMBER LABEL ナンバ
ーラベル
117
1
1022450057
NUMBER LABEL ナンバーラベル TYPE 150
118 1 1022450110
NUMBER LABEL ナンバーラベル
119 1 1022450111
NUMBER LABEL ナンハ
゙ーラベル
120
2
1026650120
PLATE プレート
121
2
1026650121
PLATE プレート
122 2 1026650122
PLATE プレート
123 2 1026650123
PLATE フ
゚レート
124
12
102587855001
GUIDE ガイド P=21.5
125
4
1025878551
GUIDE ガイド
M110
F10427-50-100-AE

フィード部(MK用)
FEED SECT.(MK TYPE)
10
F10427-16-100-AH-1
M111