MVIIF Parts list-Mechanical20101207 - 第133页
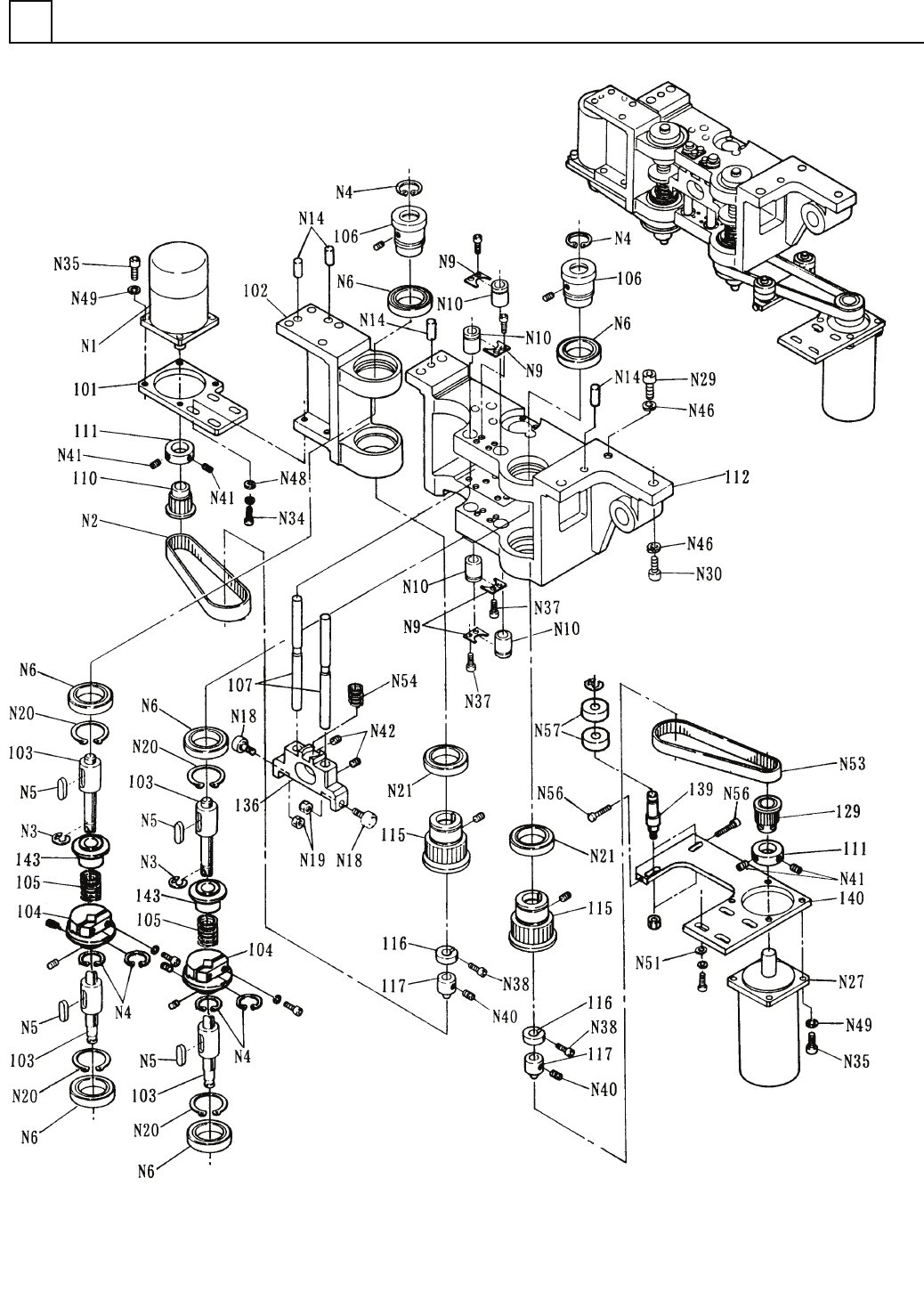
イラスト No. REF No. PART No. PART NAME REMAR KS Q'TY 11 ノズル θ回転部(1) NOZZLE THET A ROTARY SECT. (1) 部 品 名 品 番 個数 備 考 1 1042717100 NOZZLE ROTARY UNIT ノズ ルカイテンユニット 101 1 1042717101 PLATE プレート 102 1 104271710202 BRACKET…

ノズルθ回転部(1)
NOZZLE THETA ROTARY SECT.(1)
11
F10427-17-100-AK_A-1
M115

イラスト
No.
REF
No.
PART No.
PART NAME
REMARKS
Q'TY
11
ノズルθ回転部(1)
NOZZLE THETA ROTARY SECT.(1)
部 品 名 品 番 個数
備 考
1 1042717100
NOZZLE ROTARY UNIT ノズ
ルカイテンユニット
101
1
1042717101
PLATE プレート
102
1
104271710202
BRACKET ブラケット
103 2 104271710303
BALL SPLINE ホ
゙ールスプライン
104 2 104277748902
COLLAR カラー
105
2
1042777487
SPRING バネ
106
2
102811700601
BUSHING ブッシング
107 2 104271710701
SHAFT リニアシャフト
110 1 1042717110
PULLEY(TIMING) プーリー(
タイミング)
111
2
1042717111
BOSS ボス
112 1 104271711206
BRACKET ブラケット
115 2 104271711501
PULLEY(TIMING) プーリー
(タイミング)
116
2
1025826224
STOPPER ストッパー
117
2
104271711703
TOOTH ツース
129 1 1042717129
PULLEY(TIMING) プーリー(タイミング)
136 1 104277935402
SLIDER スライタ
゙
139
2
1042717139
PIN ピン
140
1
1042717140
PLATE プレート
143 2 1042777488
GUIDE(SPRING) ガイド(スプリング)
N 1 1 MSM021A7A
MOTOR モータ MSM021A7A
N 2
1
N6413513GT15
BELT(TIMING) ベルト(タイミング) 351-3GT-15
N 3
4
XUC7FP
RETAINING RING E-TYPE E ガタトメワ 7,STEEL,P.C
N 4 6 XUAN1RTW19
RETAINING RING C-TYPE, CORE C カ
゙タアナヨウトメワ
IRTW-19
N 5 4 N986KES320
KEY キー KES3-20
N 6
6
XLBN6806VV
BALL BEARING ボールベアリング 6806VV
N 9 4 N513LMST8
PLATE プレート LMST8
N10 4 N513LM8UU
BUSHING ブ
ッシング
LM8UU
N14
4
N986MS625
PARALLEL PIN ヘイコウピン MS6-25
N18
2
N531CFN5RA
CAM FOLLOWER カムフォロア CFN5R-A
N19 2 XNGNU5YSZ
LOCK-NUT ロックナット M5,2-TYPE,STAINLESS,STEEL,
N20 4 XUBN1STW30
RETAINING RING C-TYPE,SHAFT C カ
゙タジクヨウトメワ
ISTW-30
N21
2
XLB6906UU
BALL BEARING ボールベアリング 6906UU
N27
1
MSM042AJA
MOTOR モータ MSM042AJA
N29 1 XVE8B35FP
HEX. SOCKET HEAD CAP BOLT ロッカクアナツキボルト M8X35,STEEL,P.C
N30 6 XVE8B25FP
HEX. SOCKET HEAD CAP BOLT ロッカクアナツキホ
゙ルト
M8X25,STEEL,P.C
N34
4
XVE5B16FP
HEX. SOCKET HEAD CAP BOLT ロッカクアナツキボルト M5X16,STEEL,P.C
N35
8
XVE4B16FP
HEX. SOCKET HEAD CAP BOLT ロッカクアナツキボルト M4X16,STEEL,P.C
N37 8 XVE3B6FP
HEX. SOCKET HEAD CAP BOLT ロッカクアナツキホ
゙ルト
M3X6,STEEL,P.C
N38 2 XVE3B8FP
HEX. SOCKET HEAD CAP BOLT ロッカクアナツキホ
゙ルト
M3X8,STEEL,P.C
N40
4
XXE4C6FP
HEX. SOCKET SET SCREW ロッカクアナツキトメネジ M4X6,STEEL,P.C
N41 4 XXE4C8FP
HEX. SOCKET SET SCREW ロッカクアナツキトメネジ M4X8,STEEL,P.C
N42 2 XXE5C6FP
HEX. SOCKET SET SCREW ロッカクアナツキトメネシ
゙
M5X6,STEEL,P.C
N46
7
XWA8BFP
SPRING WASHER バネザガネ 8,2-TYPE,STEEL,P.C
N48
4
XWA5BFP
SPRING WASHER バネザガネ 5,2-TYPE,STEEL,P.C
N49 8 XWA4BFP
SPRING WASHER バネザガネ 4,2-TYPE,STEEL,P.C
N51 4 XWG5FP
ROUND PLAIN WASHER ミガ
キマルヒラザガネ
5,STEEL,P.C
N53
1
N6414563GT15
BELT(TIMING) ベルト(タイミング) 456-3GT-15
N54
1
N986SWU2135
SPRING バネ SWU21-35
N56 2 XVEN3B15FPZ
HEX. SOCKET HEAD CAP BOLT ロッカクアナツキボルト M3X15,STEEL,P.C
N57 4 XLC628ZZ
BALL BEARING ボールヘ
゙アリング
628ZZ
M116
F10427-17-100-AK_A-1

ノズルθ回転部(1)
NOZZLE THETA ROTARY SECT.(1)
11
F10427-17-100-AK_A-2
M115